ЦУи МП (1086959), страница 4
Текст из файла (страница 4)
Концепция "Общей шины" предполагает, что обращения ко всем устройствам МПС производится в едином адресном пространстве, однако, в целях расширения числа адресуемых объектов, в некоторых системах искусственно разделяют адресные пространства памяти и ВУ, а иногда даже и памяти программ и памяти данных.
Рис. 1.3 Архитектура фон-Неймана с прерыванием
ПДП (Прямой Доступ к Памяти) - второе отличие современных архитектур от машин фон-Неймана. ПДП позволяет сократить расходы на пересылку единицы информации.
Принципы устройства современных МПС
Шинная организация IBM PC
В основу архитектуры IBM PC изначально был положен принцип открытости, который стал её отличительной чертой. Основные конкуренты IBM PC в области персональных машин пришли к этому только через несколько лет после того , как указанный принцип позволил компьютерам IBM практически завоевать компьютерный рынок.
Принцип открытости, строго говоря, основывается во–первых, на чрезвычайно развитой в IBM РС системе прерываний, которая позволят «подключать» программы пользователя ко всем ресурсам системы на любом уровне, доступным пользователю, а во–вторых, на системе шин, организующей информационные потоки таким образом, что бы не только позволить пользователю подключать к ресурсам процессора свои аппаратные средства(возможно не стандартные), но и дать возможность самой архитектуре совершенствоваться и развиваться за счет введения дополнительных или новых компонентов без каких либо принципиальных изменений в организации информационных потоков.
Принципы организации открытой системы прерываний будут рассмотрены ниже в отдельном разделе, а здесь остановимся на шинной организации информационных потоков, которая берет свое начало от первой модели IBM и эволюционирует сегодня. Как вам известно, из курса «Организации ЭВМ», шину микрокомпьютера образует группа линий передачи сигналов с адресной информацией, информацией о передаваемых данных, а также управляемых сигналов. Фактически её можно разделить на три части: адресную шину, шину данных и шину управления.
Уровни этих сигналов в каждый момент времени определяют состояние всей системы в этот момент времени. Далее мы привяжем обсуждение всех этих принципов функционирования к конкретной архитектуре ЭВМ, совместимых с IBM PC AT-286 и 386. На рис. 2.1 изображено ядро гипотетической вычислительной системы, включающей, например, синхрогенератор i82284, микропроцессор i80286 и математический сопроцессор i80287, а также шинный контроллер i82288.
Кроме того, показаны три шины: адреса, данных и управляющих сигналов. Синхрогенератор генерирует тактовый сигнал CLK для синхронизации внутреннего функционирования процессора и других микросхем. Сигнал RESET производит сброс процессора в начальное состояние. Сигнал READY, также формируется с помощью синхрогенератора, предназначен для удлинения циклов шины при работе с медленными периферийными устройствами. На адресную шину, состоящую из 24 линий, микропроцессор i80286 выставляет адрес байта или слова, которые будут пересылаться по шине данных в процессор или из него. Кроме того, шина адреса используется микропроцессором для указания адресов (номеров) периферийных портов, с которыми производится обмен данными.
Шина данных состоит из 16 линий, по которым возможна передача как отдельных байтов, так и двухбайтовых слов. При пересылке байтов возможна передача отдельно как по старшим 8 линиям, так и по младшим. Шина данных двунаправлена, т.к. передача байтов и слов может производиться как в микропроцессор, так и из него. Шина управления формируется сигналами, во-первых, поступающими непосредственно от микропроцессора, во-вторых, сигналами, сформированными системным контроллером, и, в-третьих, сигналами, идущими к микропроцессору от других микросхем и периферийных адаптеров. Микропроцессор использует системный контроллер для формирования управляющих сигналов, определяющих правила переноса данных по шине. Он выставляет три сигнала S0, S1, M/IO (выводы 5, 4 и 65), которые определяют тип цикла шины (подтверждение прерывания, чтение порта ввода/вывода, запись в порт ввода/вывода, останов, чтение памяти, запись в память). На основании значений этих сигналов системный контроллер формирует управляющие сигналы, определяющие последовательность процессов данного типа цикла шины.
Для того чтобы понять динамику работы шины, разберем, каким образом процессор осуществляет чтение слова из оперативной памяти. Это происходит в течение четырех тактов CLK (тактовых импульсов на входе 31 микропроцессора), или двух внутренних состояний процессора (т.е. каждое состояние процессора длится 2 такта синхросигнала CLK). Во время первого состояния, обозначаемого как Ts, процессор выставляет на адресную шину значение адреса, по которому будет читаться слово. Кроме того, он формирует на шине совместно с шинным контроллером соответствующие значения управляющих сигналов. Эти сигналы и адрес обрабатываются схемой управления памятью, в результате чего, начиная с середины второго состояния процессора Ts (т.е. в начале четвертого такта CLK) на шине данных появляется значение содержимого соответствующего слова из оперативной памяти. И, наконец, процессор считывает значение этого слова с шины данных, На этом перенос (копирование) значения слова из памяти в процессор заканчивается.
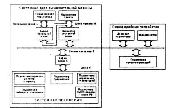
Организация системы шин L, S, X и М в компьютере PC/AT
Следует отметить, что описанная выше система из одной, разбитой на три секции, шины, использовалась лишь в древних ЭВМ класса IBM PC XT. Имея название "Общая шина", она и впрямь пронизывала весь компьютер, позволяя соединить в каждый момент времени процессор с одним из приборов памяти либо одним из контроллеров периферийных устройств. На самом деле в нашем компьютере имеется не одна, а несколько шин (см.рис.2.2). Основных шин четыре, и обозначаются они как L-шина, S-шина, М-шина и X-шина. Нами только что рассматривалась L-шина (или локальная шина), линии адреса и данных которой связаны непосредственно с микропроцессором. Можно ввести понятие удаленности шины от процессора, считая, что чем больше буферов отделяют шину, тем она более удалена от процессора. Тогда L-шина может считаться ближайшей к процессору.
Рис 2.2. Шинная организация IBM PC AT
Основной шиной, связывающей компьютер в единое целое, является S-шина, или системная шина, к которой, кроме того, подключаются адаптеры периферийных устройств, не входящих в состав системного ядра. Именно она выведена на 8 специальных разъемов-слотов. Эти слоты хорошо видны на системной плате компьютера: в них установлены платы периферийных адаптеров (дисплея, флоппи-диска, винчестера, мыши и т.д.).
При переходе с шины L на шину S сигналы процессора должны претерпеть определенную трансформацию. В частности, максимальная нагрузочная способность линий микропроцессора не превышает одного TTL входа, так как максимальный выходной ток этих линий не должен превышать 1мА. Поэтому между линиями L - шины и S - шины должны располагаться буферные элементы, повышающие мощность выводов как минимум в сто раз. Кроме того, шина данных микропроцессора, как мы увидим в дальнейшем, не всегда должны соединяться с остальными частями ЭВМ. При выполнении так называемого вне процессорного обмена микропроцессор вообще должен быть отключен от остальных схем компьютера.
Защелкивание (этот распространенный в среде инженеров - электронщиков термин обозначает сохранение информации в регистре) кода адреса необходимо по следующей причине. К тому моменту, когда на шинах данных появляется информация, подлежащая перемещению в микропроцессор или из него, должен уже быть подготовлен тракт передачи этой информации от источника к приемнику, проходящий через систему шин и образованный целым набором буферных усилителей и шинных формирователей. Как известно, переключение выводов микросхем из высокоимпедансного состояния в рабочее, а также переключение направления передачи информации требует определенного времени. Кроме того, время затрачивается на дешифрацию элементов, участвующих в данном обмене. Следовательно, адресная информация должна быть выставлена на шину заблаговременно -еще/ в конце машинного цикла, предшествующего циклу рассматриваемого обмена, и сохраняться в регистре. Кроме того, для максимально возможного увеличения скорости обмена адресная информация, необходимая для дешифрации периферийных микросхем, вообще фиксируется и участвует в подготовке обмена начиная примерно с середины предыдущего цикла. Этот вариант адреса, образующийся на линиях LA(17) - LA(23), и соответствующий адресу обмена в следующем цикле, меняется уже тогда, когда на остальных линиях адреса системной шины еще присутствует информация, соответствующая адресу обмена в текущем цикле.
Эволюция шинной архитектуры
Когда микропроцессор с рассмотренной шинной архитектурой выполняет, например, команду чтения из памяти, воздействие (адрес и сигналы управления) с локальной L шины попадает на системную S шину, а только затем на шину памяти М. После этого данные,
считанные из памяти, опять-таки попадают на системную шину, а с нее - на локальную. Очевидно, что каждый перенос информации через тот или иной буферный элемент сопровождается определенной задержкой. И пусть одна задержка невелика (не более 10 наносекунд), но суммарно их набирается довольно много, что и определяет ту довольно низкую тактовую частоту, на которой работали первые IBM PC -12, или даже 8 Мгц.
Для устранения таких потерь в более поздних моделях IBM PC AT 286 основная оперативная память выделяется в особую подсистему и доступ к ней осуществляется не через системную шину, а параллельно с доступом к системной шине. Как правило, это связано с наличием интегрированного контроллера шины данных. Суммарная задержка передачи данных в этом случае сокращается примерно до 20 нс, а тактовая частота повышается до 25 МГц.
Дальнейшее совершенствование систем в этом направлении привело к тому, что переход от шины данных LD локальной шины к шине MD шины памяти упростился до предела. Функцию контроллера шины данных в этом случае выполняет обычный шинный формирователь. На первый взгляд, в нем нет необходимости и можно было бы просто объединить шины LD и MD. Но по соображениям согласования электрических сигналов этого нельзя делать.
Рис 2.5 Архитектура IBM PC AT 386 с конвертором системной шины
Дальнейшие возможности повышения производительности процессора связаны с поисками решений в области архитектуры PC AT. Введение кэш- памяти позволило ослабить требования по времени доступа к основной оперативной памяти (кэш-память - это статическая память с малым временем доступа, которая не "видна" для программного обеспечения. Объем ее колеблется от 128Кбайт до 1 Мбайт). При этом на локальной шине, кроме микропроцессора и сопроцессора, появляется контроллер управления кэш- памятью. При объеме памяти 128 Кбайт вероятность того, что необходимая микропроцессору информация окажется в кэш-памяти, составляет 95-98%. Эффективность кэш-памяти становится значительной на частотах выше 20 Мгц, так как в этом случае потери производительности из-за задержек доступа к оперативной памяти очень чувствительны.
Последующие архитектурные изменения связаны с переходом от процессоров, имеющих 32 разрядные шины данных (i80386 и i80486), к процессорам, имеющим 64 разрядные шины, а именно к процессорам Pentium, Pentium Pro и Pentium II.
Принципы проектирования систем обработки информации на основе МПС
Перспективные идеи проблемной ориентации
систем, параллельной и конвейерной обработки информации, использование табличных методов обработки данных и принятия решений, развиваются принципы регулярности и однородности структур на различных уровнях организации, становится реальной возможностью идея создания адаптивно - перестраиваемых вычислительных систем, конфигурация которых гибко изменяется в процессе решения задачи для наиболее эффективной организации вычислительного процесса и обеспечения живучести системы.
Характерной особенностью дальнейшего развития средств вычислительной техники является широкое применение принципа "трёх М" - модульность, магистральность, микропрограммируемость [3].
1.1.1. Модульная организация системы
















