Конструктивное исполнение блока преобразования сигнала РЛС (1086425)
Текст из файла
Аннотация
В данном дипломном проекте разрабатывается конструктивное исполнение блока преобразования сигнала РЛС, разрабатывается конструктивное исполнение ячейки АЦП, входящей в блок, согласно исходным данных и требованиям технического задания. Проводятся конструкторские расчёты несущей конструкции (блока) и ячейки. Приводится технология изготовления печатной платы, технология сборки блока. Рассчитываются показатели технологичности для блока. Разрабатывается схема сборности блока и маршрутные карты на изготовление печатной платы.
Проводится экономический расчёт проекта и приводится его экономическая целесообразность.
Рассчитывается система освещения и вентиляция для производственного помещения.
Делается заключение о выполненной работе, ее новизне и практической применимости.
\
Оглавление
Введение 9
1 Анализ исходных данных и разработка технического задания на конструирование 10
1.1 Исходные данные для проектирования 10
1.2 Выбор и обоснование темы 10
1.3 Описание принципа работы блока по схемам блока и модуля на печатной плате 11
1.4 Поверочные расчеты 15
1.4.1 Расчёт потребляемой мощности ячейки 15
1.4.2 Ориентировочный расчёт надежности 16
1.5 Разработка технического задания на конструирование 19
1.5.1 Наименование и область применения. 19
1.5.2 Технические требования 19
1.5.2.1 Назначение 19
1.5.2.2 Технические требования 20
1.5.2.3 Конструктивные требования 20
1.5.2.4 Требования по надежности 20
1.5.2.5 Условия эксплуатации 21
1.5.2.6 Механические воздействия 21
1.5.2.7 Условия хранения и транспортировки 21
1.5.2.8 Серийность 21
1.5.2.9 Исходные данные 21
2 Конструкторская часть 22
2.1 Выбор и обоснование метода конструирования 22
2.2 Разработка и анализ вариантов конструкции 25
2.3 Разработка и обоснование конструкции функциональной ячейки 26
2.4 Выбор способов электрических и механических соединений. 27
2.5 Выбор материалов и защитных покрытий 28
2.6 Конструкторские расчеты 30
2.6.1 Расчет размеров печатных проводников 30
2.6.2 Расчет диаметров переходных отверстий 31
2.6.3 Расчет теплового режима блока. 32
2.6.4 Выбор способа охлаждения функциональной ячейки 35
2.6.5 Расчет и анализ надежности. 38
2.6.6 Расчёт конструкции ячейки на вибропрочность 41
2.6.7 Расчёт конструкции ячейки на ударопрочность. 45
2.7 Использование САПР при разработке дипломного проекта 48
2.7.1 Использование САПР при проектировании функциональной ячейки ………………………………………………………………………..48
2.7.2 Использование САПР при проектировании блока. 52
3 Технологическая часть 52
3.1 Разработка схемы сборности. 52
3.2 Оценка технологичности. 54
3.2.1 Коэффициент механизации подготовки элементов к монтажу 57
3.2.2 Коэффициент автоматизации и механизации монтажа изделия 58
3.2.3 Коэффициент сложности сборки 58
3.2.4 Коэффициент механизации операций контроля и настройки электрических параметров 59
3.2.5 Коэффициент прогрессивности формообразования. 59
3.2.6 Коэффициент повторяемости ЭРЭ 59
3.2.7 Коэффициент точности обработки 60
3.2.8 Комплексный показатель технологичности 60
3.2.9 Уточнение годового выпуска 61
3.2.9.1 Уточнение годового выпуска для блока 61
3.2.9.2 Уточнение годового выпуска печатной платы 61
3.2.9.3 Такт и ритм выпуска блока 61
3.3 Технология изготовления печатной платы 62
3.4 Выбор технологического оборудования и оснастки. 65
3.5 Схема технологического процесса сборки функциональной ячейки. 67
3.6 Типовой технологический процесс сборки и монтажа унифицированной конструкции блока…. 67
4. Организационно-экономическая часть 69
4.1 Введение 69
4.2 Описание продукта 70
4.3 Анализ рынка сбыта 70
4.4 Конкурентоспособность 70
4.5 План маркетинга 71
4.6 План производства 71
4.7 Организационный план 73
4.8 Расчет трудозатрат и договорной цены 79
4.8.1 Материалы,покупные изделия и полуфабрикаты 79
4.8.2 Специальное оборудование для научных(эксперементальных) работ 81
4.8.3 Основная заработная плата научного персонала 81
4.8.4 Дополнительная заработная плата научного персонала 82
4.8.5 Отчисления в страховые фонды. 83
4.8.6 Командировочные расходы. 83
4.8.7 Оплата работ, выполняемых сторонними организациями. 83
4.8.8 Накладные расходы 83
4.8.9 Прочие расходы 83
4.8.10 Себестоимость. 83
4.8.11 Прибыль. 83
4.8.12 НДС. 83
4.8.13 Договорная цена. 84
4.9 Технико-экономическое обоснование целесообразности и выполнения проекта 84
4.10 Выводы 85
5. Экологичность и безопасность проекта 86
5.1 Введение 86
5.2 Условие зрительной работы 87
5.3 Воздушная среда 90
5.4 Технологический процесс изготовления блока 91
5.5 Мероприятия по обеспечению условий труда 93
5.5.1.Расче местной вентиляции при пайке 95
5.5.2 Расчет выделения тепла и влаги 97
5.6 Вывод 102
Заключение 103
Библиографический список 104
Приложение
П1. Спецификация на блок
П2. Спецификация на ячейку
П3. Перечень элементов на функциональную ячейку
П4. Перечень элементов на блок
П5. Маршрутные карты сборки блока
П6 Спецификация на ячейку генератора шумов
Введение
Роль и значение работ, связанных с разработкой конструкции и технологии производства, в общем процессе создания электронной аппаратуры все более возрастает. Это связано, с одной стороны, с ростом степени интеграции применяемой микроэлектронной элементной базы, что требует новых подходов к решению задач компоновки, помехоустойчивости, обеспечения нормальных тепловых режимов и высокой надежности. С другой стороны – расширением сфер применения ЭА, что требует современных методов конструирования и технологических процессов, обеспечивающих оптимальное сочетание необходимых эксплуатационных и экономических характеристик. Поэтому от правильного решения конструкторских и технологических проблем при проектировании ЭА зависит в конечном итоге ее потребительская жизнь.
1Анализ исходных данных и разработка технического задания на конструирование
1.1. Исходные данные для проектирования
1. Схема электрическая принципиальная блока автоматической компенсации шумовых сигналов – МРАГ.468365.005Э3.
2. Схема электрическая принципиальная модуля на печатной плате – МРАГ.468742.008Э3.
3. Напряжение питания – 220 В.
4. Условия эксплуатации: наземная, передвижная, не работающая на ходу, климатическое исполнение УХЛ 4.3 по ГОСТ 15150-69; относительная влажность воздуха от 45% до 98% при температуре от -40°C до +65°C; давление до 11 кПа;
5. Вероятность безотказной работы Р(t) = 0,98 за 1000 ч.
6. Габаритные размеры не более – 530480220 мм.
7. Масса и стоимость – минимальные.
8. Тип производства – мелкосерийное.
1.2. Выбор и обоснование темы
Тема: «Блок преобразования кодовых временных интервалов».
В процессе развития радиотехники и электроники шкаф претерпел серьезные изменения, требовалось устройство которое могло бы в автоматическом режиме преобразовывать сигналы.
Блок преобразования кодовых временных интервалов относится к устройствам систем автоматики, телемеханики, вычислительной техники и связи и может быть использован в системах сбора, обработки и передачи многоканального потока информации.
Работа этого блока основана на подсчете числа периодов генератора тактовых импульсов в измеряемые интервалы времени и представлении полученного числа в двоичном коде и может обеспечить надежный прием и достоверную регистрацию поступающих с переменной интенсивностью мощных потоков данных, когда скорость поступления и объем информации значительно превышает пропускную способность средств образки, и поэтому может быть использован в современных системах, предназначенных для приема и обработки данных, поступающих к ним по каналам связи от множества отдаленных терминалов.
Также устройство должно идти на экспорт и должно отвечать все требованиям заказчика. В соответствии с этим нужно рассмотреть аналоги, выбрать и усовершенствовать их для данного изделия.
Разработка устройства должна быть выполнена с приоритетом минимальных массогабаритных параметров и на современной элементной базе.
1.3. Описание принципа работы блока по схемам блока и модуля на печатной плате
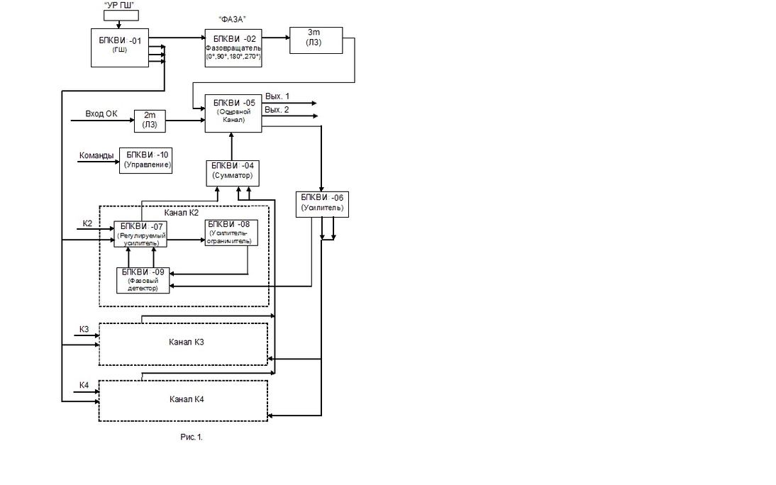
Описания принципа работы блока осуществляем по электрической схеме блока БПКВИ МРАГ.468365.005Э3 и по электрической схеме ячейки БПКВИ -01 МРАГ.468742.008Э3
В блоке применен принцип квадратурной компенсации помех. Блок БПКВИ содержит три одинаковых компенсационных канала (КК) по числу компенсируемых помех.
Функциональная схема блока БПКВИ приведена на рисунке 1.
Сигнал основного (защищаемого) канала приходит на плату 2m c широкополосной линией задержки, которая выравнивает время прохождения сигналов основного канала (ОК) с временем прохождения сигналов в КК от входа блока до схемы вычитания (ячейка БПКВИ -05).
С
игнал помехи каждого КК поступает на вход соответствующей ячейки регулируемого усилителя (РУ) [ячейка БПКВИ -07], которая изменяет амплитуду и фазу входного сигнала управляющими напряжениями, вырабатываемыми в соответствующих цепях корреляционной обратной связи (КОС) [ячейки БПКВИ Е-06, Б БПКВИ -08, БПКВИ -09]. Подключение соответствующего КК к защищаемому каналу происходит по командам
«
Вкл.АКП К2 (3, 4)», поступающим на ячейку управления блоком БАКШС -10. Команда « Строб АКП» задает время, в течение которого цепи КОС замкнуты и формируют управляющие напряжения для РУ. По окончании команды « Строб АКП» КОС размыкается и выработанные управляющие напряжения запоминаются и сохраняются до следующего включения (цикла) режима АКП. Под действием управляющих напряжений амплитуда и фаза сигнала помехи КК должны изменяться в ячейке БПКВИ -07 так, чтобы этот сигнал, поступив в ячейку вычитания БПКВИ -05, скомпенсировал сигнал той же помехи, принятой основным каналом (в, н).
Импульс «У0» обнуляет значения управляющих напряжений, сформированных в КОС во время предыдущего цикла работы АКП и подготавливает цепи КОС к работе в следующем цикле АКП.
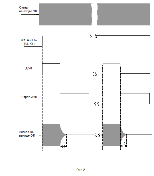
Временное положение команд и примерный вид осциллограмм помехового сигнала на выходе блока показан на рисунке 2.
Выходной сигнал ячейки БПКВИ -05 усиливается в ячейке БПКВИ -06, распределяется на три цепи КОС и поступает на входы ячеек фазового детектора БПКВИ -09. На другие входы ячеек БПКВИ -09 поступают сигналы соответствующих КК после их усиления и ограничения по уровню в ячейках БПКВИ -08. В этой ячейке находится и плавный фазовращатель на 360º, осуществляющий регулировку фазы сигнала КК, что обеспечивает формирование отрицательной обратной связи в системе КОС.
Работоспособность блока БПКВИ проверяется в режиме контроля при установке тумблеров КОНТРОЛЬ и ГШ в верхнее положение. Ячейка БПКВИ -01 формирует непрерывный шумовой контрольный сигнал, который распределяется между основным каналом и тремя КК. Уровень сигнала ГШ регулируется потенциометром УР ГШ. Фаза контрольного сигнала, поступающего в ОК, изменяется переключателем ФАЗА с передней панели блока.
1.4. Поверочные расчеты
1.4.1 Расчёт потребляемой мощности ячейки
Рассчитаем мощность, потребляемую ячейкой, которая складывается из суммы мощностей, потребляемых элементами. Для расчета мощности потребляемой ячейкой используются данные из документации фирм производителей и каталогов фирм поставщиков.
| Тип элемента | Обозначение элементов на схеме | Число элементов Ni,шт | Полная мощность, Вт |
| 530КП11 | D1,D2,D3,D8,D88…D91,D93,D94 | 13 | 1,3 |
| 1533КП11 | D4,D16,D3,D5,D7,D9 | 6 | 0,18 |
| 1804ВУ4 | D6,D8,D10 | 3 | 0,0076 |
| 1533ТМ2 | D7 | 1 | 8 |
| 530ЛИ3 | D8,D28,D29,D36,D52 | 5 | 0,65 |
| 530ЛА1 | D9 | 1 | 0,23 |
| 530ЛН1 | D10 | 1 | 0,14 |
| 530ИД7 | D15,D20,D21,D22,D7,D9 | 6 | 0,36 |
| 530ТМ9 | D17,D18,D19,D31,D34 | 5 | 5,376 |
| 530ЛЕ1 | D23,D26 | 2 | 0,2 |
| 530ТМ2 | D26 | 1 | 1,05 |
| 585АП16 | D31,D33 | 2 | 0,6 |
| 585АП26 | D32,D34,D69,D70…D76 | 10 | 2,8 |
| 530ЛА3 | D35,D43,D62,D62 | 4 | 0,4 |
| 533ЛЛ1 | D37 | 1 | 0,2 |
| 1533ИР24 | D38…D41,D44….D47 | 8 | 1,8 |
| 1533ИР37 | D42,D49,D53,D55 | 4 | 0,04 |
| 533ЛП8 | D48,D49,D50 | 2 | 0,2 |
| 1533ЛИ1 | D51 | 1 | 0,4 |
| 5861РР1Т | D57…D60,D77…D80 | 1 | 0,4 |
| 1533КП11 | D86 | 8 | 2,2 |
| 249КП4АТ | D56 | 1 | 0,5 |
| Б18-11 | D96…D103 | 8 | 2,6 |
| К53-18-16 В-10 мкФ±20 %-В | C1,C2 | 2 | 0,1 |
| К10-17а-Н90-0,68 мкФ-В | C3…C22 | 20 | 0,7 |
Полученное значение потребляемой мощности составляет Робщ.= 30,653 Вт является максимально возможным и не превышает мощность, заданную в задании.
Характеристики
Тип файла документ
Документы такого типа открываются такими программами, как Microsoft Office Word на компьютерах Windows, Apple Pages на компьютерах Mac, Open Office - бесплатная альтернатива на различных платформах, в том числе Linux. Наиболее простым и современным решением будут Google документы, так как открываются онлайн без скачивания прямо в браузере на любой платформе. Существуют российские качественные аналоги, например от Яндекса.
Будьте внимательны на мобильных устройствах, так как там используются упрощённый функционал даже в официальном приложении от Microsoft, поэтому для просмотра скачивайте PDF-версию. А если нужно редактировать файл, то используйте оригинальный файл.
Файлы такого типа обычно разбиты на страницы, а текст может быть форматированным (жирный, курсив, выбор шрифта, таблицы и т.п.), а также в него можно добавлять изображения. Формат идеально подходит для рефератов, докладов и РПЗ курсовых проектов, которые необходимо распечатать. Кстати перед печатью также сохраняйте файл в PDF, так как принтер может начудить со шрифтами.
















