Вариант 16 (1082520)
Текст из файла
МОСКОВСКИЙ ГОСУДАРСТВЕННЫЙ ИНСТИТУТ РАДИОТЕХНИКИ, ЭЛЕКТРОНИКИ И АВТОМАТИКИ
(ТЕХНИЧЕСКИЙ УНИВЕРСИТЕТ)
Курсовая работа по ТОЭ
Задание 4.1
« Расчёт магнитных цепей »
Вариант №16
Выполнил:
студент группы
факультета кибернетики
Проверил: Любарская Т.А.
Оценка работы_________________
Подпись преподавателя__________
Москва 2006 г.
Вариант 16
-
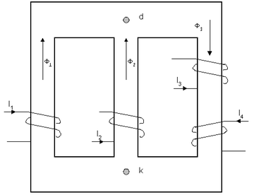
Рассчитать магнитную цепь методом двух узлов и определить величины I2, Ф1, Ф2, Ф3
-
Для принятых в п.1 положительных направлений потоков и заданного направления МДС составить систему уравнений по законам Кирхгофа.
Дано:
| l1,см | S1 см2 | 1 | I1, А | l2,см | S2 см2 | 2 | I2, А | l3,см | S3 см2 | 3 | I3, А | 4 | I4 A | доп.усл |
| 35 | 4,1 | 19 | 1 | 6 | 6,3 | 275 | --- | 25 | 9,6 | 200 | 0,2 | 200 | 0,2 | Ф2- Ф1=20*10-5 |
Найти:
Построим схему замещения:
Магнитные свойства стали
| H, А/м | 20 | 40 | 60 | 80 | 120 | 200 | 400 | 600 | 800 | 1200 |
| В, Тл | 0,22 | 0,75 | 0,93 | 1,02 | 1,14 | 1,28 | 1,47 | 1,53 | 1,57 | 1,6 |
Для данной задачи
по вышеприведённым формулам рассчитаем значения Ф1, Ф3, Um2, Um3, Umdk2, Umdk3 данные расчётов в таблице:
| H | B | Ф1 | Ф2 | Ф3 | Um1 | Um2 | Um3 | Umdk1 | Umdk3 |
| -1200 | -1,6 | -6,56 | -10,08 | -15,36 | -420 | -72 | -300 | -401 | -380 |
| -800 | -1,57 | -6,437 | -9,891 | -15,072 | -280 | -48 | -200 | -261 | -280 |
| -600 | -1,53 | -6,273 | -9,639 | -14,688 | -210 | -36 | -150 | -191 | -230 |
| -400 | -1,47 | -6,027 | -9,261 | -14,112 | -140 | -24 | -100 | -121 | -180 |
| -200 | -1,28 | -5,248 | -8,064 | -12,288 | -70 | -12 | -50 | -51 | -130 |
| -120 | -1,14 | -4,674 | -7,182 | -10,944 | -42 | -7,2 | -30 | -23 | -110 |
| -80 | -1,02 | -4,182 | -6,426 | -9,792 | -28 | -4,8 | -20 | -9 | -100 |
| -60 | -0,93 | -3,813 | -5,859 | -8,928 | -21 | -3,6 | -15 | -2 | -95 |
| -40 | -0,75 | -3,075 | -4,725 | -7,2 | -14 | -2,4 | -10 | 5 | -90 |
| -20 | -0,22 | -0,902 | -1,386 | -2,112 | -7 | -1,2 | -5 | 12 | -85 |
| 0 | 0 | 0 | 0 | 0 | 0 | 0 | 0 | 19 | -80 |
| 20 | 0,22 | 0,902 | 1,386 | 2,112 | 7 | 1,2 | 5 | 26 | -75 |
| 40 | 0,75 | 3,075 | 4,725 | 7,2 | 14 | 2,4 | 10 | 33 | -70 |
| 60 | 0,93 | 3,813 | 5,859 | 8,928 | 21 | 3,6 | 15 | 40 | -65 |
| 80 | 1,02 | 4,182 | 6,426 | 9,792 | 28 | 4,8 | 20 | 47 | -60 |
| 120 | 1,14 | 4,674 | 7,182 | 10,944 | 42 | 7,2 | 30 | 61 | -50 |
| 200 | 1,28 | 5,248 | 8,064 | 12,288 | 70 | 12 | 50 | 89 | -30 |
| 400 | 1,47 | 6,027 | 9,261 | 14,112 | 140 | 24 | 100 | 159 | 20 |
| 600 | 1,53 | 6,273 | 9,639 | 14,688 | 210 | 36 | 150 | 229 | 70 |
| 800 | 1,57 | 6,437 | 9,891 | 15,072 | 280 | 48 | 200 | 299 | 120 |
| 1200 | 1,6 | 6,56 | 10,08 | 15,36 | 420 | 72 | 300 | 439 | 220 |
Построим Вебер-Амперную характеристику.
Построим графики Ф1(Umdk) и Ф3(Umdk)
По условию Ф3=20*10-5 Вб. Обозначим на графике.
Определяем значение Ф1(Umdk) , Ф3 (Umdk)и Umdk
Ф1=-55 10-5 [Вб].
Ф3=20 10-5 [Вб].
Umdk=-75 [А].
Ф2=Ф1+Ф3=(-55+20)*10-5=-35*10-5 [Вб].
Ответы:
Ф1=-55 10-5 [Вб].
Ф2=-35 10-5 [Вб].
Ф3=20 10-5 [Вб].
I2 = -0,309 A
Проверка Законов Кирхгофа:
1) 1ЗК : Алгебраическая сумма магнитных потоков в любом узле магнитной цепи равна нулю
Ф1+ Ф2+ Ф3 =0,
-55 10-5 +35 10-5 +20 10-5 =0
2) 2ЗК: Алгебраическая сумма падений магнитного напряжения вдоль любого замкнутого контура равна алгебраической сумме МДС вдоль того же контура
для 1 контура: Система по ЗК:
для 2 контура:
Характеристики
Тип файла документ
Документы такого типа открываются такими программами, как Microsoft Office Word на компьютерах Windows, Apple Pages на компьютерах Mac, Open Office - бесплатная альтернатива на различных платформах, в том числе Linux. Наиболее простым и современным решением будут Google документы, так как открываются онлайн без скачивания прямо в браузере на любой платформе. Существуют российские качественные аналоги, например от Яндекса.
Будьте внимательны на мобильных устройствах, так как там используются упрощённый функционал даже в официальном приложении от Microsoft, поэтому для просмотра скачивайте PDF-версию. А если нужно редактировать файл, то используйте оригинальный файл.
Файлы такого типа обычно разбиты на страницы, а текст может быть форматированным (жирный, курсив, выбор шрифта, таблицы и т.п.), а также в него можно добавлять изображения. Формат идеально подходит для рефератов, докладов и РПЗ курсовых проектов, которые необходимо распечатать. Кстати перед печатью также сохраняйте файл в PDF, так как принтер может начудить со шрифтами.
















