Отчет 3 - Ключевой режим работы транзистора (1075832)
Текст из файла
Московский Государственный Технический Университет имени Н. Э. Баумана
Отчёт к лабораторной работе №3
по курсу Микроэлектроника и Схемотехника
" Ключевой режим работы транзистора"
Работу выполнил студент группы ИУ-5-41
___________________ Осипов А.В.
Москва
2010
Цель работы
Исследовать статические режимы и переходные процессы в схеме простого транзисторного ключа.
Теоретическая часть
Транзисторные ключи (ТК) являются основой логических элементов ЭВМ. Дня отображения двоичных символов используются статические состояния ТК, в которых транзистор работает в режимах отсечки или насыщения. Во время переходных процессов при переключении из одного статического состояния в другое транзистор работает в нормальном и инверсном активных режимах.
Рис. 1. Принципиальная схема транзисторного ключа
О
сновными параметрами статических состояний ТК являются напряжение насыщения Uкэн и обратный ток Jко. Режим отсечки ТК (рис. 1) характеризуется низким уровнем напряжения Uвых=-Ек+IкоRк-Ек. В режиме насыщения через ТК протекает ток
Uвых=Uкэ0.
Основными параметрами переходных процессов являются: при включении ТК tз - время задержки и tф - длительность фронта, а при выключении tрас - время рассасывания накопленного в базе заряда и tc - длительность среза.
На рис. 2 представлены временные диаграммы, иллюстрирующие переходные процессы в ТK. Время задержки
, где вх=RбСвх ; Uб0- начальное напряжение на Свх. Длительность фронта определяется по формуле
Рис. 2. Временные диаграммы работы транзисторного ключа
Для удобства измерения фронта его часто определяют как время нарастания тока от уровня 0.1Iкн до уровня 0.9Jкн ;
. В этих формулах
(fв- верхняя граничная частота каскада ОЭ), а
- коэффициент насыщения. Ток базы, соответствующий границе насыщения,
Время рассасывания заряда в базе
, где u - время жизни неосновных носителей в базе в режиме насыщения.
Время рассасывания характеризуется интервалом времени от момента подачи запирающего входного напряжения +Еб2 до момента, когда заряд в базе уменьшается до граничного значения Qгр=Iбнu,при котором транзистор переходит из насыщенного состояния в активный режим. Если коллекторный переход запирается раньше эмиттерного (tк<tэ) то транзистор переходит в нормальный активный режим, если наоборот (tэu < tкu ), то в инверсный активный режим. В последнем случае на графике Ik и Uк появляется характерный выброс (рис. 2, штриховые линии).
Заканчивается переходный процесс при выключении транзистора срезом выходного напряжения (задним фронтом). Длительность tc можно оценить, считая, что процесс формирования заднего фронта заканчивается при Q0. Тогда
.
Однако в реальных схемах большая часть среза выходного напряжения происходит, когда транзистор находится в режима отсечки. Поэтому длительность среза определяется постоянной времени к=RкСк или к=Rк(Ск+Сн) с учетом емкости нагрузки Сн. Конденсатор С в схеме ТК (рис. 12. пунктир) является форсирующим. Он позволяет увеличить токи базы Iб1 и Iб2 нa короткий промежуток времени, в то время как стационарные токи базы практически не меняются, это приводит к повышению быстродействия ТК. Другим способом увеличения быстродействия ТК является введение нелинейной обратной связи. Диод с малым временем восстановления (диод Шоттки), включенный между коллектором и базой, предотвращает глубокое насыщение ТК, фиксируя потенциал коллектора относительно потенциала базы. Такие ТК называют ненасыщенными.
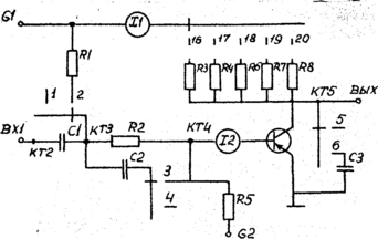
Описание макета
Макет, схема которого показана на рис. 3, позволяет исследовать статические состояния ключа и переходные процессы в нем. В первом случае с помощью переключателя BI возможна подача в цепь базы низкого уровня напряжения от источника G1 с сопротивлением в его -цепи R1. Для измерения постоянных токов и напряжений в цепях ключа используется прибор, установленный на панели лабораторного стенда о пределами измерения тока J1=20 мА, J2=200 мкА, U1=20В, U2=0,2 В.
Рис. 3. Схема макета
При исследовании переходных процессов на вход схемы подаются импульсы отрицательной полярности амплитудой не более 15 В от генератора прямоугольных импульсов. В схеме макета предусмотрена возможность установки в коллекторной и базовой цепях транзистора различных деталей (резисторов и конденсаторов) с целью исследования влияния их параметров на свойства исследуемого ключа. Так, возможна смена резисторов в коллекторной цепи (переключатель В4),подключение к схеме ускоряющего конденсатора С2 (переключательВ2), подключение к выходу ключа нагрузочного конденсатора СЗ (переключатель ВЗ). В схеме установлен маломощный низкочастотный транзистор МП42А ( fa = I...3 мГц, Вст = 30...60, Ск= 30 пф, Ркмакс=200мвт). Резисторы и конденсаторы имеют следующие номиналы:
| R1=75 кОм | R6=5,1 кОм | R4=910 Ом | C1=10,0 мкФ |
| R2=3 кОм | R7=10 кОм | R5=30 кОм | C2=1000 пФ |
| R3=130 Ом | R8=75 кОм | C3=470 пФ |
Напряжение источника G1 следует установить равным 10 В.
Практическая часть
Промоделируем схему и найдем сопротивление коллектора, при котором транзистор переходит в режим насыщения:
| Rк, Ом | Iб, μA | Iк, мА | Uкэ, В | Ki=Iк/Iб | IKнас=Ek/Rk, мА | IБнас=IKнас/K, мА | |
| 130 | 108.7 | 5.4 | 9.3 | 49.7 | 77 | 1.5 | 0.07 |
| 510 | 108.7 | 5.4 | 7.2 | 49.7 | 20 | 0.4 | 0.27 |
| 1000 | 108.7 | 5.4 | 4.5 | 49.7 | 10 | 0.2 | 0.54 |
| 2000 | 108.8 | 4.9 | 0.22 | 45 | 5 | 0.11 | 0.99 |
| 5100 | 109.9 | 1.9 | 0.15 | 17.3 | 2 | 0.11 | 0.99 |
| 10000 | 110.6 | 0.99 | 0.12 | 9 | 1 | 0.11 | 0.99 |
Сопротивление 2000 Ом является нижней границей насыщения.
Промоделируем схему ключа и рассмотрим, как меняется время фронта, спада и рассасывания при различных входных напряжениях:
| U, В | tфр, μсек | tрас, μсек | tсп, μсек |
| 1 | 1.05 | 0.98 | 1.5 |
| 2 | 0.4 | 1.7 | 1.3 |
| 3 | 0.27 | 1.9 | 0.81 |
| 4 | 0.22 | 2.3 | 0.8 |
| 5 | 0.18 | 2.5 | 0.77 |
Пример осциллограмм:
-
Для времени фронта:
-
Для времени рассасывания:
-
Для времени спада:
6
Характеристики
Тип файла документ
Документы такого типа открываются такими программами, как Microsoft Office Word на компьютерах Windows, Apple Pages на компьютерах Mac, Open Office - бесплатная альтернатива на различных платформах, в том числе Linux. Наиболее простым и современным решением будут Google документы, так как открываются онлайн без скачивания прямо в браузере на любой платформе. Существуют российские качественные аналоги, например от Яндекса.
Будьте внимательны на мобильных устройствах, так как там используются упрощённый функционал даже в официальном приложении от Microsoft, поэтому для просмотра скачивайте PDF-версию. А если нужно редактировать файл, то используйте оригинальный файл.
Файлы такого типа обычно разбиты на страницы, а текст может быть форматированным (жирный, курсив, выбор шрифта, таблицы и т.п.), а также в него можно добавлять изображения. Формат идеально подходит для рефератов, докладов и РПЗ курсовых проектов, которые необходимо распечатать. Кстати перед печатью также сохраняйте файл в PDF, так как принтер может начудить со шрифтами.
















