лаба2 (1075475), страница 2
Текст из файла (страница 2)
Рис. 3. Статическая передаточная (стоко-затворная) характеристика полевого транзистора в области пологого изменения тока стока.
Способы определения мало сигнальных параметров полевого транзистора и их зависимости от тока стока
в области его полого изменения:
К числу основных мало сигнальных параметров полевого транзистора относятся выходное сопротивление r ( r= UСИ/IС при постоянном напряжении на затворе UЗИ), крутизна S ( S=IС/UЗИ при постоянном напряжении на стоке) и коэффициент усиления (=UСИ/UЗИ при постоянном токе стока). Выходное сопротивление r определяется по семейству выходных характеристик, крутизну S – по стоко-затворной характеристике, а коэффициент усиления вычисляется как =S*r.
Рис. 4. Зависимость выходного сопротивления полевого транзистора от напряжения сток-исток.
Рис. 5. Зависимость крутизны полевого транзистора от напряжения сток-исток.
Часть 2. Работа полевого транзистора в ключевом режиме.
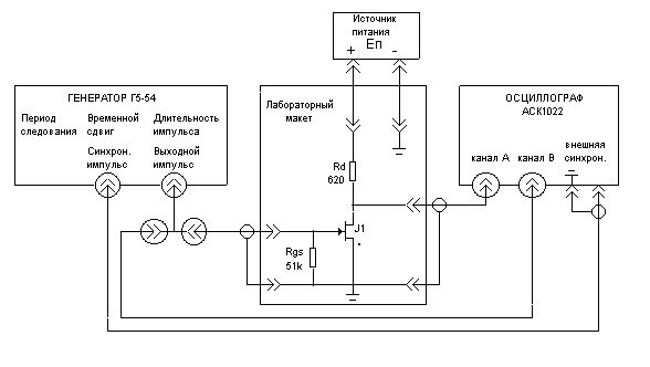
Р
ис. 6. Блок-схема лабораторной установки для исследования работы полевого транзистора в ключевом режиме.
Установите период следования его выходных импульсов равный Тсл=100 мкс (частота следования Fсл=10 кГц), временной сдвиг выходного импульса относительно синхроимпульса tзд=0.5 мкс, а длительность импульса tимп=2.5 мкс. Выходной импульс должен быть отрицательной полярности и иметь амплитуду Um.вх.=5 В. Используя коаксиальный «тройник» на выходе генератора, подведите его выходной импульс с помощью коаксиальных кабелей на вход электронного ключа и на один из Y-входов двухканального осциллографа типа АСК1022. При использовании коаксиальных кабелей, один из концов которых оканчивается двумя проводниками со штырями, то более длинный конец соединен с внешним проводом коаксиала. Этот провод должен быть соединен с общим проводом макета («земля») и осциллографа.
По Y-входам осциллографа используйте «открытые» входы, позволяющие измерять как переменные, так и постоянные напряжения. Синхронизацию развертки осциллографа установите внешним сигналом, которым является синхроимпульс генератора Г5-54. Длительность развертки выберете приблизительно равной 4 – 6 мкс. Настройте режим работы осциллографа так, чтоб на экране было бы устойчивое изображение импульсного сигнала от генератора Г5-54. Замерьте по осциллографу его параметры (длительность и амплитуду), сравните их с показаниями по лимбам генератора Г5-54.
На второй Y-вход осциллографа подайте выходное напряжение ключевой схемы (напряжение между стоком и истоком). Так как коаксиальный кабель не согласован с входным сопротивлением осциллографа, то его распределенная емкость выступает в дальнейших экспериментах в роли нагрузочного конденсатора. Величина этого конденсатора определяется по результатам эксперимента.
Определение стационарных выходных напряжений ключа в замкнутом состоянии для двух значений резистора Rd в стоковой цепи.
Для определения выходного напряжения «ключа» в исходном положении следует на выходной характеристике транзистора, полученной в первой части работы, построить нагрузочные прямые для Rd1=620 Ом и Rd2=3 кОм и напряжении питания Еп=15 В. Точки пересечения нагрузочных прямых с выходной характеристикой, снятой при напряжении между затвором и истоком Uзи=0 В, определяют выходные напряжения Uси.о(Rd1) и Uси.о(Rd2) и соответствующие им стоковые токи Ic(Rd1) и Ic(Rd2) транзистора. С приходом управляющего импульсного сигнала транзистор запирается и напряжение на выходе ключевой схемы по окончанию переходного процесса становится равным напряжению питания Еп. Поэтому амплитуда Um выходного импульса определяется как
Um=Еп-Uси.о
На этом этапе длительность переходного процесса определяется временем перезаряда конденсатора нагрузки Сн от Uси.о до Еп через резистор Rd. Если оценивать длительность tфр переднего фронта выходного импульса как время, в течении которого напряжение на выходе возрастает от уровня (Uси.о+0.1*Um) до уровня (Uси.о+0.9*Um), то оно определяется как
tфр=2.2*Rd*Cн (1)
Данное соотношение является основой для определения емкости Сн по результатам последующих экспериментов.
-
Измерение параметров выходного импульса ключевой схемы при Rd=620 Ом.
Для работы ключевой схемы включить источник питания и установить напряжение Еп=15 В. На экране осциллографа получить одновременно осциллограммы входного и выходного напряжений ключевой схемы, как показано на рис. 7.
Рис. 7. Осциллограммы выходного и входного импульсов ключевой схемы.
Для измерения параметров выходного импульса оставить на экране осциллографа только его изображение и подобрать усиление по соответствующему Y-входу осциллографа так, чтоб его максимальный уровень был бы не менее 4-х клеток.
Рис. 8. К измерению максимального и минимального импульсного выходного напряжения ключевой схемы.
Используя обозначенные уровни «0.1» и «0.9» на экране осциллограф АСК, замерьте длительности переднего фронта tфр и спада заднего фронта tсп, как показано на рис. 9.
Рис. 9. К измерению временных параметров выходного импульса ключевой схемы.
tфр = 0.18 мкс
tсп = 0.23 мкс
Umin = 10 B
U
max = 15 B
Сн = = 0.132 пФ
-
Измерение параметров выходного импульса ключевой схемы при Rd=3 кОм.
Замените в стоковой цепи ключевой схемы резистор с 620 Ом на 3 кОм. Восстановите ручки регулировки плавного усиления по Y-входам осциллографа в крайнее положение по часовой стрелке. Получите на экране осциллографа одновременно изображения входного и выходного импульсов. Убедитесь, что при длительности импульса tимп =2.5 мкс максимальное напряжение выходного импульса становиться практически равным напряжению питания Еп=15 В, т.е. переходной процесс на переднем фронте оказывается законченным.
Рис. 10. К измерению максимального и минимального импульсного выходного напряжения ключевой схемы.
Используя обозначенные уровни «0.1» и «0.9» на экране осциллограф АСК, замерьте длительности переднего фронта tфр и спада заднего фронта tсп, как показано на рис. 11.
Рис. 11. К измерению временных параметров выходного импульса ключевой схемы.
tфр = 0.88 мкс
tсп = 0.36 мкс
Umin = 1 B
Umax = 15 B
Сн = = 0.133 пФ
Обсуждение полученных результатов:
14
















