Михайлов В.П. - Учебное пособие по курсу ФОЭТ (1074338), страница 17
Текст из файла (страница 17)
 где 
 , 
 - равновесные концентрации основных носителей.
При  1 – уровень инжекции считают средним, при  >1 – высоким. В этих случаях в p- и n-областях возникают нескомпенсированные объемные заряды и электронейтральность p- и n-областей нарушается.
Мы будем полагать, что  <<1, то есть уровень инжекции низкий и p- и n-области за границами p-n - перехода электрически нейтральны.
Обратное включение напряжения
 Обратным называется такое включение внешнего напряжения U, при котором его полярность совпадает с электрическим полем 
 контактной разности потенциалов 
 p-n перехода.
ВАХ идеального p-n перехода
|   ВАХ определяется уравнением:   При достаточно больших положительных U (прямая ветвь) I возрастает по экспоненциальному закону.  |  
Физические процессы в диоде
Полупроводниковый диод – полупроводниковый прибор с одним p-n - переходом, имеющий два вывода. При этом одна из областей p-n - перехода имеет более высокую концентрацию примесей и образует эмиттер, а вторая область – базу.
 ВАХ идеального диода описывается уравнением:
 . Однако, в реальных диодах протекают физические процессы, неучтенные при анализе идеального p-n - перехода.
Диод при подключении обратного напряжения
Рассмотрим обратную ветвь ВАХ реального диода (см. рис.).
 Полный обратный ток определяется суммой составляющих: 
 .
 Тепловой токВ реальных диодах тепловой ток I0 (обратный ток насыщения) является частью полного обратного тока Iобр и определяется как:  |  
Ток генерации
В реальных диодах в p-n переходе происходит генерация и рекомбинация носителей заряда.
 Генерация носителей заряда происходит под действием контактной разности потенциалов 
 и внешнего обратного напряжения U. Ток генерации можно записать так:
 
 , где e - заряд электрона, S - площадь поперечного сечения p-n перехода, d - ширина p-n перехода, ni - концентрация собственных носителей заряда, 
 и 
 - время жизни носителей заряда. Как видно из уравнения, ток Ig пропорционален ширине запирающего слоя d, поэтому Ig растет пропорционально 
 .
Ток Ig представляет собой скорость образования собственных носителей заряда.
Ток утечки
Ток утечки Iу определяется поверхностными явлениями и пропорционален обратному напряжению U.
Диод при подключении прямого напряжения
 При подключении к диоду прямого напряжения уменьшается потенциальный барьер 
 , нарушается равновесие и возникает диффузионный ток 
 , при котором начинается инжекция неосновных носителей заряда. Наряду с диффузионным током в p-n переходе возникает также ток рекомбинации:
 
 При низких прямых напряжениях U ток рекомбинации Ir составляет заметную долю в прямом токе I, с увеличением U диффузионный ток растет быстрей 
 и его доля становится преобладающей.
Объемное сопротивление базы
В случае низкого уровня инжекции (<<1) концентрация подвижных носителей заряда в базе диода меняется мало и объемное сопротивление базы равно:
 
 , где 
 - удельное сопротивление базы, 
 - длина базы (n- области).
 При невысокой степени легирования базы (n-области) (ND<<NA) ее объемное сопротивление 
 сравнимо с сопротивлением p-n перехода. В этом случае необходимо учитывать падение напряжения на базе:
Рассмотрим прямую ветвь ВАХ диода.
ВАХ кремниевого (Si) и германиевого (Ge) диодов
Биполярный транзистор
Транзистор - полупроводниковый прибор с несколькими электрическими переходами, имеющий три или более выводов (термин транзистор происходит от английского слова “transfer of resistor” - преобразователь сопротивления).
Биполярный транзистор - транзистор, в котором используются носители зарядов обеих полярностей.
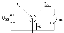
|   Устройство транзистора, выполненного по планарной технологии (n-p-n транзистор)   1-коллектор; 2-база; 3-эмиттер  |    Схема включения p-n-p транзистора с общей базой    |  
Рассмотрим работу p-n-p транзистора, включенного по схеме с общей базой. Пусть NА.Э.=NА.К. и NД.Б. << NА.Э. Тогда большая часть запирающего слоя эмиттерного dэ и коллекторного dк переходов находится в базовой области.
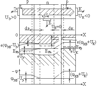
|   Энергетическая диаграмма и распределение потенциала в p-n-p - транзисторе без внешнего напряжения    |    Система находится в состоянии равновесия и характеризуется единым уровнем Ферми ЕFp= ЕFn. Контактные разности потенциалов и потенциальные барьеры соответственно равны: эб, кб, еэб, екб.  |  |
|   Энергетическая диаграмма и токи в транзисторе при включении внешнего напряжения    |    При работе транзистора в активном режиме на эмиттерный переход подается прямое напряжение (Uэ>0), на коллекторный переход - обратное (Uk<0). Таким образом, контактная разность потенциалов, потенциальный барьер и ширина эмиттерного перехода уменьшаются [(эб-Uэ), е(эб-Uэ), dэ], а на коллекторном переходе - увеличиваются [(эб+Uэ), е(эб+Uэ), dk].  |  |
В результате на эмиттерном переходе начинается диффузионное движение основных носителей (зарядов, дырок), происходит инжекция дырок из эмиттера в базу. Ширина базы выбирается такой, что время жизни неосновных носителей - дырок р >> времени движения в базе. Таким образом, ~99% дырок не успевают рекомбинировать с электронами в базе и втягиваются в коллектор. Происходит экстракция дырок из базы в коллектор, т.е. возникает коллекторный ток IК.
Таким образом, ток эмиттера Iэ является управляющим током, а ток коллектора IК - управляемым. Ток базы представляет собой Iб = Iэ - IК и возникает за счет рекомбинации дырок и электронов.
Токи в транзисторе
Многие физические процессы в транзисторе аналогичны процессам в полупроводниковом диоде: инжекция неосновных носителей в базу, экстракция из базы, изменение потенциального барьера p-n - переходов и т.д. Отличием транзистора является взаимосвязь p-n переходов, т.е. изменение тока в эмиттерном переходе Iэ влияет на изменение тока в коллекторном переходе Iк.
На основании закона Кирхгофа: Iэ = Iк +Iб.
Ток эмиттера. Iэ= Iэр +Iэn +Iэr , где Iэр,Iэn - токи инжекции дырок из эмиттера в базу и электронов - из базы в эмиттер; Iэr - ток рекомбинации дырок в эмиттерном переходе. Т.к. ррэ>>nnб, то Iэр>>Iэn. При рабочих напряжениях в транзисторе Iэр>>Iэr. Таким образом Iэ  Iэр.
Ток коллектора. Ik = Ikp + Iобр., где Ikp - ток экстракции дырок из базы в коллектор; Iобр. - обратный ток в коллекторном переходе.
Ток Iобр.= I0+Ig+Iy (по аналогии с обратным током в полупроводниковом диоде). Для кремниевых транзисторов Ig >>I0>>Iy. Таким образом Ik = Ikp + Ikg, где Ikg - ток генерации носителей заряда в коллекторном переходе.
Коэффициент передачи тока эмиттера 
Ток коллектора Ik можно записать: Ik = Ikp + Iобр.=  Iэ + Iобр., где  - коэффициент передачи тока эмиттера. Таким образом:  = (Ik - Iобр.)/ Iэ. Обычно   0,950,99.
Коэффициент передачи тока базы 
 = /(1- ). Поскольку   0,950,99, то   20100.
Полевые транзисторы
Полевые транзисторы - полупроводниковые приборы, в которых ток через канал управляется электрическим полем, возникающем при приложении напряжения между затвором и истоком. Каналы - это область кристалла, в которой поток носителей заряда регулируется изменением ее поперечного сечения или концентрации носителей заряда в этой области. Исток - электрод полевого транзистора, через который в каналы втекают носители заряда. Сток - электрод, в который из канала вытекают носители заряда. Затвор - электрод, к которому прикладывается управляющее напряжение.
Полевые транзисторы называют также униполярными, т.к. токи в них образованны носителями зарядов одного знака (основными носителями).
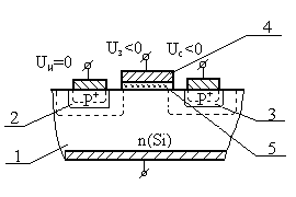
  Схема МОП - транзистора с индуцированным р-каналом  1 - подложка; 2 - исток; 3 - сток; 4 - затвор; 5 – окисел (SiO2)  |    Наиболее часто используются полевые транзисторы с изолированным затвором: МДП - транзисторы (металл - диэлектрик - полупроводник) и МОП - транзисторы (металл - окисел - полупроводник). МОП - транзистор с индуцированным р-каналом работает лишь при подаче на затвор отрицательного напряжения Uз<0 относительно истока Uи=0 и подложки Uп=0.  |  
Рассмотрим работу и физические процессы, происходящие в МОП - транзисторе с индуцированным р - каналом.
 
 
 
 
 














