Нечётные (1073649), страница 5
Текст из файла (страница 5)
Внутреннее шлифование является одним из основных способов обработки отверстий, при котором может быть достигнута точность обработки по Н6 – Н9 квалитетов, шероховатость поверхности
. Оно используется во всех типах производства.
Внутреннее шлифование применят при обработке цилиндрических и конических сквозных и глухих отверстий в деталях, изготовленных из незакаленной и закаленной стали, чугуна, цветных металлов и неметаллических материалов
Чаще всего оно осуществляется при обработке точных отверстий в закаленных деталях или в деталях из высокотвердых и труднообрабатываемых материалов, а также точных отверстий с пересеченной поверхностью, например, с вытачкой, со шпоночными и шлицевыми пазами, нестандартных диаметров (нет таких разверток), отверстий седьмого квалитета и выше.
Особенность внутреннего шлифования и его достоинством является возможность исправления направления оси отверстия при ее уводе на предшествующих операциях, а также обеспечение перпендикулярности торцовой поверхности к оси отверстия при шлифовании отверстия и торца с одной установки.
Однако особенность этого способа обработки создают и ряд ограничений для его использования. К ним относятся:
Зависимость диаметра шлифовального круга от диаметра обрабатываемого отверстия детали;
Недостаточная жесткость шпинделя, несущего шлифовальный круг.
Оборудование и схемы внутреннего шлифования. Современные внутришлифовальные станки позволяют обрабатывать отверстия диаметром от 5 мм, а в некоторых случаях – и от 1 мм. Эти станки подразделяются на патронные, планетарные и бесцентровые.
47.Хонингование.
Предварительно развернутое или расточенное отверстие обрабатывают специальной вращающейся и возвратно-поступательно перемещающейся головкой с шестью (иногда и более) раздвижными брусками. Головку называют – хон, а процесс обработки – хонингование.
Хонингования имеет по сравнению с внутренним шлифованием следующие преимущества: возможна обработка отверстий сложных заготовок, легче достигается правильная цилиндрическая поверхность отверстия (исправляется овальность, конусность и т.п.), так как отсутствует отжим инструмента; не вибраций.
Однако хонингованием нельзя устранить отклонения формы и положения и направления оси отверстия.
49.Фрезерование на ГФ станках.
Горизонтально-фрезерные станки
| Н
| ||
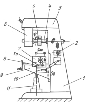
| Горизонтально-фрезерные станки, имеющие поворотную плиту, которая позволяет поворачивать рабочий стол в горизонтальной плоскости, устанавливать его на требуемый угол, называются универсальными. | Рис.1. Общий вид горизонтально-фрезерного станка: 1 – станина; 2 – коробка скоростей; 3 – хобот; 4 – шпиндель; 5 – фреза; 6 – подвеска; 7 – продольный стол; 8 – поперечный стол; 9 – консоль; 10 – коробка подач; 11 – стойка |
51.Плоское шлифование.
Плоское шлифование – основной метод черновой и чистовой обработки плоскостей заготовок.
Существуют два метода плоского шлифования – шлифование пе5риферией круга (рис.12.5,а,в) на станках с прямоугольным и круглым столами,шлифование торцом круга (рис.12.4,в,г) на станках с прямоугольным и круглым столами.
Рис. 12.5. Схемы плоского шлифования:
а, в — периферией круга; б, г — торцом круга; 1 — заготовка; 2 — шлифовальный круг;
3 — прямоугольный стол; 4 — круглый стол
Кинематика движений понятна из рисунка.
53.Нарезание резьбы плашкой.
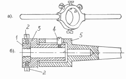
Плашки применяются для нарезания на наружной поверхности резьбы треугольного профиля с шагом до 2 мм. Иногда плашки применяют для калибрования резьбы круглого шага, предварительно нарезанной резцом. Плашка (рис. 7) представляет собой гайку, изготовленную из
и
нструментальной стали и имеющую такую резьбу, для нарезания которой она предназначена.
Рис.8. Плашкодержатели.
а-ручной; б-самоустанавливающийся,машинный.
1-плашка, 2-винт, 3-подвижная оправка,4-штифт,5-корпус с хвостовиком
В этой гайке в зависимости от ее размеров просверлено 3-8 осевых отверстий, пересекающих резьбу. На пересечении поверхностей отверстий с поверхностью резьбы образуются режущие гребенки, за счет фасок на
гребенках под углом формируется заборный конус А, который выполняет работу резания. Цилиндрическая часть резьбы – калибрующая часть Б плашки (5-6 ниток), которая калибрует резьбу по размеру и шероховатости. Плашки используют с двух сторон: после износа заборного конуса с одной стороны плашку поворачивают в плашкодержателе и работу ведут другой стороной.
Плашка крепится в ручном плашкодержателе – воротке (рис. 8, а) или в самоустанавливающемся плашкодержателе (рис. 8, б), который вставляется в пиноль задней бабки, в головку револьверного станка или другое устройство.
В зависимости от износа плашки и вязкости металла заготовки размер резьбы можно регулировать по диаметру, для чего в плашке делают прорезь и регулируют винтами 1 и 2 плашкодержателя (см. рис. 7, в).
При нарезании резьбы плашкой, закрепленной в воротке, плашку подводят к заготовке, поджимая вороток 1 торцом пиноли задней бабки или упором 2, закрепленным в резцедержателе, а рукоятку воротка упирают в планку 3, которая также закреплена в резцедержателе (рис. 9). После нарезания резьбы на всю длину плашка свинчивается с заготовки при реверсировании вращения шпинделя.
Нарезание резьбы плашками выполняется со скоростью резания 2-4 м/мин по стали и до 10 м/мин по цветным металлам.
Круглыми плашками нарезают наружную резьбу как вручную, так и на станках. Поскольку нарезание ведут в один проход, плашки мало пригодны для резьб с крупным шагом. Как и метчики плашки закрепляют в державках и патронах жестких либо плавающих.
55.Нарезание многозаходных резьб.
Нарезание многозаходной резьбы является одной из наиболее трудоемких операций, так как при этом много времени затрачивается на точный поворот детали перед обработкой каждой очередной винтовой канавки (нитки).
Существует несколько способов деления заготовки при нарезании многозаходной резьбы. Рассмотрим наиболее производительные из них.
I.Поворотом заготовки.
а) Весьма просто осуществить деление при помощи поводкового патрона с несколькими пазами (рис.18 , а). Число пазов должно равняться числу ходов винта или быть кратным этому числу. После нарезания одной нитки резьбы заготовку снимают с центров и снова ставят на них таким образом, чтобы хомутик попал в следующий паз поводкового патрона. Затем нарезают вторую нитку.
б) Большое распространение нашел способ нарезания многозаходных резьб при помощи специального делительного патрона (рис.18 , б). Патрон состоит из двух дисков. Первый диск жестко закреплен на шпинделе станка. Второй, в котором при помощи хомутика и скобы крепится заготовка, может поворачиваться относительно первого на любой угол. На первом диске имеется риска, а на втором нанесено 360 делений через 10.
Например, если требуется нарезать 3-х заходную резьбу, то после каждого захода второй диск вместе с заготовкой поворачивают на угол, равный
= 1200, и затем жестко связывают болтами оба диска.
Рис. 18 Нарезание многозаходной резьбы
Этот способ деления применяют для деталей, которые можно обрабатывать в центрах.
в) Перестановкой одного из зубчатых колес винторезной цепи на необходимое число зубьев. При этом шпиндель с деталью поворачивается на
оборота, где К – число заходов резьбы. Чаще всего делительным зубчатым колесом является ведущее зубчатое колесо шпинделя. В этом случае число его зубьев должно быть кратно числу заходов нарезаемой резьбы.
II. При одновременном нарезании многозаходной резьбы несколькими резцами, установленными в специальных державках, деление обеспечивается автоматически. При нарезании двухзаходных ходовых винтов пользуются резцедержателем (рис.18 , в), в котором закреплены два резца. Устанавливаются они по шаблону на расстоянии, точно соответствующему шагу между заходами. Таким образом, оба резца нарезают одновременно две канавки. Очевидно, что для обработки трехзаходной резьбы можно было бы таким же образом установить и три резца.
1 Полуфабрикатом называется изделие предприятия поставщика, подлежащее дополнительной обработке или сборке.
2 Комплектующее изделие – это изделие предприятия-поставщика, применяемое как составная часть изделия, выпускаемого другим предприятием.
















