Часть 1 (1073630), страница 5
Текст из файла (страница 5)
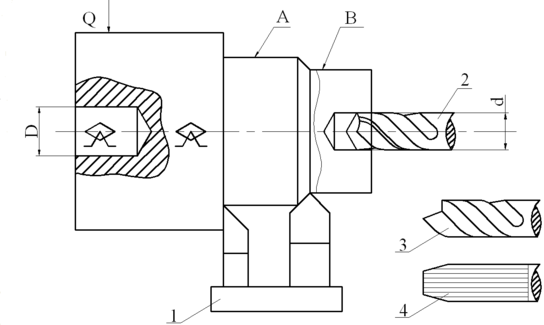
Рис. 1. Многофункциональная обработка.
На рис. 2 показана обработка детали на токарно-револьверном станке за одну операцию. Поверхности А и В обрабатываются точением блоком 1 из 2-х резцов, поверхность С обрабатывается последовательно сверлом 2, зенкером 3 и разверткой 4, поверхность D сверлением. Здесь: одна операция, два установа, один показан на рисунке, второй при повороте заготовки чтобы отверстие D встало в рабочую зону, пять переходов (обработка поверхности A и B – один переход). Как видно процессов обработки много, а операция одна.
-
Типы производства
Как любой оптический прибор состоит из отдельных деталей и сборочных единиц, так и технологический процесс изготовления любого оптического прибора складывается из технологических процессов сборки. Структура технологических процессов изготовления деталей и сборки приборов существенно зависит от типа производства.
Тип производства - классификационная категория производства, выделяемая по признакам широты номенклатуры, регулярности, стабильности и объема выпуска изделий.
Одной из основных характеристик типа производства является коэффициент закрепления операций.
Коэффициент закрепления операций - отношение числа всех различных технологических операций, выполняемых или подлежащих выполнению в течение месяца, к числу рабочих мест.
В зависимости от объема выпуска изделий, их сложности и, главным образом, организации работы производственного участка различают три типа производства: массовое, серийное и единичное.
Массовое производство характеризуется тем, что на рабочих местах производственного участка (заготовительного, механического или сборочного цеха) постоянно, в течение длительного времени (3-4 года) выполняются одни и те же операции по обработке (или сборке) одной и той же детали (или сборочной единицы).
При массовом производстве широко применяется специальное оборудование, которое располагается в той последовательности, в какой следуют операции технологического процесса. Это обеспечивает кратчайший путь деталей при их обработке или сборочных единиц при сборке, поэтому массовое производство часто называют поточным методом производства. Очевидно, что такая организация производства возможна только при больших объемах выпуска изделий. Себестоимость продукции низкая.
Коэффициент закрепления для массового производства равен 1.
Серийное производство характерно тем, что за каждым станком или рабочим местом закреплено несколько однородных операций, а на участке обрабатываются (или собираются) несколько различных деталей (или сборочных единиц). В этом случае детали обрабатываются партиями, причем процесс изготовления партии деталей регулярно повторяется через определенные промежутки времени. После обработки партии одних деталей необходима переналадка оборудования для обработки партии других деталей. Поэтому в серийном производстве используются преимущественно универсальные станки со специальными или переналаживаемыми приспособлениями.
В зависимости от числа различных деталей, обрабатываемых на участке и количества деталей в партиях, различают крупносерийное, среднесерийное и мелкосерийное производство. Крупносерийное производство по организации приближается к массовому производству, а мелкосерийное - к единичному.
Коэффициент закрепления операций принимают равным:
-
для мелкосерийного производства - свыше 20 до 40 включительно;
-
для среднесерийного производства – свыше 10 до 20 включительно;
-
для крупносерийного производства – свыше 1 до 10 включительно.
Цикл изготовления продукции более длительный, чем в массовом производстве, а себестоимость выпускаемой продукции выше.
Единичное производство характеризуется большой номенклатурой самых разнообразных деталей (сборочных единиц) изготавливаемых (или собираемых) на участке, каждая из которых выпускается в единичных экземплярах, причем процесс изготовления (сборки) этих деталей (сборочных единиц) совсем не повторяется, либо повторяется через определенные промежутки времени.
Рационально использовать юстировочные и нормализованные приспособления, режущие и измерительные инструменты. На станках работают высококвалифицированные рабочие, что вызывается необходимостью выполнять разнообразные работы по изготовлению разных деталей. Цикл изготовления продукции наиболее длительный, а поэтому очень высокая себестоимость продукции.
Для промышленности, выпускающей оптические приборы, характерным является серийное производство. Но вместе с тем, на заводах имеются участки массового производства (например, участки сборки любительской кино-, фотоаппаратуры) и участки единичного производства (например, в инструментальных цехах и цехах опытного производства).
4. Структура производственного процесса изготовления оптического прибора
Производственный процесс изготовления оптического прибора складывается из трех основных этапов, отличных по содержанию работ и месту их выполнения, и вспомогательных:
1) получение заготовок деталей прибора (например, вырубка лепестков ирисовой диафрагмы, отливка корпуса фотоаппарата и т.п.);
2) обработка заготовок и получение готовых деталей (обработка заготовок на металлорежущих станках, шлифование и полирование линз, термическая обработка, нанесение покрытий и т.п.);
3) сборка из обработанных деталей и узлов, механизмов и приборов в целом;
4) транспортирование, хранение и т.д.
Первый этап выполняется в заготовительных цехах, второй – в механических, оптических цехах, в цехах покрытий, термической обработки и т.п.; третий этап выполняется сборщиками в сборочных цехах.
Сборка является заключительным этапом изготовления прибора, на котором из отдельных деталей собирается готовый прибор – конечная цель работы всего коллектива завода. Поэтому сборка – наиболее ответственный этап в изготовлении прибора. От качества выполнения сборочных работ существенно зависит качество выпускаемого прибора.
Современный оптический прибор обычно состоит из оптических деталей и узлов (линз, призм, светофильтров и т.п.), составляющих оптическую часть прибора; деталей механизмов (зубчатые колеса, кулачки, направляющие и т.п.), составляющих механическую часть прибора; электронной части, в которую входят приемники лучистой энергии, усилители, генераторы, электродвигатели и т.п.
Сборка каждой части оптического прибора обычно выполняется на различных сборочных участках.
На участке механической сборки выполняют соединение механических деталей в узлы и механизмы (редуктора, отсчетные устройства, кулачковые механизмы и т.п.), проверка их работы и регулировка.
На электромонтажном участке выполняют сборку электронных узлов прибора, которые обычно собираются на отдельных монтажных платах. На них устанавливаются и закрепляются элементы электронной части прибора (резисторы, конденсатора, полупроводниковые приборы, панели для закрепления ламп и т.п.), осуществляется их электрическое соединение с помощью монтажных проводов или другими способами, производится проверка и регулировка электрических узлов.
Сборка оптической части прибора обычно осуществляется при окончательной сборке, где оптические детали определенным образом соединяются с механическими деталями, образуя оптическую схему прибора. Часть оптических деталей поступает на окончательную сборку в виде сборочных единиц (например, линза в оправе, призма в призмодержателе и т.п.). Такие сборочные единицы собираются на отдельных участках. На окончательной сборке производится установка всех механизмов, узлов и деталей прибора в заданное положение, электрическое соединение электронных узлов и блоков, необходимая регулировка положения оптических деталей, т.н. юстировка, контроль и приемка собранного прибора.
5 Понятие о точности обработки
Характеристики и категории точности
Характеристикой точности является ее мера
Существует три категории точности обработки заданная, ожидаемая и действительная.
Заданная точность задается конструктором в чертеже детали. Мерой точности в этом случае будет допуск на размер.
Ожидаемая точность получается в результате расчета. Число, которое входит или не входит в поле допуска заданного размера.
Действительная точность получается в результате измерения готовой детали. Меру точности нельзя определить по одному измерению. Она определяется по измерению партии деталей и мерой ее является поле рассеяния.
Методы обеспечения заданной точности
В процессе обработки пытаются обеспечить какими либо способами заданную точность.
Различают два метода обеспечения точности при обработке
Метод пробных ходов и промеров
Обработка на настроенном станке.
Пусть требуется обработать первым методом заготовку до диаметра d на длину l (см. рис.3). Правая часть заготовки обрабатывается на малую длину до диаметра
Рис.3 Схема, поясняющая сущность метода пробных ходов промеров
d1, снимается тонкий слой материала, как говорят производственники «пропылили». Затем резец продольной подачей отводится вправо, измеряется диаметр d1 и вычисляется новая глубина резания t = (d – d1)/2
После этого резец по лимбу подается на t и осуществляется обработка на длину l/
. Эту процедуру надо повторять при обработке каждой новой детали.
По второму методу резец заранее устанавливается на выполнение заданных размеров (например тем же методом пробных ходов и промеров) и при этой настройке обрабатывается партия деталей.
l.КОНЕЦ ГЛАВЫ
Процессы получения заготовок
литье
штамповка
пластмассы
металлокерамика
базирование
все резание
резьбы см. файл резьбы
1 Я извиняюсь перед читателем за то, что привел это лукавое гостовское определение. Еще никто не смог определить какой процесс является оптимальным. Все сложно связано: процесс и конструкция детали. По ГОСТ самая технологичная конструкция – это кирпич. См. глава 3.
2 На практике и в литературе их называют также условиями пониженной, средней и повышенной точности.
3 Полуфабрикатом называется изделие предприятия поставщика, подлежащее дополнительной обработке или сборке.
4 Комплектующее изделие – это изделие предприятия-поставщика, применяемое как составная часть изделия, выпускаемого другим предприятием.
















