Часть 1 (1073630), страница 2
Текст из файла (страница 2)
В КУ можно выделить соединения деталей (СД) - элементарные сборочные единицы, состоящие из двух или нескольких деталей, находящихся в непосредственном физическом контакте друг с другом. Первичными элементами СД, а, следовательно, и ОП, являющимися простейшими объектами конструирования, являются детали (Д) - конструктивные элементы, выполняемые из однородного материала (в результате его обработки) без соединения с другими конструктивными элементами (без применения сборочных операций).
Методы и принципы конструирования элементов ОП различного уровня сложности имеют существенные различия, поэтому их изучение обычно начинают с деталей, переходя от простого к более сложному, и заканчивают ФУ.
1.1.3.Структурные элементы деталей
Структурные элементы детали в данном подразделе рассматриваются кратко, лишь некоторые общие, а также специфические вопросы конструирования деталей, так как студентам (и прочим читателям) они, как правило, в известной степени знакомы из других учебных курсов и публикаций. Как было сказано, детали являются простейшими объектами конструирования. Они представляют собой однородные неделимые тела, состоящие из элементов формы (геометрических поверхностей тел) и материала.
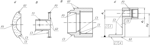
В каждой детали различают следующие структурные элементы (поверхности): рабочие (активные), базовые, соединительные (свободные) и технологические.
Рабочие элементы (РЭ) (их называют также активными или исполнительными поверхностями) непосредственно выполняют заданные функции детали. Например, РЭ являются сферические поверхности линзы (рис 5,а); эвольвентная поверхность зубчатого венца колеса (рис. 5,6), плоская и цилиндрическая поверхности гнезда оправы линзы (рис. 5,в). Эти поверхности, как правило, тщательно обрабатываются, и к ним предъявляются высокие требования: точность расположения, погрешность формы, чистота поверхности, размеры и т.п.
Базовые элементы (БЭ) обеспечивают координацию детали (т.е. координацию ее РЭ) относительно других деталей и представляют собой поверхности, по которым деталь сопрягается (соединяется) с базовой деталью (см. рис. 5). Данные поверхности изготавливаются также весьма тщательно.
Рис. 5. Структурные элементы детали: а) линза, б) зубчатое колесо, в) оправа, г) стойка.
Соединительные элементы (СЭ) (их называют часто свободными) служат для обеспечения материальной связи между рабочими и базовыми элементами (см. рис. 5). К СЭ не предъявляются высокие требования к тщательности и точности изготовления (за исключением требований к чистоте поверхностей, когда это обусловлено эстетическими показателями качества детали).
Технологические элементы (ТЭ) служат для обеспечения технологического процесса изготовления и последующей сборки детали (например, фаски, галтели, выточки, центровые отверстия в валиках и т.п.). Для линзы (см. рис 5, а) ТЭ являются фаски, устраняющие выколки, появляющиеся на кромках при ее шлифовке; для зубчатого колеса (см. рис. 5, б) ТЭ является резьбовое отверстие под стопорный винт для фиксации зубчатого колеса на валике при рассверливании отверстия под штифт; в оправе линзы (см. рис. 5, в) ТЭ является резьба (и канавка для выхода резьбы) для закрепления оправы (с линзой) в центрировочном патроне (см. рис. 42).
Следует отметить, что одни и те же поверхности (части поверхностей) могут выполнять роль РЭ, БЭ и СЭ. Наиболее благоприятным считается вариант, когда в конструкции удается объединить РЭ и БЭ, минимизировать СЭ.
1.1.4.Конструктивные характеристики детали
Процесс конструирования детали заключается в выборе материала, формы ее поверхностей и определения ее размеров. Кроме этого, конструктор должен указать допустимые отклонения характеристик материала, погрешности изготовления размеров и форм, тип покрытий, вид обработки, технические и технологические условия и требования (например, азотирование, закалка, старение и т.п.).
Итак, конструктивные характеристики детали: МАТЕРИАЛ, ФОРМА, РАЗМЕРЫ.
Ниже приводятся общие аспекты названных характеристик. Более подробный обзор приводится при описании технологических методов.
Выбор материала производится исходя из: функционального назначения детали; условий ее эксплуатации; рациональной технологии изготовления; стоимости и дефицитности материала; требований эргономики и эстетики.
Конструктор руководствуется при этом номенклатурой, сортаментом и физико-механическими свойствами конструкционных материалов (табл. 1).
Например, если конструируется линза, то ее материал должен быть прозрачным для рабочего диапазона длин волн света. Если линза будет эксплуатироваться в условиях тропического или морского климата, необходимо выбрать материал, стойкий к воздействию влаги, грибков, соли и других вредных факторов. Исходя из условия минимизации массы, возможности получения линзы литьем, она могла бы быть изготовлена из органического стекла (если это не нарушает других показателей качества детали).
При выборе материала деталей, взаимодействующих с человеком как непосредственно, так и косвенно, учитываются эргономические показатели: гигиенические, антропометрические и психофизиологические (уровень шума, амплитуда и частота вибраций, температура, возможность получения оптимальной формы, усилия, контраста и т.п.).
Свойство материала обуславливает также достижение соответствия формы внешних деталей их назначению, качество и совершенство отделки, возможность нанесения декоративных покрытий и другие эстетические показатели. В общем случае решение задачи по выбору материала детали является многовариантным, так как требования к ее точности, надежности, массе, прочности, жесткости, экономичности, эстетичности и др. вступают в противоречие друг с другом, которое приходится преодолевать, оптимизируя выбор материала с помощью ранжирования значимости показателей качества детали и свойств материала. Весьма часто выбор материала производится с помощью расчета необходимых значений некоторых его характеристик по требуемым показателям качества (например, марок и оптических констант стекла по допустимым аберрациям системы, модуля упругости материала валика по его Допустимым деформациям, коэффициента линейного расширения материала по допустимым изменениям размеров детали при изменении температуры и т.п.).
Выбор формы ограничивающих деталь поверхностей осуществляют исходя из функционального назначения, технологии изготовления, эстетических и эргономических требований, конструктивной целесообразности.
Таблица I.
Физико-механические и технологические свойства материалов
| Оптические: | 1. Оптические постоянные |
| 2. Спектральные характеристики | |
| 3. Поляризационные характеристики | |
| Механические: | 1. Плотность |
| 2. Упругость | |
| 3. Твердость | |
| 4. Износостойкость | |
| 5. Прочность | |
| Тепловые: | 1. Коэффициент литейного расширения |
| 2. Теплопроводность | |
| 3. Теплоемкость | |
| 4. Термооптическая постоянная | |
| 5. Термостойкость | |
| Коррозионные свойства и устойчивость: | 1. Налетоопасность |
| 2. Радиационная устойчивость | |
| 3. Коррозионная стойкость | |
| 4. Водопоглощаемость | |
| Электромагнитные: | 1. Удельное электрическое сопротивление |
| 2. Коэрцитивная сила | |
| 3. Магнитная проницаемость | |
| 4. Пробивная электрическая прочность | |
| Фрикционные: | 1. Коэффициент трения |
| 2. Коэффициент трения качения | |
| 3. Коэффициент сцепления | |
| Технологические: | 1. Пластичность |
| 2. Свариваемость | |
| 3. Моллируемость | |
| 4. Прессуемость (ковкость) | |
| 5. Обрабатываемость резанием | |
| 6. Литейные свойства: жидкотекучесть, кристаллизация, усадка, газы, ликвация, напряжение |
Выбор формы детали сводится к выбору поверхности и набора типовых поверхностей: плоскость, цилиндр, сфера и группа специальных поверхностей – параболоид, эллипсоид, тор, эвольвента и т.д.
Форма рабочих элементов типовых деталей довольно часто бывает вполне определенной. Примером могут служить сферические поверхности линз, плоские поверхности преломляющих и отражающих граней призм, эвольвентные поверхности зубьев зубчатого колеса, спиральный профиль кулачка и т.п.. Рабочие элементы оригинальных деталей выполняют в виде специальных поверхностей, например, параболическими, эллиптическими, торическими и т.д.
Форма базовых, свободных и технологических элементов обычно представляет собой типовые поверхности — плоскость, цилиндр, конус, сферу — для оптических.
Более технологичными являются типовые поверхности, получаемые при обработке деталей на универсальном оборудовании типовым инструментом.
Специальные поверхности получают, используя фасонный инструмент, специализированное оборудование, оснастку, технологические процессы и контроль, что существенно снижает их технологичность по сравнению с типовыми.
Следует помнить, что точность формы поверхности снижается с увеличением ее протяженности, при дискретном (зонном) процессе обработки поверхности по сравнению с непрерывным процессом, при увеличении числа параметров, которые нужно выдержать при обработке.
Форма поверхностей детали влияет на эргономические показатели, определяет их внешний вид, выразительность элементов и композиции, связана с качеством и совершенством отделки. Параметры формы могут быть получены эвристически, расчетным путем, исходя из условий стандартизации и унификации, технологических возможностей производства и т.п. (например, радиусы кривизны сферических поверхностей линз определяют из аберрационного расчета и ГОСТ на них, угол конуса конической или дугообразной поверхности центрового отверстия детали назначают, исходя из типа детали, ее массы, требований к точности обработки и ГОСТ 14034-74).
Определение размеров детали производится с учетом большого числа факторов, среди которых следует выделить: функциональную точность; параметрическую надежность; жесткость; компактность; эстетичность и эргономичность; технологичность; требования стандартизации и унификации; массу и используемый сортамент материала.
Размеры делят на две группы функциональные – те, которые обеспечивают выполнение функции детали и свободные – те, которые принадлежат свободным или технологическим элементам детали. Конструктор, руководствуясь вышеперечисленными факторами, выбирает или рассчитывает необходимые размеры структурных элементов детали.
В наиболее ответственных случаях детали подвергаются тщательному расчету (а иногда и экспериментальным исследованиям) по математическим моделям, связывающим ее размеры (и параметры формы) с требуемыми показателями качества, компоновкой, условиями эксплуатации, производства и другими ограничениями. Как правило, это детали, определяющие точность функционирования, качество создаваемого изображения, испытывающие значительные статические, динамические, тепловые нагрузки ( например, детали астрономических, военных, космических приборов).
Для оптических деталей, например, подобными расчетами (габаритно-аберрационными) определяют размеры (и расположение) рабочих элементов.
















