Главное достоинство дизельных двигателей (1066369), страница 4
Текст из файла (страница 4)
| Рис.8 | Варианты работы планетарного ряда в режиме передачи заднего хода. |
Поскольку для планетарных механизмов второго класса внутреннее передаточное отношение отрицательное, то получаем редуктор с отрицательным передаточным отношением.
Второй. Пусть большое центральное колесо будет ведущим звеном планетарного ряда, водило - остановлено (
3=0), а малое центральное колесо - ведомым звеном (рис.8а). Тогда
Т.е. получаем мультипликатор с отрицательным передаточным отношением (посколькуi12<0).
Гидравлическая муфта
[править]
Материал из Википедии — свободной энциклопедии
(Перенаправлено с Гидромуфта)
Текущая версия страницы пока не проверялась опытными участниками и может значительно отличаться от версии, проверенной 6 марта 2010; проверки требуют 17 правок.
Не следует путать с Вязкостная муфта.
Гидравлическая муфта (гидромуфта, турбомуфта) — вид гидродинамической передачи, в которой, в отличие от механической муфты, отсутствует жёсткая кинематическая связь между входным и выходным валом, и, в отличие от гидротрансформатора, отсутствует реактор.
Содержание[убрать]
|
[править]Конструкция и принцип действия
Гидравлическая муфта
Колесо, соединённое с ведущим валом, называется насосным колесом, а колесо, соединённое с ведомым валом, называется турбинным колесом.
В отличие от гидротрансформатора, моменты на насосном и турбинном колёсах всегда практически одинаковы.
Фактически насосное колесо представляет собой лопастной насос, турбинное — лопастной гидравлический двигатель. Оба эти колеса находятся в одном герметичном корпусе и максимально сближены друг с другом (но не соприкасаются), и жидкость при вращении насосного колеса попадает непосредственно на турбинное колесо, сообщая последнему вращающий момент.
Коэффициентом трансформации гидромуфты называют отношение угловой скорости ведомого вала к угловой скорости ведущего вала:
где ω2, — угловая скорость ведомого вала; ω1 — угловая скорость ведущего вала.
Также можно утверждать, что коэффициент трансформации равен отношению частоты вращения ведомого вала к частоте вращения ведущего вала.
Учитывая равенство моментов на ведущем и ведомом валах, можно записать, что КПД гидромуфты равен коэффициенту трансформации:
где N2 и N1 — мощность, соответственно, на ведомом и ведущем валах; M2 и M1 — момент вращения на ведомом и ведущем валах.
Гидромуфты применяются в коробках передач автомобилей, некоторых тракторов, в авиации и других областях техники.
Перед механическими муфтами, гидромуфты имеют те преимущества, что ограничивают максимальный передаваемый момент, и таким образом, предохраняют приводной двигатель от перегрузок (что особенно важно при пуске двигателя), а также сглаживают пульсации момента.
Однако КПД гидравлической муфты ниже, чем КПД механической.
Му́фта — устройство (деталь машины), предназначенное для соединения друг с другом концов валов, а также валов и свободно сидящих на них деталей и передачи крутящего момента. Служат для соединения двух валов, расположенных на одной оси или под углом друг к другу.
Муфта передаёт механическую энергию без изменения её величины.[1]
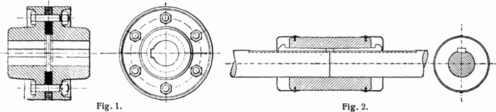
Жёсткая фланцевая и втулочная муфта.
Содержание[убрать]
2 Примеры конструктивных исполнений унифицированных муфт
3 Полезные госты и другие стандарты 4 Литература 5 Примечания |
[править]Система классификации муфт
[править]По видам управления
-
Управляемые — сцепные, автоматические
-
Неуправляемые — постоянно действующие.
[править]По группам муфт (механические)
-
Жёсткие (глухие) муфты:
-
втулочные (по ГОСТ 24246-80) ;
-
фланцевые (по ГОСТ 20761-96);
-
продольно-свёртные (по ГОСТ 23106-78).
-
-
Компенсирующие муфты — компенсируют радиальные, осевые и угловые смещения валов:
-
шарнирные муфты — угловое смещение до 45° (по ГОСТ 5147-97)
-
зубчатые;
-
цепные (по ГОСТ 20742-93).
-
-
Упругие муфты — компенсация динамических нагрузок:
-
муфты с торообразной оболочкой (по ГОСТ 20884-93);
-
втулочно-пальцевые (по ГОСТ 21424-93);
-
муфты со звёздочкой (по ГОСТ 14084-93).
-
-
Сцепные муфты — соединение или разъединение валов или валов с установленными на них деталями.
-
муфты кулачково-дисковые (по ГОСТ 20720-93);
-
кулачковые муфты;
-
фрикционные.
-
-
Самоуправляемые (автоматические) муфты:
-
обгонные муфты — передача вращения только в одном направлении;
-
центробежные — ограничение частоты вращения;
-
предохранительные муфты — ограничение передаваемого момента (с разрушающимся элементом и автоматические).
-
-
Гидравлические (гидродинамические).
-
Электромагнитные и магнитные.
-
На текстильных застёжках.
[править]Примеры конструктивных исполнений унифицированных муфт
[править]Жёсткие фланцевые и втулочные муфты
В жёсткой фланцевой муфте применяется болтовое соединение фланцев. Во втулочной муфте применяется жёсткая втулка, соосно соединяющая друг с другом два вала.[2]
[править]Гидравлическая муфта
Гидравлическая муфта — устройство, в котором валы не имеют жёсткой механической связи и передача механической энергии происходит под действием потока рабочей жидкости (масла) от насосного колеса к турбинному колесу. Особенность гидравлической муфты в том, что она ограничивает максимальный момент, сглаживает пульсации, устраняет перегрузку двигателя при пуске и разгоне.
[править]Электромагнитная и магнитная муфта
Электромагнитная и магнитная муфта — валы также не имеют жесткой механической связи и кроме того она позволяет передавать механическую энергию через герметическую стенкуабсолютно без утечек. Одно из применений в центробежных насосах для перекачки опасных жидкостей.
Фрикционная муфта
[править]
Материал из Википедии — свободной энциклопедии
Трансмиссия танка Чи-Ну, в нижней части изображения видны два бортовых фрикциона
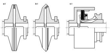
Конструкции фрикционных муфт: a) дисковая; b) конусная; c) многодисковая
Фрикцио́нная му́фта (устар. — фрикцио́н) — устройство передачи вращательного движения посредством трения.
Содержание[убрать]
4 См. также 5 Литература |
[править]Принцип работы
По назначению фрикционные муфты могут быть сцепными и предохранительными.
Сцепная фрикционная муфта (муфта сцепления) предназначенная для разъединения и плавного соединения входного и выходного валов посредством трения.
Во время включения в работу сцепных фрикционных муфт крутящий момент на ведомом валу возрастает поступательно и пропорционально увеличению силы взаимного прижатия поверхностей трения. Это позволяет соединять валы под нагрузкой и со значительной начальной разницей их угловых скоростей. В процессе включения муфта пробуксовывает, а разгон ведомого вала осуществляется плавно без ударов.
Предохранительная муфта предназначена для разобщения входного и выходного валов в случае превышения предельной величины крутящего момента.
По типу трущихся поверхностей различают муфты дисковые, конусные, барабанные, барабанно-ленточные.
По способу создания сил трения различают муфты с пружинным, грузовым, центробежным, кулачковым, гидравлическим, пневматическим и электромагнитным нажимом.
По типу сил трения различают муфты сухого трения и муфты, работающие в масле.
[править]Классификация фрикционных муфт
Фрикционные муфты по форме рабочих поверхностей бывают следующих видов:
-
дисковые, рабочими поверхностями которых являются плоские торцевые поверхности дисков;
-
конусные,
-
цилиндрические.
Конусная фрикционная муфта
[править]Фрикционная муфта гусеничного трактора (на примере Т-130)
Служит для отсоединения одного из бортов при повороте.
[править]Устройство
-
Ведущий барабан.
-
Ведущие диски.
-
Ведомый барабан.
-
Ведомые диски.
-
Нажимные пружины.
-
Стяжные пальцы.
-
Отжимной диск.
-
Выжимной подшипник.
-
Вилка выключения муфты.
[править]Принцип действия
При прямолинейном движении – пакет дисков прижат отжимным диском за счёт пружин и вращение передаётся от центральной передачи через фрикционную муфту на бортовой редуктор. При повороте – усилие от рычага управления передаётся через сервомеханизм на вилку выключения муфты. Вилка оттягивает выжимной подшипник и отжимной диск. Он отходит от пакета дисков и освобождает их, при этом сжимаются пружины. Ведущие диски начинают пробуксовывать относительно ведомых. Борт становится неведущим, а другой (ведущий) борт начинает заворачивать трактор.
Гидроподжимная муфта
[править]
Материал из Википедии — свободной энциклопедии
Гидроподжимная муфта (сокр. ГПМ) — фрикционная муфта сцепления, использующая в качестве нажимного устройства гидравлический цилиндр. Нашли широкое применение вавтоматических коробках передач автомобилей и гидравлически управляемых коробках передач тракторов, самоходных машин, бронетехники.














