Глава2-n_123 (1064611)
Текст из файла
Глава 2.
Электрические цепи однофазного синусоидального тока.
2.1. Синусоидальный ток и основные характеризующие его величины.
Синусоидальным током называют ток, изменяющийся во времени по синусоидальному закону (рис. 2.1):
Ток i(t) называют мгновенным. Максимальное значение тока называют амплитудой и обозначают
. Период Т – это время, за которое совершается одно полное колебание. Частота равна числу колебаний в секунду
, единица частоты
- герц (Гц).
Угловая частота
, единица угловой частоты рад/с или
.Аргумент синуса, т.е.
, называют фазой. Фаза характеризует состояние колебания в данный момент времени t.
Любая синусоидальная функция характеризуется тремя величинами: амплитудой, угловой частотой и начальной фазой.
Синусоидальные токи и ЭДС сравнительно низких частот, до нескольких килогерц, получают с помощью синхронных генераторов (их изучают в курсе электрических машин). Синусоидальные токи и ЭДС высоких частот получают с помощью ламповых и полупроводниковых генераторов, подробно рассматриваемых в разделе – электроника.
2.2. Среднее и действующее значение синусоидальных тока и ЭДС.
Принято среднее значение функции времени определять за период
Для синусоидальной функции среднее значение за период равно нулю.
Используется также понятие среднего значения синусоидальной функции за полпериода:
Аналогично, среднее значение ЭДС за полпериода
.
Действующим значением синусоидальной функции называется ее среднеквадратичное значение за период
Большинство измерительных приборов амперметров и вольтметров показывают действующее значение измеряемой величины.
2.3. Сложение синусоидальных функций времени. Векторные диаграммы. Основы символического метода расчета.
Пусть требуется сложить два тока:
Тригонометрическому уравнению (1) можно дать геометрическую интерпретацию, если каждому синусоидальному значению поставить в соответствие вектор на плоскости в координатах x, y, рис. 2.2а. Длиной вектора будет амплитуда тока, а фазой – начальная фаза синусоиды
. Совокупность векторов, соответствующая уровням токов или напряжений, называется векторной диаграммой.
Уравнению (1) можно поставить в соответствие другое уравнение, в котором каждая синусоида будет представлена в виде комплексного числа.
Ток
можно записать по формуле Эйлера:
С учетом (2) уравнение (1) примет вид:
Уравнение (3) содержит два типа комплексных чисел:
Прямые:
и сопряженные:
и может быть записано для каждой группы в отдельности, например,
Исключая общие множители
и
, получим:
или
Комплексное число
называется током в комплексной форме или комплексом тока по максимальному значению. Здесь
- модуль комплекса по максимальному значению, а
- фаза комплекса.
Если за модуль комплекса принять не амплитудное, а действующее значение, то получим комплекс по действующим значениям
или просто комплекс тока.
Уравнение (5) для комплексов тока примет вид:
Геометрическая интерпретация уравнения (6) на комплексной плоскости приведена на рис. 2.2.б. Это так называемая комплексная векторная диаграмма является с учетом масштаба точным аналогом векторной диаграммы, приведенной на рис.2.2.a.
Комплекс тока
называют символом мгновенного тока i(t), а метод составления уравнений в комплексной форме – комплексным или символическим.
Забегая вперед, отметим, что расчет цепей комплексным методом имеет значительные преимущества перед методом расчета по мгновенным значениям.
2.4. Пассивные элементы электрической цепи.
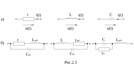
Резистор r , индуктивность L и емкость C являются пассивными элементами электрической цепи. Резистор r или активное сопротивление цепи – это элемент, в котором происходит рассеивание энергии в виде тепла или превращение электрической энергии в другой вид энергии: в световую, химическую или механическую.
Индуктивность L и емкость C называются реактивными элементами цепи, в них происходят накапливание энергии в виде магнитного или электрического поля. Рассеивание энергии в таких элементах отсутствует. Идеальные элементы r, L, C на схеме обозначаются так, как это показано на рис. 2.3а.
Реальные катушки индуктивности и конденсаторы рассеивают часть энергии. Этот факт учитывается с помощью добавочных сопротивлений
для катушки и
для конденсаторов, рис. 2.3б. В проволочных сопротивлениях и катушках индуктивности учитывают также межвитковую емкость
, рис 2.3б.; в реальном конденсаторе можно учесть паразитную индуктивность подводящих контактов
, рис. 2.3б.
Рассматривая пассивные элементы цепи r , L, C ответим на следующие вопросы:
-
Каково соотношение между мгновенным значением тока и напряжения на каждом элементе? Каков вид векторов тока и напряжения?
-
Каковы мгновенная мощность p(t) и накопленная энергия магнитного или электрического полей?
-
Каково соотношение тока и напряжения на элементе в комплексной форме, как изображаются вектора тока и напряжения на комплексной плоскости.
Под мгновенным значением мощности p(t) понимают произведение мгновенного значения напряжения u(t) на элементе цепи на мгновенное значение протекающего по элементу тока i(t):
2.5. Резистивный элемент.
2.5.1. Пусть ток в резисторе:
Мгновенное значение напряжения на резисторе:
Векторы тока и напряжения на резисторе приведены на рис. 2.4б. Закон Ома для резистора имеет вид:
2.5.2. Мгновенная мощность p(t) равна:
Временные диаграммы i(t), u(t), p(t) приведены на рис.2.4в. Мощность р(t) имеет постоянную составляющую или среднее значение, называемое активной мощностью Р:
Активная мощность Р измеряется в ваттах (Вт).
2.5.3. В комплексной форме напряжение на резисторе записывается в виде
Векторы тока и напряжения на комплексной плоскости приведены на рис. 2.4г.
2.6. Индуктивный элемент в цепи синусоидального тока.
Индуктивный элемент учитывает явления накапливания энергии магнитного поля и характеризуется зависимостью потокосцепления
от тока i:
2.6.1. Мгновенное значение напряжения на индуктивности:
Здесь
- ЭДС, наводимая изменяющимся во времени магнитным потоком.
Если принять ток в катушке
, то напряжение запишется в виде:
Векторы тока и напряжения показаны на рис. 2.5б. Напряжение опережает ток в катушке на угол
. Закон Ома для индуктивности:
где
- индуктивное сопротивление катушки, измеряется в Омах (Ом). Сопротивление
- частично зависимая величина, увеличивается с ростом частоты, рис. 2.5в.
2.6.2. Мгновенная мощность:
Мощность
называется реактивной и измеряется в вольт-амперах реактивных (ВАр). Временные диаграммы w(t), i(t) и p(t) для катушки приведены на рис. 2.5г. Средняя мощность равна нулю, т.е. рассеивание мощности или потери отсутствуют. Энергия магнитного поля катушки равна:
Временная диаграмма W(t), приведена на рис. 2.5д. Максимальная энергия магнитного поля катушки:
2.6.3. Напряжение на индуктивности в комплексной форме.
Так как напряжение на катушке:
Здесь
- индуктивное сопротивление в комплексной форме.
Оператор
отражает дифференцирование напряжения на индуктивности.
Закон Ома в комплексной форме:
Вектора тока и напряжения на комплексной плоскости приведены на рис. 2.5е.
2.7. Емкостный элемент в цепи синусоидального тока.
Емкость отражает явление накапливания электрического поля и характеризуется зависимостью заряда q от напряжения u :
2.7.1. Мгновенное значение напряжения на конденсаторе:
Пусть
, тогда напряжение на конденсаторе:
Это напряжение отстает от тока на угол
.
Векторы тока и напряжения приведены на рис.2.6б.
Закон Ома для емкости:
где
- емкостное сопротивление, измеряется в омах (Ом).
Емкостное сопротивление уменьшается с ростом частоты. Зависимость
от частоты приведена на рис. 2.6.в.
2.7.2. Мгновенная мощность на конденсаторе:
Q – реактивная мощность конденсатора. Временные диаграммы
, i (t), p (t) приведены на рис. 2.6г.
Среднее значение мощности равно нулю, т.е. рассеивание мощности или потери отсутствуют. Энергия электрического поля в конденсаторе равна:
Максимальная энергия электрического поля равна:
2.7.3. Напряжение на емкости в комплексной форме.
Здесь
- емкостное сопротивление в комплексной форме.
Оператор
отражает интегрирование тока в формуле напряжения на емкости.
Закон Ома в комплексной форме
или
. Векторы
и
приведены на рис. 2.6е.
2.8. Последовательное соединение элементов r, L, C.
Характеристики
Тип файла документ
Документы такого типа открываются такими программами, как Microsoft Office Word на компьютерах Windows, Apple Pages на компьютерах Mac, Open Office - бесплатная альтернатива на различных платформах, в том числе Linux. Наиболее простым и современным решением будут Google документы, так как открываются онлайн без скачивания прямо в браузере на любой платформе. Существуют российские качественные аналоги, например от Яндекса.
Будьте внимательны на мобильных устройствах, так как там используются упрощённый функционал даже в официальном приложении от Microsoft, поэтому для просмотра скачивайте PDF-версию. А если нужно редактировать файл, то используйте оригинальный файл.
Файлы такого типа обычно разбиты на страницы, а текст может быть форматированным (жирный, курсив, выбор шрифта, таблицы и т.п.), а также в него можно добавлять изображения. Формат идеально подходит для рефератов, докладов и РПЗ курсовых проектов, которые необходимо распечатать. Кстати перед печатью также сохраняйте файл в PDF, так как принтер может начудить со шрифтами.
или 















