ЛР1. Моделирование работы многорежимного буферного регистра. Моделирование работы двунаправленных интерфейсных шин (1058373)
Текст из файла
МОСКОВСКИЙ ГОСУДАРСТВЕННЫЙ ТЕХНИЧЕСКИЙ УНИВЕРСИТЕТ им. Н.Э.Баумана
А.Н. Аксёнов, В.И. Виноградов, С.Б. Спиридонов
Лабораторная работа № 1
по курсу "Микропроцессоры в управляющих системах"
Москва 2013 г.
Исследование многорежимного буферного регистра.
Цель работы: Ознакомиться с особенностями функционирования многорежимного буферного регистра 589ИР12 в процессах приема и выдачи информации, освоить методику выбора и кодирования требуемого режима работы регистра.
Краткие теоретические сведения:
Исследуемый в данной работе многорежимный буферный регистр (МБР), входит в состав микропроцессорного комплекта, выполненного на основе транзисторно-транзисторной логики с диодами Шоттки (ТТЛШ). Все микросхемы этой серии совместимы с ТТЛ ИС, что обусловливает их широкое применение.
Многорежимный буферный регистр (МБР) является 8-разрядным устройством с вентильными каскадами, имеющими три устойчивых состояния, и логикой для управления и выборки кристалла. В состав МБР входит также триггер прерываний (ТП), предназначенный для выработки сигналов прерывания в МП.
МБР размещен в корпусе с 24 выводами. Внешние его выводы имеют следующее назначение:
Д1 - Д8 — входная 8-разрядная шина данных;
Q1- Q8 — выходная 8-разрядная шина данных;
ВК1 и ВК2 — входы выборки кристалла;
ВР - вход, сигнал на котором определяет режим работы МБР;
С - вход для подачи сигнала строба;
ЗПр — выход запроса на прерывание;
R - вход для сброса МБР в нуль;
+5 - вход для подачи напряжения питания +5 В;
Корпус—вход для подключения отрицательного вывода источника
питания (Земля).
Функциональная схема МБР К589ИР12 приведена на рис. 2.1. Он включает 8 триггеров D-типа (Т1—Т8), сбрасываемых нулевым сигналом на входе R и принимающих информацию с входной шины Д по внутреннему управляющему сигналу ПР. Выдача информации на выходную шину Q производится по внутреннему сигналу Выд. При нулевом значении этого сигнала вентили с тремя состояниями находятся в состоянии высокого сопротивления.
Входные сигналы ВК1, ВК2, ВР и С предназначены для управления выборкой кристалла, приемом данных со входной шины, выдачей данных на выходную шину и работой триггера прерываний (ТП).
Выборка кристалла производится при нулевом сигнале на входе ВК1 и единичном на входе ВК2. При этом открываются выходные вентили, и информация, хранящаяся в МБР, появляется на выходной шине. Одновременно устанавливается триггер прерываний.
Сигнал на входе ВР управляет как приемом информации в МБР, так и ее выдачей. При единичном сигнале ВР (режим вывода) выходные вентильные схемы открыты, а прием информации зависит от того, выбран ли данный МБР по входам BK1 и ВК2; если выбран, то данные
с входной шины записываются в МБР. При нулевом сигнале ВР (режим ввода) прием информации происходит по сигналу С, а выдача при выборке МБР - по входам BK1 и ВК2.
Вход С используется для управления приемом данных в МБР в режиме ввода (ВР = 0), а также для сброса триггера прерываний.
Рис. 2.1
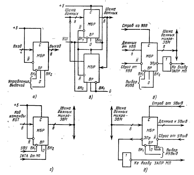
Примеры применения МБР К589ИР12 при организации микропроцессорных систем на базе МПК К580ИК80 представлены на рис. 2.2.
На рис.2.2а МБР используется в качестве вентиля-буфера. Нулевой сигнал на входе ВР и единичный на входе С обеспечивают постоянную запись в МБР информации с входной шины.. Выдача информации осуществляется при выборке кристалла (BK1 = 0, ВК2 = 1). Применение МБР в качестве вентиля-буфера значительно увеличивает нагрузочную способность шины данных, поскольку входной ток К589ИР12 равен 0,25 мА, а выходной 15 мА.
Два МБР могут управлять направлением передачи информации по двунаправленной шине (рис. 2.2, б). Сигнал управления шиной (УШ) определяет, какой из двух МБР будет открыт, а какой будет находиться в состоянии высокого сопротивления.
Hа рис. 2.2в МБР используется в качестве интерфейсного устройства ввода (ИУВв), которое взаимодействует с МП в режиме прерывания. Когда УВв готово к выдаче информации в МП, оно посылает сигнал строба на вход С МБР; при этом сбрасывается в нуль ТП и на вход ЗАПР МП поступает запрос на прерывание. В результате МП входит в прерывающую программу, по которой устанавливает источник запроса, и путем выработки сигналов BK1 = 0 и BK2 = 1 принимает данные от УВв.
К589ИР12 может также использоваться для передачи в МП команды RST, по которой в МП осуществляется переход к одной из восьми возможных прерывающих программ (см. рис. 4.18, г). При появлений запроса на прерывание МП вырабатывает признак INTA, стробирующий по входу ВК2 передачу на шину данных микро-ЭВМ жестко установленного на входной шине МБР кода команды RST. Вход BK1 обычно заземляется, хотя может использоваться для мультиплексирования на шину данных микро-ЭВМ кодов команд RST с различными адресами прерывающих программ.
На рис. 2.2д представлена схема применения МБР в качестве интерфейсного устройства вывода (ИУВыв). Устройство вывода с помощью сигнала строба указывает на окончание вывода предыдущего слова. МБР по сигналу С генерирует запрос на прерывание МП. МП входит в прерывающую программу, по которой передает в МБР очередное слово, подлежащее выводу. Выбор ИУВыв выполняется по входам ВК1 и ВК2.
Описание работы многорежимного буферного регистра
Условием выдачи данных является открывание выходных буферов сигналом Выд. Этот сигнал появляется либо при установке режима ВР=1, либо при выборе кристалла ВК=1, либо при выполнении этих условий совместно.
Запись данных в информационные триггеры производится подачей сигнала ПР на входы С триггеров Т1 – Т8.
Активный сигнал запроса прерывания (ЗПр=0) появляется при установке в 0 триггера ТП сигналом строба С. При выборе кристалла сигнал ВК=1 восстанавливает высокий уровень на выходе этого триггера, но сигнал запроса прерывания сохраняется, так как еще до восстановления триггера сигнал ВК=1 поддерживает низкий уровень сигнала ЗПр. Таким образом, запрос прерывания появляется как при подаче строба, так и при выборе кристалла.
Логические соотношения, определяющие работу МБР, могут быть представлены в следующем виде:
1.Выдача данных: ВК+ВР, где ВК = (ВК1=0)*ВК2
2.Приём данных: С*(ВР=0)+ВК*ВР
3.Установка запроса прерывания: ВК+С*(ВК=0)
4.Сброс запроса прерывания: ВК=0
5.Сброс триггера прерывания: С*(ВК=0)
6.Установка триггера прерывания: ВК
7.Запрет выдачи данных: (ВК=0) * (ВР=0)
Порядок выполнения работы:
Задание 1.
Исследовать работу МБР в режиме входного порта.
-
Сформировать последовательность управляющих и информационных сигналов для приема через МБР даты выполнения работы, оформив ее в виде следующей таблицы:
| Номер шага | Входные управляющие сигналы | Входные данные | Режим работы | Выходные данные | Запрос прерывания |
| С ВК1 ВК2 ВР R | Д8……Д1 | Q8…….Q1 | ЗПр | ||
| 1. | 0 1 1 0 1 | 00011101 | Установка входных данных | Состояние высокого импеданса | 1 |
| 2. | Далее самостоятельно | Запись входных данных | |||
| 3. | Считывание данных | ||||
| 4. | Снятие запроса на прерывание |
2.Включить схему. Реализовать последовательность управляющих сигналов в соответствии с подготовленной таблицей. Проконтролировать прием данных с помощью логических пробников. Откорректировать таблицу.
Задание 2.
Исследовать работу МБР в режиме выходного порта. Исследование провести аналогично заданию 1. Оформить соответствующую таблицу.
Задание 3.
Исследовать работу МБР в режиме стробируемого буфера.
1.Предложить такую комбинацию управляющих сигналов на входах МБР, чтобы при ВК2=0 информационные входы МБР находились в третьем состоянии, а при выборе кристалла сигналом ВК=1 данные с информационных входов передавались на выходы.
2. Проверить работу регистра в режиме стробируемого буфера. Оформить результаты в виде соответствующей таблицы.
Вопросы для самопроверки:
Какие триггеры используются в МБР, с потенциальным или динамическим управлением?
Для каких целей предусмотрено наличие третьего состояния на информационных выходах?
Что дает введение не одного, а двух сигналов выбора кристалла?
Можно ли обеспечить одновременно прием и выдачу данных?
Для каких целей может использоваться сигнал С на входе МБР?
Постройте алгоритм работы МБР в режиме входного/выходного порта.
Для каких целей можно использовать сигнал ЗПр с выхода МБР?
Интерфейс двунаправленных шин и анализ их работы.
Цель: Собрать и настроить устройства ввода–вывода в программе Electronics Workbench. Объяснить принцип работы.
Краткие сведения:
В процессе работы микропроцессорной системы требуется обмен данными между:
1. МП и ВУ;
2. МП и ЗУ;
3. ВУ и ЗУ (без участия МП, т. н. прямой доступ в память - ПДП);
Например, обмен данными между МП и ВУ производится по схеме: ВУ---» МП ---» ВУ, а между ВУ и ЗУ – по схеме: ВУ ---» МП ---» ЗУ, т.е., всегда (если это не режим ПДП) в обмене данными участвует МП, используя свой главный накопительный регистр АКК (аккумулятор) в качестве промежуточного при передаче данных.
В простейших МПС устройства ввода-вывода это набор адресуемых буферных регистров, т.н. портов ввода и портов вывода. Управляет операциями ввода и вывода микропроцессор, переводя свою двунаправленную шину данных в нужное направление: в режиме Ввод – по направлению к процессору, в режиме Вывод – по направлению от процессора. Рассмотрим эти две операции по шагам:
Вывод данных:
Шаги:
1. МП: Адрес порта ---» ША (Шина адреса), Дешифратор адреса ---» выдает сигнал ВК (активный). Т.е., выбор порта произведен, но порт пока пассивен, не открылся.
Характеристики
Тип файла документ
Документы такого типа открываются такими программами, как Microsoft Office Word на компьютерах Windows, Apple Pages на компьютерах Mac, Open Office - бесплатная альтернатива на различных платформах, в том числе Linux. Наиболее простым и современным решением будут Google документы, так как открываются онлайн без скачивания прямо в браузере на любой платформе. Существуют российские качественные аналоги, например от Яндекса.
Будьте внимательны на мобильных устройствах, так как там используются упрощённый функционал даже в официальном приложении от Microsoft, поэтому для просмотра скачивайте PDF-версию. А если нужно редактировать файл, то используйте оригинальный файл.
Файлы такого типа обычно разбиты на страницы, а текст может быть форматированным (жирный, курсив, выбор шрифта, таблицы и т.п.), а также в него можно добавлять изображения. Формат идеально подходит для рефератов, докладов и РПЗ курсовых проектов, которые необходимо распечатать. Кстати перед печатью также сохраняйте файл в PDF, так как принтер может начудить со шрифтами.
















