зпс (1053277)
Текст из файла
Содержание
Содержание 1
Техническое задание 2
Подбор шарико-винтовой передачи. 3
Подбор редуктора. 4
Подбор двигателя. 5
Расчёт шпоночного соединения 6
Расчет винтового соединения несущей стойки и стяжек 7
Расчет винтового соединения основания и рычагов 9
Технические характеристики шарико-винтовой передачи SBC STK1605-3-R 11
Условия проведения приёмочного теста для шарико-винтовой передачи 12
Технические характеристики двигателя MAXON EC13 (6 Watt) исполнение 305190 14
Технические характеристики редуктора MAXON GP 13A исполнение 110316 15
Технические характеристики радиально-упорного подшипника SKF 3200 A-2RS1TN9/MT33 16
Список использованной литературы 17
Техническое задание
Спроектировать схват манипулятора
Дано:
Время закрытия – 15с; грузоподъёмность – 10кг.; Габаритные размеры – 200х200х200мм.
Подбор шарико-винтовой передачи.
Расчет силы сжатия, необходимой для удержание неподвижного стального объекта массой 10кг.
Для контакта поверхностей сталь-сталь
. Следовательно,
С учётом коэффициента запаса и кинематической схемы схвата:
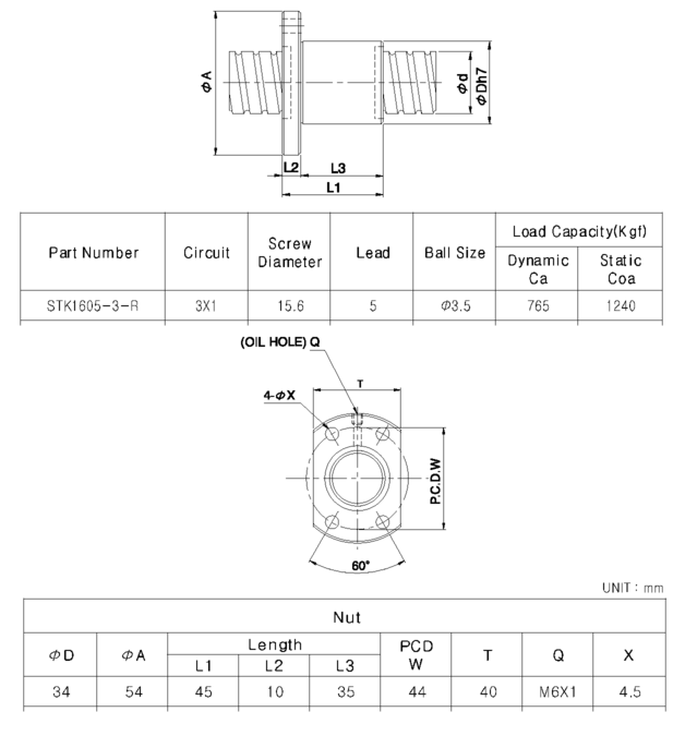
Заданным условиям удовлетворяет шарико-винтовая передача SBC STK1605-3-R:
Диаметр винта (мм): 15
Шаг (мм): 5
Диаметр тел качения (мм): 3.5
Нагрузочная способность
Динамическая (Н): 7650
Статическая (Н): 12400
Расчет КПД шарико-винтовой передачи SBC STK1605-3-R:
Расчетный КПД
, где
для передач, изготавливаемых по 5-9 квалитетам.
Действительный КПД
Вращающий момент с учётом заданной нагрузки:
Подбор редуктора.
Из-за конструктивных особенностей для сопряжения вала редуктора и винта разумно использовать зубчатую передачу с передаточным отношением близким к 2.
Следовательно, редуктор, с учётом усреднённого КПД для цилиндрической зубчатой передачи
, должен обеспечивать вращающий момент:
Полученным требованиям удовлетворяет планетарный редуктор MAXON GP 13A в исполнении 110316.
Подбор двигателя.
Вращающий момент на валу двигателя:
Полученным результатам удовлетворяет двигатель MAXON EC 13 (6 Watt)
Проверка по скорости закрытия схвата:
Следовательно, время смыкания схвата
Подобранные еденицы:
- шарико-винтовая передача SBC STK 1605-3-R
- двигатель MAXON EC13 (6 Watt) исполнение 305190
- планетарный редуктор MAXON GP 13A исполнение 110316
Расчёт шпоночного соединения
Расчет винтового соединения несущей стойки и стяжек
Расчет винтового соединения основания и рычагов
Технические характеристики шарико-винтовой передачи SBC STK1605-3-R
Условия проведения приёмочного теста для шарико-винтовой передачи
Технические характеристики двигателя MAXON EC13 (6 Watt) исполнение 305190
Технические характеристики редуктора MAXON GP 13A исполнение 110316
Технические характеристики радиально-упорного подшипника SKF 3200 A-2RS1TN9/MT33
Список использованной литературы
1) П.Ф.Дунаев,О.П. Леликов. Конструирование узлов и деталей машин: Учебное пособие для технических специальностей ВУЗов.-7-е изд., испр. - М.: Высш. шк.,2001.-447 с.:ил.
2) Атлас конструкций узлов и деталей машин/ под ред. О.А. Ряховского. – М.: изд. МГТУ им. Н.Э.Баумана, 2005.
3) Д.Н. Решетов. Детали машин: Учебник для ВУЗов 4-е изд. М.: изд. Машиностроение, 1989. -486
4) В. И. Анурьев. Справочник конструктора-машиностроителя в трех томах. М: изд. Машиностроение, 2001
5) И. Б. Челпанов, С. Н. Колпашников. Схваты промышленных роботов. – Л.: Машиностроение. Ч-40 Ленингр. отд-ние, 1989.-287 с.: ил.
6) www.maxonmotor.de
7) www.skf.com
8) www.servotechnica.ru
17
Характеристики
Тип файла документ
Документы такого типа открываются такими программами, как Microsoft Office Word на компьютерах Windows, Apple Pages на компьютерах Mac, Open Office - бесплатная альтернатива на различных платформах, в том числе Linux. Наиболее простым и современным решением будут Google документы, так как открываются онлайн без скачивания прямо в браузере на любой платформе. Существуют российские качественные аналоги, например от Яндекса.
Будьте внимательны на мобильных устройствах, так как там используются упрощённый функционал даже в официальном приложении от Microsoft, поэтому для просмотра скачивайте PDF-версию. А если нужно редактировать файл, то используйте оригинальный файл.
Файлы такого типа обычно разбиты на страницы, а текст может быть форматированным (жирный, курсив, выбор шрифта, таблицы и т.п.), а также в него можно добавлять изображения. Формат идеально подходит для рефератов, докладов и РПЗ курсовых проектов, которые необходимо распечатать. Кстати перед печатью также сохраняйте файл в PDF, так как принтер может начудить со шрифтами.
















