Полянский А.Р. - Изучение конструкций авиационных турбовинтовых двигателей АИ-20 и АИ-24 (1051629), страница 5
Текст из файла (страница 5)
Сопловые аппараты II и III ступени (рис. 15) подобны по конструкции и отличаются друг от друга лишь размерами и формой лабиринтного кольца. Они состоят из наружного кольца 5, лопаток 4, металлокерамических вставок 6, внутреннего кольца 3, уплотнительного 1 и лабиринтного 2 колец. Свободная установка лопаток во внутреннее кольцо обеспечивает возможность свободного расширения лопаток и внутреннего кольца при нагреве. С целью исключения перетекания газов через щелевой зазор между лопаткой и внутренним кольцом к последнему с внутренней стороны точечной сваркой приварено уплотнительное кольцо 1. Спереди к внутренним кольцам сопловых аппаратов II и III ступеней приварены лабиринтные кольца 2 с наклонными гребешками, обеспечивающими гарантированное перекрытие их с уплотнительными буртами дисков I и II ступеней. Лабиринтное кольцо соплового аппарата III ступени имеет козырек — отражатель струи горячего газа, прорывающегося через лабиринтное уплотнение.
| Рис. 15. Лопатки соплового аппарата I ступени турбины (слева). Сопловые аппараты II и III ступени турбины: 1 – уплотнительное кольцо; 2 – лабиринтное кольцо; 3 – внутреннее кольцо; 4 – лопатка; 5 – наружное кольцо; 6 – металлокерамическая вставка |
Выходное устройство (рис. 16) предназначено для раскрутки и перевода потока газа на выходе из турбины из кольцевого в сплошной и отвода его в атмосферу. Оно состоит из наружного 1 и внутреннего 5 кожухов, соединенных между собой шестью сварными пустотелыми ребрами 4, и стекателя газов 6. Наружный кожух 1 имеет форму цилиндра и своим передним фланцем крепится к заднему фланцу соплового аппарата III ступени турбины. К заднему фланцу кожуха крепится проставка. Снаружи на кожухе приварены четыре равнорасположенных штуцера 2 для установки термопар замера температуры газа за турбиной. С внутренней стороны на кожухе приварены воротники, в которые свободно входят своими наружными концами ребра 4, обеспечивая возможность свободного расширения кожухов и ребер. Своими внутренними концами ребра приварены к внутреннему кожуху. Против двух верхних ребер на наружном кожухе сделаны просечки и приварены сварные коробки 3 с фланцами для отвода воздуха в газовый тракт двигателя из воздушных полостей задней опоры компрессора и опоры турбины (левое ребро) и от центробежного суфлера (правое ребро). Внутренний кожух 5 имеет форму усеченного конуса. Спереди к нему приварен экран для уменьшения теплоотдачи от внутреннего кожуха к диску III ступени. Внизу на внутреннем кожухе имеется отверстие для слива конденсата. К заднему фланцу внутреннего кожуха крепится стекатель газа 6, имеющий форму неправильного усеченного конуса.
| Рис. 16. Выходное устройство двигателя: 1 – наружный кожух; 2 - штуцер; 3 – коробка сварная; 4 - ребро; 5 – внутренний кожух; 6 – стекатель газов (конус) |
РЕДУКТОР
Редуктор служит для уменьшения числа оборотов вала воздушного винта по сравнению с числом оборотов ротора двигателя. С целью наилучшего использования избыточной мощности турбины, передаваемой на воздушный винт для создания силы тяги, необходимо, чтобы винт при заданных числах оборотов на расчетном режиме полета самолета обладал максимальным коэффициентом полезного действия. Окружная скорость зависит от диаметра винта и числа его оборотов. Потери тяги состоят из потерь за счет закрутки воздуха винтом, потерь на трение, потерь на отбрасывание воздуха и т. д. Максимальный коэффициент полезного действия винта достигается при условии W≤1,3∙a, где W – скорость движения воздуха относительно винта, a – скорость звука.
С увеличением числа оборотов воздушного винта или его диаметра вышеуказанные потери возрастают, так как окружные скорости концевых сечений лопастей винта достигают таких величин, при которых относительная скорость движения воздуха W может достигнуть и даже превысить значение 1,3∙а. В этом случае на лопастях винта возникают скачки уплотнения, связанные с волновыми сопротивлениями вращению воздушного винта, на преодоление которых теряется часть подводимой мощности. Вследствие этого снижается к.п.д. винта. Следовательно размеры и число оборотов винта подбираются из условий обеспечения наивыгоднейших условий его работы, т. е. обеспечения максимального к. п. д. Обычно для современного ТВД при диаметрах винтов от 3,5 до 5 м nВ = 700…1500 об/мин. Числа оборотов турбокомпрессоров современных ТВД nДВ = 4000…15000 об/мин и выбираются из условий получения наибольшей мощности турбины при минимальных ее габаритах и массе. Поэтому передачу избыточной мощности от турбокомпрессора на воздушный винт осуществляют через редуктор, обеспечивающий наивыгоднейшие условия работы воздушного винта.
Передаточное число редуктора выбирается в зависимости от эффективной мощности двигателя, размеров воздушного винта, скорости и назначения самолета. Передаточным числом редуктора называется отношение числа оборотов ротора двигателя к числу оборотов вала воздушного винта.
Степенью редукции называется величина обратная передаточному числу.
На двигателе установлен двухступенчатый, планетарный, дифференциальный редуктор замкнутого типа. Двухступенчатым он называется потому, что состоит из двух ступеней: планетарной и ступени перебора; планетарным — так как одна из ступеней планетарная; дифференциальным — потому, что крутящий момент от ротора двигателя на вал воздушного винта передается раздельно по двум параллельным ветвям: через корпус сателлитов планетарной ступени и через ступень перебора; замкнутым — так как между двумя основными звеньями имеется кинематическая связь, которой является вал воздушного винта. Выбранная кинематическая схема редуктора выгодно отличается от других конструкций двухступенчатых редукторов тем, что она:
а) дает возможность получить высокие степени редукции;
б) позволяет получить малые габариты и массу;
в) относительно проста и достаточно надежна в эксплуатации.
Чтобы уяснить принцип работы редуктора в целом, сначала рассмотрим принцип работы планетарной ступени.
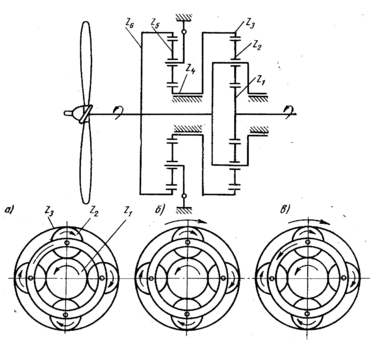
Планетарная ступень состоит из ведущей шестерни z1, четырех сателлитов z2, корпуса сателлитов и шестерни внутреннего зацепления z3. Ведущая шестерня z1 находится в зацеплении с четырьмя сателлитами z2, сидящими на осях корпуса сателлитов, которые в свою очередь входят в зацепление с шестерней внутреннего зацепления z3.
Если условно считать шестерню внутреннего зацепления z3 неподвижной (см. рис. 17, а), то, при вращении ведущей шестерни z1 против хода часовой стрелки, сателлиты z2 будут вращаться по ходу часовой стрелки и обкатываться по шестерне. При этом их оси и, следовательно, корпус сателлитов начнут перемещаться против хода часовой стрелки. В этом случае ступень работает как обычный планетарный редуктор.
Если условно закрепить корпус сателлитов и считать его неподвижным (см. рис. 17, б), то, при вращении ведущей шестерни z1 против хода часовой стрелки, сателлиты получат вращение по ходу часовой стрелки, и, вращаясь вокруг своих неподвижных осей, будут увлекать за собой шестерню z3 внутреннего зацепления в том же направлении, т. е. по ходу часовой стрелки.
Таким образом, в этом случае ступень будет работать как обычный цилиндрический редуктор.
Так как в выбранной схеме и шестерня внутреннего зацепления и корпус сателлитов свободны, то при вращении ведущей шестерни z1 против хода часовой стрелки, сателлиты получат вращение по ходу часовой стрелки и, взаимодействуя с шестерней внутреннего зацепления, начнут обкатываться по ней, приводя во вращение корпус сателлитов против хода часовой стрелки, а также будут увлекать за собой шестерню внутреннего зацепления по ходу часовой стрелки.
Таким образом, и корпус сателлитов и шестерня внутреннего зацепления приводятся во вращение. При этом скорости их вращения могут быть одинаковыми, а могут быть и различными. В двигателе корпус сателлитов при помощи шлиц соединен с валом винта, и он вращается с оборотами вала винта, а шестерня внутреннего зацепления, от которой крутящий момент передается на вал винта через ступень перебора, вращается с большим числом оборотов.
Шестерня внутреннего зацепления z3 через ступицу планетарного механизма соединена с ведущей шестерней z4 ступени перебора. Ведущая шестерня z4 ступени перебора в свою очередь входит в зацепление с шестью промежуточными шестернями z5, оси которых установлены в неподвижном корпусе перебора.
Промежуточные шестерни получают вращение относительно своих осей против хода часовой стрелки и увлекают в том же направлении шестерню внутреннего зацепления z6, которая через ступицу перебора передает крутящий момент на вал воздушного винта. Следовательно, крутящий момент от ротора двигателя на вал воздушного винта передается параллельно по двум ветвям: через корпус сателлитов планетарной ступени и через ступень перебора. Связующим звеном замкнутого дифференциального редуктора является вал воздушного винта. Передаточное число редуктора определяется по формуле:
i = 1+ z3/ z2+(z3∙ z6)/(z1∙ z4).
Для двигателя АИ-20 передаточное число редуктора равно
i = 1+97/35+(97∙97)/(35∙35) = 11,4527.
ЛИТЕРАТУРА
-
Фельдман Е.Л., Богданов А.Д., Хаустов И.Г. Авиационный турбовинтовой двигатель
АИ-20. М. «Транспорт», 396 с.
















