Полянский А.Р. - Изучение конструкций авиационных турбовинтовых двигателей АИ-20 и АИ-24 (1051629), страница 3
Текст из файла (страница 3)
Компрессор двигателя дозвуковой, осевой, многоступенчатый, со степенью повышения давления πк =8,5 (при работе двигателя на номинальном режиме на высоте 8000 м при скорости полета 175 м/c.
Компрессор состоит из ротора, узла передней опоры, узла соединения ротора компрессора с валом рессорой редуктора, узла задней опоры ротора компрессора, направляющего аппарата, корпуса компрессора со спрямляющими аппаратами и рабочими кольцами, клапанов перепуска воздуха из компрессора и клапана отбора горячего воздуха на обогрев лопаток направляющего аппарата.
| Рис. 3. Компрессор (продольный разрез): 1 – корпус замка; 2 – штифт; 3 – диск первой ступени; 4 – T-образное полукольцо; 5 – диски II-VIII ступеней; 6 – диск IX ступени; 7 – П-образное полукольцо; 8 – задний вал; 9 – диск X ступени; 10 – втулка лабиринтов |
Диски ротора компрессора и рабочие лопатки изготовлены из высококачественной нержавеющей стали Х17Н2. Они относятся к числу высоконагруженных деталей, т.к. они подвержены действию центробежных сил собственной массы, аэродинамических сил, температур, вибраций. После сборки ротор компрессора проходит тщательную балансировку, так как при больших величинах неуравновешенных центробежных сил и их моментов возможно разрушение опор и узлов крепления двигателя. Различают статическую и динамическую неуравновешенность роторов. Статически уравновешенным называется ротор, у которого центр тяжести лежит на оси вращения. Динамическим уравновешенным называется ротор, у которого сумма моментов от действия центробежных сил относительно опор равна нулю.
Ротор опирается на переднюю и заднюю опоры. Передняя опора (рис. 4) представляет собой роликовый подшипник, воспринимающий радиальные нагрузки от веса ротора и неуравновешенных масс. Она допускает свободное осевое перемещение ротора, возникающее в результате температурных расширений и воздействия осевых сил. Применение подшипников качения обусловлено тем, что они имеют меньший коэффициент трения, менее чувствительны к кратковременным перерывам в подаче к ним смазки и могут работать на менее вязких сортах масла, что облегчает запуск двигателя при низких температурах.
| Рис. 4. Передняя опора ротора компрессора: 1, 16, 20 – регулировочные кольца; 2 – пробка; 3 – пружина; 4 - замок; 5 – пластинчатый замок; 6 - гайка; 7 – упорное кольцо; 8 - подшипник; 9 – стакан передней опоры; 10 – внутреннее кольцо; 11 – упругое кольцо; 12 – внутренний стакан лабиринтов; 13 – наружный стан лабиринтов; 14 – кольцо лабиринтов; 15 – маслоотражательный щиток; 17 - штифт; 18 – корпус замка; 19 – направляющий штырь; 21 – втулка лабиринтов |
Передача крутящего момента от ротора компрессора через редуктор на воздушный винт осуществляется через шлицевое соединение хвостовика диска I ступени с валом-рессорой редуктора.
Задняя опора ротора компрессора (рис. 5) представляет собой однорядный шариковый радиально-упорный подшипник, который, помимо нагрузки от веса ротора и неуравновешенных масс, воспринимает суммарную нагрузку, равную разности осевых сил от ротора компрессора и ротора турбины, и фиксирует ротор двигателя в осевом направлении относительно корпуса.
Стакан задней опоры 5, выполняющий роль корпуса опоры, изготовлен из стали 20 и приварен при помощи двух конических кожухов к передней части конической балки корпуса камеры сгорания. Во внутренней полости стакана имеются две концентрически расточенные цилиндрические поверхности: одна для установки форсуночного кольца и наружной обоймы шарикоподшипника, другая — стакана лабиринтов. Детали, установленные в стакан задней опоры, стягиваются гайкой 7. На наружной цилиндрической поверхности стакана у заднего торца приварен тройник трубки подвода масла на смазку задней опоры ротора компрессора и опоры турбины. Отверстия на боковой поверхности стакана служат: верхние — для суфлирования, нижние — для слива масла.
Форсуночное кольцо в изготавливается из стали 38ХМЮЛ. Торцевая поверхность кольца, сопрягающаяся с наружной обоймой шарикоподшипника, азотируется. На наружной поверхности форсуночное кольцо имеет кольцевую канавку, на внутренней — три выступа с глухими торцевыми наклонными отверстиями диаметром 1,2 мм. Эти отверстия связаны радиальными сверлениями с наружной кольцевой канавкой. Форсуночное кольцо устанавливается до упора во внутренний бурт стакана.
Шарикоподшипник 4 — радиально-упорный с разъемной внутренней обоймой, что обеспечивает удобство его сборки. Профиль беговой дорожки очерчен двумя радиусами. Это позволяет получить четыре точки контакта у шариков и обеспечивает восприятие большей нагрузки при тех же габаритах подшипника. В процессе ремонта двигателя, при наличии односторонней выработки подшипника, разрешается его постановка на двигатель в перевернутом на 180° положении.
Стакан лабиринтов состоит из двух лабиринтных втулок. Внутренняя лабиринтная втулка 3 имеет точно обработанную наружную поверхность, по которой производится посадка в стакан задней опоры. На наружной поверхности проточена кольцевая канавка и имеются радиальные отверстия для прохода воздуха в промежуточную полость суфлирования корпуса камеры сгорания. Наружный цилиндр сзади переходит в торцевой бурт, которым внутренняя лабиринтная втулка упирается в наружную обойму шарикоподшипника. В нижней части бурт имеет торцевые пазы для слива масла. В стенке внутренней втулки имеются резьбовые отверстия под соединительные винты. На внутренней поверхности ступицы имеется винтовая нарезка, на которую наносится легкоприрабатывающийся материал 18ВК-2Г. Сзади ступица оканчивается буртом.
Наружная лабиринтная втулка 2 представляет собой ступенчатый цилиндр с внутренним фланцем. На наружной поверхности большего диаметра спереди и сзади имеются ребра жесткости; на наружной поверхности меньшего диаметра — посадочный поясок для центрирования наружной лабиринтной втулки. Во внутреннем фланце просверлены отверстия под винты, соединяющие втулки 2 и 3 в узел — стакан лабиринтов. Внутренние поверхности наружной лабиринтной втулки имеют нарезку, на которую наносится легкоприрабатывающийся материал 18ВК-2Г. Таким образом, внутренние поверхности стакана лабиринтов образуют трехрядное лабиринтное уплотнение. Для смазки и охлаждения масло по трубе от штуцера на верхнем ребре корпуса камеры сгорания через форсуночное кольцо поступает на шарикоподшипник задней опоры ротора компрессора, обеспечивая интенсивную струйную смазку и охлаждение трущихся поверхностей подшипника. Отработавшее масло сливается в маслосборник корпуса камеры сгорания, откуда по трубопроводу откачивается одной из ступеней маслонасоса МНО-20К. Воздух на уплотнение задней опоры поступает из полости высокого давления через два ряда гребешков в промежуточную полость суфлирования, откуда по трубопроводам через диафрагму на фланце корпуса камеры сгорания поступает в полость выходного устройства. В промежуточной полости суфлирования за счет диафрагмы добиваются давления, несколько большего, чем давление окружающей среды, и масло из полости подшипника, где давление равно давлению окружающей среды, не будет перетекать в промежуточную полость суфлирования.
| Рис. 5. Задняя опора ротора компрессора: 1, 2, 3 – втулки лабиринтов; 4 - подшипник; 5 - стакан; 6 – форсуночное кольцо; 7 - гайка; 8 – дистанционная контровочная втулка; 9 – маслоотражательный диск; 10 – кольцо лабиринтов; 11 - гайка; 12 – регулировочное кольцо |
Направляющий аппарат (рис. 6) устанавливается во внутреннюю расточку наружного конуса лобового картера и крепится с помощью шпилек на торце фланца внутреннего конуса совместно со стаканом передней опоры ротора компрессора и наружным стаканом лабиринтов. Гайки крепления внутреннего кольца направляющего аппарата к лобовому картеру контрятся пластинчатыми замками.
Направляющий аппарат состоит из следующих основных деталей: направляющих лопаток 1, наружных колец 2 и 3 и внутреннего кольца 4.
Лопатки 1 направляющего аппарата в количестве 23 штук изготавливаются из стали Х17Н2 литьем по выплавляемым моделям. Лопатка состоит из пера и двух цапф, служащих ее опорами в наружном и внутреннем кольцах. Перо имеет изменяющуюся по высоте хорду и разный по сечениям изгиб профилей. В передней части по всей длине пера лопатки фрезеруется продольная канавка, которая заваривается дуговой или аргонодуговой электросваркой по передней кромке и верхнему переднему торцу лопатки, образуя продольный канал.
Со стороны передней кромки лопатки вверху электроэррозионным способом прожигают паз, соединяющий передний канал лопатки с отверстиями верхней цапфы. После заварки поверхность профильной части лопатки тщательно полируется, что уменьшает гидравлические потери и повышает к. п. д. компрессора.
Наружная цапфа выполнена пустотелой и имеет два отверстия для подвода горячего воздуха в продольный канал пера лопатки.
| Рис. 6. Направляющий аппарат: 1 - лопатка; 2 – наружное кольцо переднее; 3 – наружное кольцо заднее; 4 – внутреннее кольцо |
Спрямляющие аппараты (рис. 7) предназначены для преобразования кинетической энергии абсолютного движения воздуха в энергию давления, а также для поворота потока воздуха на необходимый угол. Лопатки первых ступеней не полностью раскручивают поток, спрямляющие аппараты последних ступеней полностью раскручивают поток до осевого направления.
| Рис. 7. Спрямляющий аппарат 1 –лабиринтное кольцо; 2 – внутреннее кольцо; 3 - лопатка; 4 – наружное кольцо |
В процессе эксплуатации двигателя возможен неустойчивый режим работы компрессора, называемый помпажем, связанный с периодическим возникновением и развитием срывов потока воздуха с лопаток рабочих колес и спрямляющих аппаратов, что вызывает местные по тракту колебания воздушных масс. Помпаж характеризуется резкими колебаниями давлений и скоростей воздушного потока, выбросом воздуха из компрессора во входное устройство двигателя, неустойчивым сгоранием горючей смеси, заметным повышением температуры газа перед турбиной, появлением характерного звука, несвойственного работе компрессора при нормальных условиях. При помпаже падает мощность двигателя, возможен перегрев двигателя и выключение двигателя из-за срыва пламени в камере сгорания. При сильно развитом явлении помпажа возможно даже разрушение двигателя.
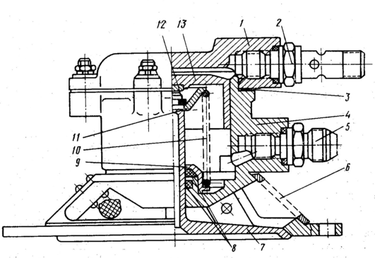
Наиболее простым и достаточно надежным средством предупреждения помпажа является перепуск воздуха из средних ступеней в атмосферу. Выпуск некоторого количества воздуха в атмосферу способствует увеличению объемного расхода через первые ступени, что увеличивает значение осевой составляющей скорости и повышает надежность работы компрессора. В двигателе устанавливают по два клапана перепуска воздуха (рис. 8) за V и VIII ступенью компрессора.
| Рис. 7. Клапан перепуска воздуха: 1 - крышка; 2, 5 - штуцеры; 3 - прокладка; 4 - корпус; 6 - сетка; 7 - клапан; 8 – уплотнительные кольца; 9, 11 – тарелки пружины; 10 - пружина; 12 - сухарики; 13 - поршень |
Камера сгорания обеспечивает организацию процесса сгорания (рис. 8) с целью получения наибольшей тепловой энергии от сгоревшего топлива. Камера сгорания кольцевого типа отличается компактностью, относительно малой массой и небольшими радиальными размерами.
















