Полянский А.Р. - Изучение конструкций авиационных турбовинтовых двигателей АИ-20 и АИ-24 (1051629), страница 4
Текст из файла (страница 4)
Для обеспечения устойчивого процесса сгорания и надежной работы турбины в камере сгорания воздушный поток разделяется на первичный и вторичный. В ней создается определенная газодинамическая структура потока и две зоны: зона горения и зона смешения.
В зону горения поступает первичный поток воздуха, в количестве, необходимом для получения (в этой зоне) α=0,95—1,1. При таких значениях α происходит наиболее полное сгорание топлива с достаточно высокой скоростью. Температура газов в этой зоне достигает 2200—2400 К. Количество первичного воздуха составляет 20—25% от общего расхода.
В зону смешения поступает вторичный поток воздуха, в количестве, необходимом для размывания продуктов сгорания и снижения их температуры перед турбиной до величины, допустимой условиями жаропрочности деталей турбины. Температура перед турбиной не должна превышать 1063 К. Вторичный поток воздуха, перепускаемый через отверстия в жаровой камере, способствует также выравниванию поля температур в газовом потоке перед турбиной, а также догоранию топлива и продуктов неполного окисления. Количество вторичного воздуха составляет 75—80% общего расхода воздуха. Для предотвращения сдувания фронта пламени средняя скорость воздуха на входе в головки жаровой камеры должна быть снижена до 60—70 м/сек, а в зоне горения до 20—25 м/сек, т. е. до величины, равной или меньшей скорости распространения фронта пламени. Указанное снижение скорости потока воздуха обеспечивается за счет диффузорности каналов за компрессором и применения фронтовых устройств — стабилизаторов.
| Рис. 8. Организация процесса сгорания: а – характер движения воздуха; б - поле концентрации топлива; в – схема горения; г – распределение осевых скоростей по сечению камеры |
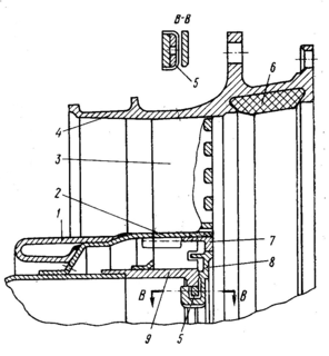
Корпус камеры сгорания (рис. 9) включен в силовую систему, что обеспечило уменьшение массы двигателя. Корпус испытывает напряжения от действия вибрационных сил, неравномерности разогрева материала и нагрузки от гироскопического момента ротора. Кроме того, корпус воспринимает дополнительные напряжения от действия сил и моментов, передаваемых от компрессора и турбины. Кольцевая камера сгорания двигателя образована передним наружным кожухом 2, задним наружным кожухом 7, конической балкой 1, несущим конусом соплового аппарата I ступени турбины 8 и жаровой камерой 6.
В кольцевое пространство, образованное стенками переднего и заднего наружных кожухов, конической балкой и несущим конусом соплового аппарата I ступени турбины устанавливается жаровая камера. Каналы между жаровой камерой и конусом камеры сгорания выбираются из условий перепуска определенного количества вторичного воздуха с заданной скоростью.
| Рис. 9. Камера сгорания: 1 – коническая балка; 2 – передний наружный кожух; 3 - втулка; 4 - фиксатор; 5 – противопожарный экран; 6 – жаровая камера; 7 – задний наружный кожух; 8 – несущий кожух соплового аппарата; 9 – направляющий кожух; 10 – лабиринтное кольцо; 11 – стакан лабиринтов; 12 - гайка; 13 – опорный роликовый подшипник турбины; 14 – форсуночное кольцо; 15 – задний стакан; 16 – масляный карман; 17 – воздушный карман; 18 - диафрагма; 19 – труба подвода масла к опоре турбины; 20 – труба слива масла из опоры турбины; 21 - фланец; 22 - бобышка; 23 - кольцо; 24 - кожух; 25 - колодочка; 26, 27 – конусы жесткости; 28 – полость сброса воздуха из лабиринта задней опоры компрессора; 29 – передний стакан; 30 – форсуночное кольцо; 31 – шариковый подшипник; 32, 36 – элементы жесткости; 33 – отверстия в ребрах; 34 – полость слива масла из задней опоры компрессора; 35 – ребро; 37 – труба сброса воздуха из лабиринта задней опоры компрессора; 38 – труба сброса воздуха из лабиринта опоры турбины; 39 – труба суфлирования тоннеля вала турбины |
Жаровая камера (рис. 10) представляет собой блок сварной конструкции, состоящий из головок и колец. Все элементы жаровой камеры изготовлены из жаропрочной и жаростойкой стали ЭИ-435. Жаровая камера работает в особо тяжелых температурных условиях. Нагрев жаровой камеры неравномерный как по окружности, так и по длине, что может привести к возникновению местных температурных напряжений. Неравномерность нагрева стенок жаровой камеры возникает вследствие более интенсивного охлаждения колец вблизи отверстий. Менее нагретая часть стенки мешает расширяться ее более нагретой части. На относительно горячих участках стенки (между отверстиями) возникают сжимающие напряжения, а на менее нагретых участках — растягивающие. Поэтому длина жаровой камеры, а также количество, размеры и расположение отверстий для подвода воздуха подобраны опытным путем из условий обеспечения не только устойчивого сгорания и получения желаемого температурного поля газового потока на входе в турбину, но и надежного охлаждения, исключающего появления недопустимых температурных напряжений.
Для предотвращения появления трещин и короблений на жаровой камере головки с кольцами, наружные и внутренние кольца спрофилированы и сварены между собой так, что между ними образуются щели, позволяющие эффективно использовать скоростной напор воздуха и создавать улучшенное послойное охлаждение. Воздух, проходящий через отверстия 17 в гофрах колец, растекается по кольцевой щели, сливается в сплошную пленку и направляется вдоль стенки, т. е. образует защитную прослойку с пониженной температурой. Жаровая камера не включена в силовую систему двигателя, чем обеспечено ее свободное температурное расширение как в осевом, так и в радиальном направлениях. Чтобы обеспечить свободу расширения в осевом и радиальном направлениях жаровая камера фиксируется в одном поясе радиальными сферическими штифтами, входящими в отверстия втулок 18, приваренных к кольцам головок.
Наружное 12 и внутреннее 16 посадочные кольца жаровой камеры представляют собой скользящие опоры, входящие с зазором в кольца соплового аппарата I ступени турбины. Через щели, образованные скользящими опорами и кольцами, обеспечивается охлаждение стенок соплового аппарата I ступени турбины.
Головки жаровой камеры выполнены укороченными и через кольца 6 привариваются к сплошному лобовому кольцу 7. Это обеспечивает быстрое и надежное перебрасывание пламени от воспламенителей в головках № 2 и 9 по всем головкам камеры.
| Рис. 10. Жаровая камера: 1 – стабилизатор; 2 – конусная втулка стабилизатора; 3 – ребра стабилизатора; 4 – противонагарные отверстия стабилизатора; 5 - головка; 6 – кольцо головки; 7 – лобовое кольцо; 8, 9, 10, 11 – наружные кольца; 12 – наружное посадочное кольцо; 13 – отверстия для прохода вторичного потока воздуха; 14, 22, 24 – отверстия для подвода первичного потока воздуха; 15 – втулка под юбку воспламенителя; 16 – внутреннее посадочное кольцо; 17, 23 – отверстия и щели, обеспечивающие подслойное охлаждение; 18 – втулка под фиксатор; 19, 20, 21, 25 – внутренние кольца |
ТУРБИНА
Турбина двигателя – осевая, трехступенчатая. С целью повышения к.п.д. она выполнена реактивной (ρ=0,31…0,39). Ротор турбины (рис. 11) состоит из вала турбины, рабочих колес I, II и III ступеней, деталей опоры турбины (задней опоры ротора двигателя) и узла соединения роторов турбины и компрессора. Вал турбины – пустотелый. Он изготовлен из поковки стали 40ХНМА и предназначен для передачи крутящего момента на ротор компрессора. Кроме того, он воспринимает осевую силу, действующую а ротор турбины, его вес и гироскопический момент. Внутренними шлицами на своем переднем конце вал турбины соединяется с наружными шлицами заднего вала компрессора. Диски ступеней турбины предназначены для крепления рабочих лопаток и передачи возникающих в них усилий на вал турбины. Диски изготовлены из жаропрочного хромоникелевого сплава ЭИ437Б, сохраняющего длительное время свои механические качества при высоких температурах, а также не поддающегося газовой коррозии.
| Рис. 11. Ротор турбины: 1 – шариковый подшипник; 2 - гайка; 3 - дистанционная втулка; 4 – задний вал компрессора; 5 - заглушка; 6 – пружина; 7 – шлицевой замок; 8 – болт; 9 – упорная втулка; 10 –гайка; 11 – упорное кольцо; 12 – замок; 13 – роликовый подшипник; 14 – лабиринтная втулка; 15 – кольцо; 16 – штифт; 17 – отверстия для подвода воздуха на охлаждение диска I ступени; 18, 22 – дефлекторы; 19, 29, 30 – лопатки рабочих колес; 20, 31, 32 – пластинчатые замки; 21,23, 33 – диски; 24, 34 –отверстия для прохода воздуха на охлаждение диска II ступени; 25, 27 – втулки; 26 – отверстия для подвода воздуха в полость вала турбины; 28 –сухарь; 35 – анкерная шпилька; 36 –пластинчатый замок; 37 – шайба фасонная; 38 – гайка; 39 – выступ монтажный; 40 – винт; 41 – лабиринтное кольцо |
Лопатки (рис. 12) турбины изготавливаются из сплава ЖС6К (I и II ступень) точным литьем с минимальной механической обработкой и поковок ЭИ437Б (III ступень).
Опора ротора турбины (рис. 13) состоит из роликового подшипника, воспринимающего радиальные нагрузки. Вращающиеся детали опоры: лабиринтное кольцо 15, лабиринтная втулка 1 с внутренней обоймой подшипника и гайкой 5 установлены на валу турбины. Подшипник опоры ротора турбины роликовый. Его наружная обойма имеет два ограничительных бурта. Внутренняя обойма подшипника буртов не имеет. Это обеспечивает возможность удлинения вала турбины при его нагреве. Смазка и охлаждение подшипников опоры обеспечивается маслом, подаваемым через жиклеры форсуночного кольца. Отработавшее масло через торцовую выборку и отверстия в нижней части стакана подшипника стекает в маслосборник. Отсюда оно откачивается одной из ступеней маслонасоса. Масляная полость опоры турбины (тоннель вала турбины) сообщается с атмосферой через центробежный суфлер.
| Рис. 13. Опора ротора турбины: 1 – лабиринтная втулка; 2 – гайка; 3 – стопорное кольцо; 4 – упорное кольцо; 5 - гайка; 6 – штуцер подвода масла; 7 – форсуночное кольцо; 8 – стакан подшипника; 9 – направляющий кожух; 10 – отверстие для прохода воздуха в полость суфлирования; 11 – металлокерамическая вставка; 12 – дефлектор; 13 – уплотнительное кольцо; 14 – стакан лабиринтов; 15 – лабиринтное кольцо; 16, 17 – винты |
Сопловые аппараты I, II и III ступеней турбины (рис. 14, 15) предназначены для разгона и направления потока газа на лопатки рабочих колес под заданным углом. Они образуют собой неподвижную часть турбины — статор. Основными элементами сопловых аппаратов являются сопловые лопатки, располагаемые в виде круговой решетки, и корпусы, воспринимающие усилия от сопловых лопаток. Лопатки сопловых аппаратов неподвижны и, в отличие от лопаток рабочих колес, испытывают меньшие механические нагрузки. Они подвержены влиянию только газовых сил, вызывающих изгиб и кручение лопаток. Однако они находятся под воздействием более высоких температур. Поэтому даже небольшие, длительно действующие напряжения, могут оказаться опасными с точки зрения прочности и сохранения формы профиля. Лопатки соплового аппарата I ступени полые. Они изготовлены из жаростойкого сплава ЖС6К точным литьем с последующей незначительной механической обработкой. Внутрь лопатки устанавливается кожух. Воздух для охлаждения лопаток поступает из кольцевой полости между наружным кольцом и задним кожухом камеры сгорания. Через отверстия на передней кромке кожуха воздух выходит на охлаждение передней кромки лопатки, а затем, растекаясь по зазору между кожухом и лопаткой, омывает ее боковые поверхности с внутренней стороны и через паз на задней кромке выходит в тракт турбины. Крепление лопаток двухопорное — в пазах наружного и дефлекторного колец.
| Рис. 14. Сопловой аппарат первой ступени: 1 – опорное кольцо; 2 – дефлекторное кольцо; 3 – лопатки соплового аппарата; 4 – наружное кольцо; 5 – замок пластинчатый; 6 – металлокерамическая вставка; 7 – профиль жесткости; 8 – стопорное кольцо; 9 – внутреннее кольцо; 10 – конус |
Для фиксации лопаток соплового аппарата I ступени от радиальных смещений на них в нижней части имеются пазы под кольцевой бурт стопорного кольца. Стопорное кольцо своими выступами заводится за выступы внутреннего кольца и контрится пластинчатым замком 5, выступ которого входит в отверстие внутреннего кольца, а концы отгибаются на выступы внутреннего и стопорного колец.
















