Генераторы для тушения и резки (1047816), страница 2
Текст из файла (страница 2)
Все замеры фракционного состава капельной смеси выполнены для горизонтального сечения факела распыла, удаленного от сопла на расстояние 300 мм.
При одинаковых условиях среднее значение dm растворов СаСl2 оказалось больше, чем для чистой воды в 1.35 раза. Диаметры капель в этих экспериментах (рис. 1, область 2) имеют размеры 50-80 мкм и сильно отличаются от 5-30 мкм, ожидаемых согласно
работе /Error: Reference source not found/.
В работе /8/ для оценки размеров капель при распыливании маловязкой перегретой жидкости предлагается использовать соотношение:
В формуле ( 3 ) за давление Р можно принимать давление насыщенного пара.
Средний диаметр капель при дроблении перегретых (в зависимости от температуры) и холодных (в зависимости от перепада) струй воды
Термодиспергирующиеся струи струи:
1-данные /Error: Reference source not found/, 2– данные /Error: Reference source not found/, 3- оценка по формуле ( 3 ), 6 – аэрозоль при термораспаде струи ds=0,3-1,4 мм, 7- данные ВНИИПО с ds=4 - 8 мм.
Холодные струи /9/:
4- струйная форсунка ds=0,3-1 мм, 5 - струйная форсунка с дефлектором ds= 0,3-1 мм
Рис. 2
Диаметры капель рассчитанные по формуле ( 3 ) для температур 110-180С составляют соответственно 0.5 - 5 мкм (рис. 3, кривая 3), что значительно ниже данных /Error: Reference source not found/.
Удобный способ получения мелкодисперсного тушащего аэрозоля - взрывное вскипание воды. Данные ВНИИПО по замеру дисперсности аэрозоля, образующегося при самодиспергировании перегретой (до температуры 663–723С) воды при ее истечении из трубопровода через сопла 4 - 8 мм - представлены на (рис. 4 зона 7).
Предполагается, что на выходе из ТПАГ дробление перегретых капель происходит в основном за счет механизма взрывного вскипания, для его анализа были проведены собственные экспериментальные исследования диспергирования перегретых струй воды.
Для получения перегретой воды использовалсь экспериментальная установка подробно описанная в предидущем отчете /Error: Reference source not found/ (рис. 5), Она имеет бак объемом 0.006 м3, в котором находится нагревательный элемент, при помощи которого вода нагревается до 100-200С. Давление насыщенных паров воды (измеряемое при помощи манометра) создавало напор в баке, под действием которого вода при открытии вентиля истекала через форсунку. Температура на входе замерялась при помощи термопары (хромель-копель). Термостабилизцию воды на выходе обеспечивал даполнительный нагреватель.
Фотография генератора перегретых струй воды
Рис. 6
В процессе экспериментального исследования дисперсного состава капель изменяли начальный диаметр форсунки и начальный перегрев. Отбор аэрозоля осуществлялся на расстоянии 0.5 м от среза форсунки.
Проблема отбора капель из большого объема заключается в обеспечении точной представительности выборки капель по фракциям. Согласно седиментационнной теории Стокса частицы с разной массой и площадью миделевого сечения, имеют различную скорость оседания (таблица 1).
Таблица 2
Скорость оседания капель воды в воздухе при нормальных условиях
| Диметр капли, мкм | Скорость оседания, м/c |
| 1.00 | 3.5010-5 |
| 5.00 | 7.8010-4 |
| 10.0 | 0.003 |
| 20.0 | 0.012 |
| 50.0 | 0.072 |
| 100.0 | 0.250 |
| 200.0 | 0.700 |
| 300.0 | 1.150 |
Так крупные капли (с диаметром больше 100 мкм) оседают гораздо быстрее, чем мелкие (с диаметром меньше 50 мкм). Так как отбор капель необходимо производить за короткий промежуток времени, то фракции мелких капель будут слабо представлены.
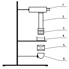
С учетом этих условий был разработан специальный отборник и методика анализа пробы, подробно описанные в предидущем отчете /Error: Reference source not found/. В этом приборе, специальные заслонки ²вырезают² за 0.1 0.05 с контрольный объем в котором находится представительная проба аэрозоля, после чего происходит беспрепятственное осаждение ее в течении контрольного времени на подложку со специальным маслом (рис. 7)
Положение капель в масле
Рис. 8
Масло прозрачно, имеет высокую вязкость и плотность равную плотности воды, что позволяет каплям сохранять сферическую форму практически не подвергаяясь слиянию и длительное время не испаряться, а также обеспечивает хорошие условия для фотографирования в походящем свете.
Для подсчета частиц в плошке применялась специальная методика обработки, включающая следующие этапы:
- фотографирование капель (с увеличением до 10 раз) в проходящем параллельном пучке света с помощью специального приспособления (рис.9), обеспечивающего четкие очертания капель и высокую контрастность изображения;
Схема установки для фотографирования капель
1-фоттоаппарат, 2-удлинительное кольцо, 3-объектив,
4-подложка с каплями, 5-конденсор, 6-источник света
Рис. 10
- обработку фотопленки и печать фотографий с требуемым увеличением;
- оцифровку фотографий капель при помощи сканера с высоким разрешением. Для изображения капель увеличенных на фотографии в 30 раз и отсканированных с качеством 600 точек на 25.4 мм разрешение может достигать 1 мкм;
- обработку оцифрованного изображения с помощью специальной программы подсчета размеров капель и их статистического анализа, алгоритм которой описан в предидущем отчете /Error: Reference source not found/.
Образцы фотографий проб капель арозоля получающихся из вскипающих струй при различных начальных перегревах показаны на рис.11, а зависимости медианного диаметра от температуры и диаметра сопла форсунки на рис.12, где так же нанесена кривая полученная для аэрозоля генерируемого ТПАГ, характеристики которого подробно рассматриваются в разделе 1.2.
Как отмечалось в /Error: Reference source not found/ обобщить зависимости средемассовых диаметрав получаемых капель от диаметра сопла форсунки и начальной температуры можно с помощью модифицированного критерия Вебера:
Полученная по результам экспериментов зависимость медианного диаметра от модифицированного критерия Вебера имеет вид:
Формула ( 5 ) справедлива для определения медианных диаметров капель для струй с диметрами 0,36 мм < ds < 1,2 мм при 3000 < Wep < 34000.
Фотографии аэрозоля при различных начальных перегревах ( увеличение 18,5 раз)
a) To - 142C б) To - 144C в) To - 162C г) To - 181C
Рис. 13
Среднемассовый диаметр капель при различных диаметрах сопел и перегревах
Рис. 14
Заметим, что интегральная кривая распределения по массе от приведенного диаметра одинакова для всех испытаний в диапазоне температур 100-180С и может быть описана формулой:
где
d - текущий диаметр капель,
dmax - максимальный диаметр капель в выборке.
Интегральные кривые распределения капель (осредненные)
Кратко проанализируем результаты исследований по распыливнию перегретых и холодных струй воды, рассмотренных выше авторов, обобщенные на рис.15. Сопоставляя медианные диаметры капель получающихся при распаде перегретых и холодных струй, видно, что термодиспергирование дает капли меньшего размера, чем при обычные способы холодного распыла. Установленно, что с увеличением перегрева интенсивность разрушения струи увеличивается, а размер капель уменьшается. С увеличением начального диаметра струи - дисперсность повышается.
1.2Анализ экспериментов по измерению дисперсности аэрозоля ТПАГ
Поскольку способ получения с помощью ТПАГ аэрозоля является принципиально новым, данные по фракционному составу аэрозоля на выходе из ТПАГ являются уникальными. Предварительные результаты /Error: Reference source not found/ говорят о том, что средние диаметры капель, полученных данным способом, могут быть значительно меньше диаметров, получаемых другими методами холодного распыла при прочих равных условиях. В связи с тем, что водяной аэрозоль с размерами < 50 мкм существенно повышает эффективность тушения пожаров, возникает необходимость рассмотреть этот вопрос подробно.
В экспериментах определялись дисперсные характеристики аэрозоля образующегося при работе ТПАГ. Для того чтобы оценить дисперсный состав капель полученных на выходе из генератора, необходимо производить отбор в замкнутом помещении во время его работы. Вследствии того, что концентрация частиц аэрозоля в объеме помещения достаточно высока (до 0.5 кг/м3), капли выпавшие на открытю подложку с маслом могут сливаться, образуя более крупные капли или даже целую пленку воды на поверхности. Это вносит дополнительную погрешность в измерения.
Методика проведения экспериментов по измерению дисперсности подробно рассмотрена в предыдущем отчете /Error: Reference source not found/. На рис. 16 показана фотография капель отбора сделанного в помещении 96 м3 при работе двух генераторов с массами зарядов по 1.95 кг. Давление в генераторах 1.18 МПа, Км =7. Отбор аэрозоля осуществлялся на 15 секунде от начала работы генератора. Отборник располагался на высоте 2 м.
















