Рычаги (1043318)

Файл №1043318 Рычаги (Раздаточный материал)Рычаги (1043318)2017-12-27СтудИзба
Просмтор этого файла доступен только зарегистрированным пользователям. Но у нас супер быстрая регистрация: достаточно только электронной почты!

Текст из файла

Технология изготовления рычагов.

1. Конструктивные разновидности: - к детали типа рычагов относятся вилки, тяги, рычаги, серьги.

Эти детали имеют 2 и более основных отверстий; в них могут быть шпоночные пазы. Кроме того,

рычаги имеют ряд крепежных отверстий и могут быть с пазами в бобышках.

2. Основные технические требования: диаметральная точность основных отверстий- IT(7..8); шпоночные пазы- IT(9..10); шероховатость отверстий- Ra 2,5..0,63; шероховатость торцов бобышек- до Ra 2,5.

Взаимное расположение отверстий:

межосевое отклонение размеров- (0,05..0,2) мм; параллельность осей ;

перпендикулярность осей к торцам ; параллельность торцов бобышек

3. Материал рычагов:

-Стали: 20, 35, 45 и 40Х.

-Чугуны: СЧ12..СЧ24 (редко).

-Ковкие чугуны: КЧ37,КЧ35 и др.

Заготовки:

-чугунные заготовки: Отливка в песчаные формы по металлическим моделям; в кокиль и в оболочковые формы.

-стальные заготовки: Ковка в подкладных штампах или горячей объемной штамповкой, а также- литье по выплавляемым моделям, реже сварка. В серийном производстве - штамповка на молотах или прессах и ГКМ.

Часто заготовки подвергают калиброванию и чеканке (холодной).

4. Технологические процессы изготовления рычагов (общий план обработки):

1.Последовательная или одновременная обработка торцов бобышек.

2.Обработка основных поверхностей (отверстий).

3.Обработка шпоночных пазов (шлицов) в основных отверстиях.

4.Обработка вспомогательных отверстий, включая резьбу.

5. Обработка ответственных поверхностей.

4.1. Базы при обработке:

-при обработке фрезерованием торцов бобышек базой являются или поверхности стержня или торцы бобышек;

-при шлифовании базой являются противоположные торцы бобышек (на магнитной плите);

-при обработке основных поверхностей базой являются обработанные торцы бобышек и их наружные

поверхности (контур);

-на отделочном этапе обработки базой является торец бобышки и сами обрабатываемые отверстия

(утапливаемые фиксаторы);

4.2. Технологический маршрут обработки рычага в серийном производстве:

Технологический маршрут обработки рычага с бобышками в серийном производстве:

Номер

операции

Эскизы

Содержание операции

Оборудование

1

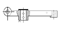
Сверление, цекование торцов бобышек и развертывание отверстий диаметром 8Н7 и 10Н7

Вертикально-сверлильный станок.

Приспособление.

2

Цекование противоположного торца бобышки диаметром 30 мм.

То же

3

Сверление отверстия под резьбу, цекование торца бобышки, зенкование, нарезание резьбы М10.

То же

4

_________

Зачистка заусенцев.

________

В массовом и крупносерийном производстве обработку основных отверстий ведут на агрегатных многошпиндельных, многопозиционных станках.

Схема обработки:

Обработку основных отверстий производят последовательно: сверлением (Н12), зенкерованием (Н9..10) и последующим 1-2-х кратным развертыванием (Н7..8). Иногда вместо развертывания применяется прошивание. Если отверстие выполнено предварительно в заготовке, то операция сверления отсутствует.

Наибольшую точность по параллельности осей отверстий достигают при обработке на многошпиндельных станках с поворотным столом (агрегатный станок).

Технологический маршрут об работки плоской вилки (заготовка на одну вилку) в серийном производстве:

Плоская вилка переключения

С хемы наладок обработки отверстий на агрегатном станке (в массовом и крупносерийном производстве):


Расположения заготовок совместно с заготовками другой вилки на столе агрегатного станка:


4



5


2


1

3



7


6



8



Схема базирования детали при обработке основных отверстий:




Номер операции

Эскиз

Содержание операции

Технологические

базы

1

Сверление и зенкерование отверстия, цекование торца

Бобышки, зенкование фаски в отверстии, развертывание отверстия диаметром 25Н7

Сочетание противолежащего торца бобышки и исполнительной поверхности вилки

2

Цекование другого торца бобышки и зенкование фаски в отверстии

Поверхность обработанного отверстия; противолежащий торец бобышки; удаленный участок боковой поверхности стержня вилки

3

Зенкерование полуотверстия диаметром 60 мм одновременно у двух деталей

Поверхность обработанного отверстия; торец бобышки; удаленный участок боковой поверхности стержня.

Примечание: Для повышения жёсткости установки подводятся подвижные опоры под противолежащую исполнительную поверхность

Условно повернуто на 90

на 90

4

Фрезерование исполнительных поверхностей до размера 12h9

Поверхность обработанного отверстия; менее выступающий торец бобышки; удаленный участок боковой поверхности стержня

5

Сверление отверстия в стенке бобышки

Вертикально-сверлильный станок. Приспособление

6

См. рисунок детали

Зачистка заусенцев

7

См. рисунок детали

Промывка и продувка детали

Моечная машина

Межосевое расстояние обеспечивается координатным методом обработки (или с использованием конд. втулок в приспособлениях).

Контроль рычагов ведется в специальных приспособлениях.

а
) Контроль параллельности осей отверстий б) Контроль отклонения от перпендикулярности торца к



На 360

оси отверстия

Характеристики

Тип файла
Документ
Размер
2,29 Mb
Тип материала
Высшее учебное заведение

Тип файла документ

Документы такого типа открываются такими программами, как Microsoft Office Word на компьютерах Windows, Apple Pages на компьютерах Mac, Open Office - бесплатная альтернатива на различных платформах, в том числе Linux. Наиболее простым и современным решением будут Google документы, так как открываются онлайн без скачивания прямо в браузере на любой платформе. Существуют российские качественные аналоги, например от Яндекса.

Будьте внимательны на мобильных устройствах, так как там используются упрощённый функционал даже в официальном приложении от Microsoft, поэтому для просмотра скачивайте PDF-версию. А если нужно редактировать файл, то используйте оригинальный файл.

Файлы такого типа обычно разбиты на страницы, а текст может быть форматированным (жирный, курсив, выбор шрифта, таблицы и т.п.), а также в него можно добавлять изображения. Формат идеально подходит для рефератов, докладов и РПЗ курсовых проектов, которые необходимо распечатать. Кстати перед печатью также сохраняйте файл в PDF, так как принтер может начудить со шрифтами.

Список файлов учебной работы

Свежие статьи
Популярно сейчас
Зачем заказывать выполнение своего задания, если оно уже было выполнено много много раз? Его можно просто купить или даже скачать бесплатно на СтудИзбе. Найдите нужный учебный материал у нас!
Ответы на популярные вопросы
Да! Наши авторы собирают и выкладывают те работы, которые сдаются в Вашем учебном заведении ежегодно и уже проверены преподавателями.
Да! У нас любой человек может выложить любую учебную работу и зарабатывать на её продажах! Но каждый учебный материал публикуется только после тщательной проверки администрацией.
Вернём деньги! А если быть более точными, то автору даётся немного времени на исправление, а если не исправит или выйдет время, то вернём деньги в полном объёме!
Да! На равне с готовыми студенческими работами у нас продаются услуги. Цены на услуги видны сразу, то есть Вам нужно только указать параметры и сразу можно оплачивать.
Отзывы студентов
Ставлю 10/10
Все нравится, очень удобный сайт, помогает в учебе. Кроме этого, можно заработать самому, выставляя готовые учебные материалы на продажу здесь. Рейтинги и отзывы на преподавателей очень помогают сориентироваться в начале нового семестра. Спасибо за такую функцию. Ставлю максимальную оценку.
Лучшая платформа для успешной сдачи сессии
Познакомился со СтудИзбой благодаря своему другу, очень нравится интерфейс, количество доступных файлов, цена, в общем, все прекрасно. Даже сам продаю какие-то свои работы.
Студизба ван лав ❤
Очень офигенный сайт для студентов. Много полезных учебных материалов. Пользуюсь студизбой с октября 2021 года. Серьёзных нареканий нет. Хотелось бы, что бы ввели подписочную модель и сделали материалы дешевле 300 рублей в рамках подписки бесплатными.
Отличный сайт
Лично меня всё устраивает - и покупка, и продажа; и цены, и возможность предпросмотра куска файла, и обилие бесплатных файлов (в подборках по авторам, читай, ВУЗам и факультетам). Есть определённые баги, но всё решаемо, да и администраторы реагируют в течение суток.
Маленький отзыв о большом помощнике!
Студизба спасает в те моменты, когда сроки горят, а работ накопилось достаточно. Довольно удобный сайт с простой навигацией и огромным количеством материалов.
Студ. Изба как крупнейший сборник работ для студентов
Тут дофига бывает всего полезного. Печально, что бывают предметы по которым даже одного бесплатного решения нет, но это скорее вопрос к студентам. В остальном всё здорово.
Спасательный островок
Если уже не успеваешь разобраться или застрял на каком-то задание поможет тебе быстро и недорого решить твою проблему.
Всё и так отлично
Всё очень удобно. Особенно круто, что есть система бонусов и можно выводить остатки денег. Очень много качественных бесплатных файлов.
Отзыв о системе "Студизба"
Отличная платформа для распространения работ, востребованных студентами. Хорошо налаженная и качественная работа сайта, огромная база заданий и аудитория.
Отличный помощник
Отличный сайт с кучей полезных файлов, позволяющий найти много методичек / учебников / отзывов о вузах и преподователях.
Отлично помогает студентам в любой момент для решения трудных и незамедлительных задач
Хотелось бы больше конкретной информации о преподавателях. А так в принципе хороший сайт, всегда им пользуюсь и ни разу не было желания прекратить. Хороший сайт для помощи студентам, удобный и приятный интерфейс. Из недостатков можно выделить только отсутствия небольшого количества файлов.
Спасибо за шикарный сайт
Великолепный сайт на котором студент за не большие деньги может найти помощь с дз, проектами курсовыми, лабораторными, а также узнать отзывы на преподавателей и бесплатно скачать пособия.
Популярные преподаватели
Добавляйте материалы
и зарабатывайте!
Продажи идут автоматически
7021
Авторов
на СтудИзбе
260
Средний доход
с одного платного файла
Обучение Подробнее