VTP_11-30 (1039448), страница 2
Текст из файла (страница 2)
Взаимными называют помехи, вызываемые влиянием излучений различных радиоэлектронных средств друг на друга.
Искусственные помехи создаются противником преднамеренно с целью нарушения нормальной работы РТС.
Прицельная по частоте помеха имеет ширину спектра одного порядка с шириной спектра сигнала, т.е.
Заградительная по частоте помеха имеет
Скользящая по частоте помеха – это помеха, средняя частота которой изменяется в заданном диапазоне с установленной скоростью перестройки. Она сочетает прицельный и заградительный режим работы станций активных помех и создает для РТС так называемую нестационарную активную помеху.
23. Показатели помехозащищенности РЛС в условиях воздействия АШП
Помехоустойчивость РТС – способность РТС противостоять РЭП противника и выполнять свои функции по ведению радиолокационной разведки и выдаче РЛИ с заданным качеством в условиях складывающейся обстановки.
Помехозащищенность РТС – составная часть помехоустойчивости, характеризующая способность РТС противостоять воздействию помех за счет использования устройств и режимов защиты от помех.
В качестве обобщенного показателя помехозащищенности можно использовать дальность обнаружения определенного типа воздушных объектов с заданными вероятностями правильного обнаружения и ложной тревоги в конкретных условиях помеховой обстановки.
Помехозащищенность РЛС в условиях воздействия АШП оценивается следующими показателями:
спектральной плотностью мощности помех, при которой обеспечиваются требуемые характеристики обнаружения воздушного объекта с заданной ЭОП.
коэффициентом сжатия зоны обнаружения РТС (КСЖ) – определяется как отношение дальности обнаружения целей в помехах при включенной аппаратуре защиты к дальности обнаружения без помех :
КСЖ = dп.вкл / dбез п .
коэффициентом подавления активной помехи – определяется как отношение мощности помехи на входе устройства защиты Рп.вх к мощности помехи на выходе устройства защиты Рп.вых ; измеряется, как правило, в децибелах : Кп = 10 lg(Рп.вх /Рп.вых);
шириной диапазона перестройки частоты РТС fРТС – характеризует возможности РТС по защите от прицельной помехи;
количеством фиксированных рабочих частот (называемых рабочими точками) в диапазоне перестройки.
24. Показатели помехозащищенности РЛС в условиях воздействия пассивных помех.
Помехозащищенность РЛС в условиях воздействия пассивных помех оценивается следующими частными показателями:
коэффициентом подавления помехи, определяемым как отношение мощности помехи на входе устройства режекции к мощности помехи на его выходе, т.е.
КП = РП вх / РП вых.
коэффициентом подпомеховой видимости КПВ, определяемым как отношение, показывающее насколько средняя мощность сигнала от цели РСвх на входе приемника может быть слабее интенсивности пассивной помехи РПвх на входе приемника, при котором обеспечивается обнаружение сигнала с заданными вероятностями правильного обнаружения D = Dзад и ложной тревоги F = Fзад.
рубежами обнаружения и качеством проводки целей на фоне дипольных отражателей заданной линейной плотности. Плотность задается числом NП дипольных отражателей, сбрасываемых на каждые 100 метров пути;
коэффициентом улучшения (КУ) отношения сигнал/помеха за счет использования помехозащитной аппатуры;
допустимой линейной плотностью дипольных помех, при которой обнаруживается цель с заданной ЭОП и требуемыми вероятностями правильного обнаружения и ложной тревоги на заданной дальности и обеспечивается ее сопровождение с установленным качеством.
При радиальной ориентации полосы отражений отношение мощности помехи к мощности сигнала на входе приемника
где sпач – эффективная отражающая поверхность одной пачки дипольных отражателей; tИ – длительность импульса на выходе оптимального фильтра.
По современным требованиям РТС боевого режима должны обеспечивать выдачу информации требуемого качества в условиях воздействия:
АШП, воздействующих по ближним боковым лепесткам ДНА со спектральной плотностью мощности до rП = 100 Вт/МГц с дальности RП = 200 км;
АШП, воздействующих по дальним лепесткам ДНА с
rП = 500 Вт/МГц с дальности RП = 200 км;
пассивных помех с линейной плотностью NП в дальней зоне до 2-х пачек на 100 метров пути, в зоне действия огневых средств – до 5 – 6 пачек на 100 метров пути.
25. Уравнение противорадиолокации при воздействии активных шумовых помех
26. Радиолокационное распознавание воздушного объекта
Радиолокационное распознавание воздушного объекта – процесс установления принадлежности воздушного объекта, наблюдаемого средствами радиолокации, к одному из заранее определенных классов (типов, состояний), входящих в заданный алфавит.
Класс воздушного объекта – совокупность (группа) воздушных объектов, объединенных по какому-либо одному или нескольким свойствам (тактическим, летно-техническим, конструктивным, геометрическим, отражательным, излучательным или иным).
Алфавит распознаваемых классов (типов) воздушных объектов – априорно заданный, исходя из дальнейшего использования результатов распознавания, перечень взаимоисключающих классов (типов) воздушных объектов, о принадлежности к одному из которых должно быть принято решение относительно наблюдаемого объекта.
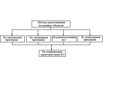
27. Методы радиолокационного распознавания
28. Методы радиолокационного распознавания по сигнальным признакам.
29.Задачи, решаемые спецвычислителем.
Специализированный вычислитель (СВ) представляет собой ЭВМ специального назначения третьего поколения . Предназначен для решения специализированных задач обработки информации в комплексах средств автоматизации.
В зависимости от использования СВ решаются следующие задачи:
а) В комплексе средств отображения и управления:
-
Подготовка информации для отображения ее на рабочих местах лиц боевого расчета;
-
Обеспечение взаимодействия лиц боевого расчета с ЦВК посредством команд, вводимых с пультовой аппаратуры рабочих мест;
б) В комплексе средств передачи информации:
-
Приём информации от ЦВК, формирование кодограмм обмена в соответствии с типом абонента и выдача её пословно в устройство сопряжения с дискретными каналами связи (УСДК);
-
Приём информации из УСДК, преобразование к виду, принятому в ЦВК и её выдача.
в) В комплексе средств передачи информации:
-
Приём информации от ЦВК, формирование кодограмм обмена в соответствии с типом абонента и выдача её пословно в устройство сопряжения с дискретными каналами связи (УСДК);
-
Приём информации из УСДК, преобразование к виду, принятому в ЦВК и её выдача.
г) В комплексах диагностики:
-
локализация неисправностей в блоках и типовых элементах замены с помощью специальных тестов (алгоритмов);
-
Перезапись информации в кассеты блока ДЗУ – Э.
д) В комплексах построения отчётных документов:
-
Формирование различных моделей боевых действий и выдача их на печать.
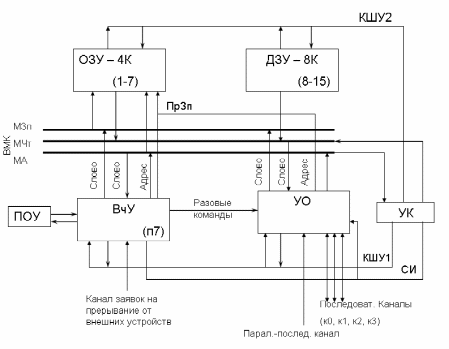
30. Назначение и состав СВ.
Специализированный вычислитель (СВ) представляет собой ЭВМ специального назначения третьего поколения . Предназначен для решения специализированных задач обработки информации в комплексах средств автоматизации.
Состав СВ:
-
Вычислительное устройство (ВчУ)
-
Устройство обмена (УО)
-
Устройство управления каналом (УК)
-
Оперативное запоминающее устройство (ОЗУ)
-
Долговременное запоминающее устройство (ДЗУ)
-
Постоянное запоминающее устройство (ПЗУ)
-
Пульт оперативного управления (ПОУ СВ)
-
В
нутренний магистральный канал (ВМК)
Вычислительное устройство (ВчУ) является основным операционным устройством СВ, предназначенным для обработки цифровой и логической информации, реагирования на сигналы прерывания внешних устройств и управления программами устройства обмена.
Устройство обмена (УО) предназначено для организации обмена информацией между ОЗУ и абонентами СВ независимо от ВчУ с минимальным количеством прерываний рабочей программы, необходимых для запроса словосостояния устройства обмена и каналов, выдачи разовых команд, запуска и останова каналов.
Устройство управления каналом (УК) предназначено для управления взаимодействием нескольких процессоров (УО или ВчУ) с блоками памяти, управления конфигурацией запоминающих устройств и выработки синхронизирующих сигналов для ВчУ и УО.
Оперативное запоминающее устройство (ОЗУ) предназначено для хранения текущей входной и выходной информации СВ, а также оперативной и рабочей информации программ.
Долговременное запоминающее устройство (ДЗУ) служит для хранения программ и сменных констант, с возможностью перезаписи на специальном стенде.
Постоянное запоминающее устройство (ПЗУ) предназначено для хранения редко изменяющейся информации: таблиц функций, констант, тестовых и сервисных программ.
Пульт оперативного управления (ПОУ СВ) предназначен для ручного управления режимами работы СВ и контроля его функционирования в процессе боевой работы и технического обслуживания.
Внутренний магистральный канал (ВМК) обеспечивает информационную связь между ЗУ и блоками ВчУ и УО в процессе работы СВ.
нутренний магистральный канал (ВМК) 















