Рычаги (1038490)
Текст из файла
Технология изготовления рычагов.
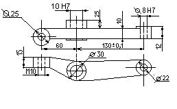
Конструктивные разновидности: - к детали типа рычагов относятся вилки, тяги, рычаги, серьги.
Эти детали имеют 2 и более основных отверстий; в них могут быть шпоночные пазы. Кроме того,
рычаги имеют ряд крепежных отверстий и могут быть с пазами в бобышках.
Основные технические требования: диаметральная точность основных отверстий- IT(7..8); шпоночные пазы- IT(9..10); шероховатость отверстий- Ra 2,5..0,63; шероховатость торцов бобышек- до Ra 2,5.
Взаимное расположение отверстий:
межосевое отклонение размеров- (0,05..0,2) мм; параллельность осей
;
перпендикулярность осей к торцам
; параллельность торцов бобышек
Материал рычагов:
-Стали: 20, 35, 45 и 40Х.
-Чугуны: СЧ12..СЧ24 (редко).
-Ковкие чугуны: КЧ37,КЧ35 и др.
Заготовки:
-чугунные заготовки: Отливка в песчаные формы по металлическим моделям; в кокиль и в оболочковые формы.
-стальные заготовки: Ковка в подкладных штампах или горячей объемной штамповкой, а также- литье по выплавляемым моделям, реже сварка. В серийном производстве - штамповка на молотах или прессах и ГКМ.
Часто заготовки подвергают калиброванию и чеканке (холодной).
Технологические процессы изготовления рычагов (общий план обработки):
1.Последовательная или одновременная обработка торцов бобышек.
2.Обработка основных поверхностей (отверстий).
3.Обработка шпоночных пазов (шлицов) в основных отверстиях.
4.Обработка вспомогательных отверстий, включая резьбу.
Базы при обработке:
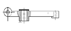
-при обработке фрезерованием торцов бобышек базой являются или поверхности стержня или торцы бобышек;
-при шлифовании базой являются противоположные торцы бобышек (на магнитной плите);
-при обработке основных поверхностей базой являются обработанные торцы бобышек и их наружные
поверхности (контур);
-на отделочном этапе обработки базой является торец бобышки и сами обрабатываемые отверстия
(утапливаемые фиксаторы);
Технологический маршрут обработки рычага в серийном производстве:
Технологический маршрут обработки рычага с бобышками в серийном производстве:
| Номер операции | Эскизы | Содержание операции | Оборудование |
| 1 | Сверление, цекование торцов бобышек и развертывание отверстий диаметром 8Н7 и 10Н7 | Вертикально-сверлильный станок. Приспособление. | |
| 2 | Цекование противоположного торца бобышки диаметром 30 мм. | То же | |
| 3 | Сверление отверстия под резьбу, цекование торца бобышки, зенкование, нарезание резьбы М10. | То же | |
| 4 | _________ | Зачистка заусенцев. | ________ |
В
массовом и крупносерийном производстве обработку основных отверстий ведут на агрегатных многошпиндельных, многопозиционных станках.
Схема обработки:
Обработку основных отверстий производят последовательно: сверлением (Н12), зенкерованием (Н9..10) и последующим 1-2-х кратным развертыванием (Н7..8). Иногда вместо развертывания применяется прошивание. Если отверстие выполнено предварительно в заготовке, то операция сверления отсутствует.
Наибольшую точность по параллельности осей отверстий достигают при обработке на многошпиндельных станках с поворотным столом (агрегатный станок).
Технологический маршрут об работки плоской вилки (заготовка на одну вилку) в серийном производстве:
Плоская вилка переключения
С
хемы наладок обработки отверстий на агрегатном станке (в массовом и крупносерийном производстве):
Расположения заготовок совместно с заготовками другой вилки на столе агрегатного станка:
4
5
2
1
3
7
6
8
Схема базирования детали при обработке основных отверстий:
| Номер операции | Эскиз | Содержание операции | Технологические базы |
|
| Сверление и зенкерование отверстия, цекование торца Бобышки, зенкование фаски в отверстии, развертывание отверстия диаметром 25Н7 | Сочетание противолежащего торца бобышки и исполнительной поверхности вилки | |
|
| Цекование другого торца бобышки и зенкование фаски в отверстии | Поверхность обработанного отверстия; противолежащий торец бобышки; удаленный участок боковой поверхности стержня вилки | |
|
| Зенкерование полуотверстия диаметром 60 мм одновременно у двух деталей | Поверхность обработанного отверстия; торец бобышки; удаленный участок боковой поверхности стержня. Примечание: Для повышения жёсткости установки подводятся подвижные опоры под противолежащую исполнительную поверхность | |
|
Условно повернуто на 90 на 90 4 | Фрезерование исполнительных поверхностей до размера 12h9 | Поверхность обработанного отверстия; менее выступающий торец бобышки; удаленный участок боковой поверхности стержня | |
| 5 | Сверление отверстия в стенке бобышки | Вертикально-сверлильный станок. Приспособление | |
| 6 | См. рисунок детали | Зачистка заусенцев | |
| 7 | См. рисунок детали | Промывка и продувка детали | Моечная машина |
Межосевое расстояние обеспечивается координатным методом обработки (или с использованием конд. втулок в приспособлениях).
Контроль рычагов ведется в специальных приспособлениях.
а
) Контроль параллельности осей отверстий б) Контроль отклонения от перпендикулярности торца к
На 360
оси отверстия Характеристики
Тип файла документ
Документы такого типа открываются такими программами, как Microsoft Office Word на компьютерах Windows, Apple Pages на компьютерах Mac, Open Office - бесплатная альтернатива на различных платформах, в том числе Linux. Наиболее простым и современным решением будут Google документы, так как открываются онлайн без скачивания прямо в браузере на любой платформе. Существуют российские качественные аналоги, например от Яндекса.
Будьте внимательны на мобильных устройствах, так как там используются упрощённый функционал даже в официальном приложении от Microsoft, поэтому для просмотра скачивайте PDF-версию. А если нужно редактировать файл, то используйте оригинальный файл.
Файлы такого типа обычно разбиты на страницы, а текст может быть форматированным (жирный, курсив, выбор шрифта, таблицы и т.п.), а также в него можно добавлять изображения. Формат идеально подходит для рефератов, докладов и РПЗ курсовых проектов, которые необходимо распечатать. Кстати перед печатью также сохраняйте файл в PDF, так как принтер может начудить со шрифтами.
1
3
















