Лекция N 4 (1037513)
Текст из файла
Лекция N 4 (продолж.)
§ 2.4 Полусамотечные лотки с магнитным и вибрационным
траспортированием заготовок
Полусамотечные лотки занимают промежуточное положение между самотечными (гравитационными) лотками и лотками с принудительной подачей заготовок. Они применяются в тех случаях, когда требуется переориентировать заготовки, не прерывая их движения по лотку; обеспечивать движение по горизонтальному лотку при плавном регулировании скорости транспортирования; накапливать и по мере необходимости расходовать заготовки, исключая возможность их заклинивания перед МПВ и питателями.
Указанные свойства появляются у таких лотков в результате направленного воздействия на заготовки магнитных или вибрационных полей. Эти поля бесконтактно (в отличие от лотков с принудительной подачей) управляют движением заготовок, сохраняя за ними
свободу перемещения в гравитационном поле..
§ 2.4.1 Лотковые устройства на постоянных магнитах
Особенности функционирования магнитных ЗУ (магнитных лотков, барабанов и т.п.) рассмотрим на примере автоматической линии сортировки и классификации полупроводниковых диодов типа КД257…8 фирмы “PHILIPS”. Производительность автоматической линии не менее 25 000 диодов/час. Цикл полной обработки одного диода, обеспечиваемой системой магнитного транспортирования составляет 0.08…0.1 секунды.
Транспортная система автоматической линии классификации диодов cостоит из одного загрузочного и трех транспортирующих лотков на постоянных магнитах, выполненных по одной конструктивной схеме, содержит также ленточный и цепной транспортеры, связывающие последовательно расположенные агрегаты (технологические установки) линии.
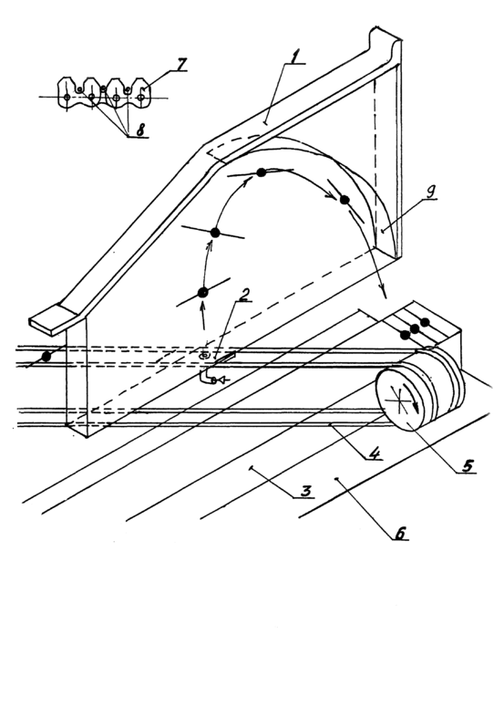
Полностью собранные диоды высыпаются из межоперационной тары (емкость 1200…2500 шт.) в горизонтальный лоток-транспортер на постоянных магнитах (рис.3.7 и 3.8). Магнитный лоток состоит из двух блоков 1, набранных из постоянных магнитов, причем плоскости, образованные их одноименным полюсами, сходятся по мере приближения к транспортирующему барабану 2, выполняющему функцию МПВ. Переменное расстояние между блоками 1 создает градиент магнитного поля в направлении барабана, к которому под действием поля перемещаются диоды. При этом диоды с ферромагнитными проволочными выводами ориентируются поперек вектора перемещения и сохраняют интервалы между собой и дном лотка. Дойдя в конце лотка до вращающегося барабана 2, имеющего строенный по внешнему ободу магнитопровод, диоды фиксируются в пазах обода (материал обода –капролон) и таким образом переносятся к магнитному экрану 5, функция которого, - изъятие из транспортного потока дефектных диодов с сильно деформированными выводами, не подлежащими дальнейшей обработке (экран периодически очищается вручную от налипших диодов).
Диоды с малой кривизной выводов поступают на рихтовочный барабан 3, на котором с помощью резиновой колодки 4 производится правка проволочных концов прибора.
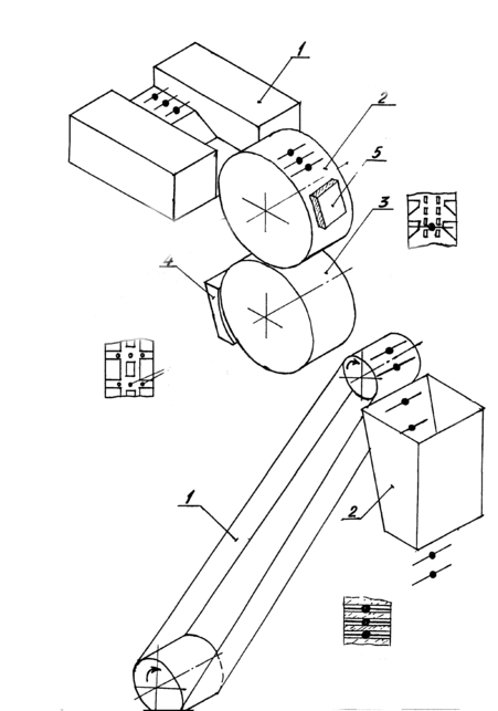
Последующий сброс диодов с барабана на ленточный транспортер 1 производится контактной пластиной-вилкой из немагнитного материала. Транспортер 1 (см рис.3.8) переносит диоды в лоток 2 ,имеющий магнитные стенки (необходимые для поддержания продольной ориентации диодов), откуда последние поступают в следующий линейный магнитный лоток, изображенный на рис.3.9, модуля контроля диодов по полярности и электрическим параметрам (см поз.1 и 6). Конструктивно транспортные устройства этой системы выполнены аналогично рассмотренной выше, однако имеют ряд отличий: барабан 5 имеет дискретный привод поворота, фиксирующий каждый диод на измерительных позициях 6; отбраковка с барабана 3 негодных по полярности диодов производится пневматическими форсунками в специальный отводной лоток; используется также блок (рис.3.10, поз.8 и 9) с перегрузочными барабанами и вильчатым сбрасывателем 7 для загрузки обработанных диодов на цепной транспортер, позиции сортировки диодов по кассетам 3 с учетом их электрических параметров. При загрузке в кассеты транспортируемые диоды проходят над блоком пневмофорсунок 2, которые периодически срабатывают от САУ в случае совпадения параметров диода с группой сортировки и закладывают его с соответствующую тару.
Область применения систем магнитного транспортирования, обладающих высокой надежностью и производительностью, достаточно велика, однако до сих пор проблема разработки инженерной методики их расчета из-за сложности физических процессов магнитного взаимодействия не решена. При проектировании систем, аналогичных рассмотренной выше, в каждом конкретном случае требуются экспериментальные исследования на натурных образцах-аналогах разрабатываемых устройств магнитного транспортирования ( например, с целью уточнения напряженности постоянного магнитного поля, необходимого для перемещения потока заготовок заданной массы и т.п.).
Рисунки к § 2.4.1
Рис 3.7 .
-
ленточный транспортёр
-
лоток
Рис 3.8



Пневмофорсунки
-
горизонтальный транспортёр на постоянных магнитах
-
транспортирующий барабан
-
колесо рихтовки
-
прижимная колодка
-
магнитный экран
Для ориентации диода по полярности срабатывает правая или левая пневмофорсунка на транспортирующем барабане .
-
стойка измерителя полярности
-
горизонтальный транспортёр на постоянных магнитах
-
колесо измерения полярности
-
лоток сортировки диодов
-
барабан измерения электрических параметров
-
измерительные контактные головки
-
вилка - сбрасыватель
8 , 9. Перегрузочный ( транспортирующий ) барабан.
Рис . 3.9
-
Отражатель
-
Пневмофорсунка
-
Кассета для диодов
-
Пластинчатая зубчатая цепь .
-
Барабан цепного транспортёра ( ведущий)
-
Блок постоянных магнитов ( ориентирующий )
-
Звено зубчатой цепи
-
Транспортируемые диоды
-
Направляющяя.
§ 2.4.2 Вибротранспортирующие лотки.
В отличие от магнитных вибротранспортирующие лотки изучены достаточно
и могут быть полностью спроектированы на основе существующих исследований и инженерных методик расчета / , /.
Предворительно рассмотрим физическую модель перемещения заготовки по вибрирующей шероховатой поверхности. Считаем, что на плоскости, расположенной горизонтально, находится тело в виде материальной точки, а сама плоскость совершает возвратно-поступательные колебания с амплитудой А и круговой частотой , направленные под углом , то есть по закону S = А Sint, где S – текущая координата плоскости. На материальную точку действует сила инерции Fин = m (S)″ =m А 2 Sin(t) , сила тяжести
(mg), сила трения Fтр и сила N нормальной реакции плоскости на материальную точку. В течении одной половины периода колебаний плоскости сила Fтр будет направлена наклонно вверх, а течении второй половины,- наклонно вниз. Когда сила инерции направлена вверх, ее горизонтальная составляющая FXин будет стремиться сдвинуть точку вправо, этому же способствует и вертикальная составляющая сил инерции FYин, уменьшающая нормальную реакцию N плоскости, а, следовательно, и суммарную силу трения.
При направлении силы инерции вниз соответствующие ее составляющие (FXин и FYин) меняют направление на противоположное, увеличивая суммарную силу трения. В итоге под действием сил инерции в первый полупериод заготовка продвинется вправо больше, чем влево во второй полупериод. При чередовании периодов колебания происходит виброперемещение материальной точки с постоянной скоростью, величина которой зависит от характеристик колебания плоскости. Картина виброперемещений детали по наклонным плоскостям (вверх или вниз) аналогична выше рассмотренной. Если вертикальная составляющая силы инерции FYин оказывается больше силы тяжести заготовки (mg), виброперемещение дополняется свободным микрополетом в один из полупериодов с отрывом от вибрирующей поверхности. На Рис.3.10 представлена схема вибротранспортирования заготовок.
Характеристики
Тип файла документ
Документы такого типа открываются такими программами, как Microsoft Office Word на компьютерах Windows, Apple Pages на компьютерах Mac, Open Office - бесплатная альтернатива на различных платформах, в том числе Linux. Наиболее простым и современным решением будут Google документы, так как открываются онлайн без скачивания прямо в браузере на любой платформе. Существуют российские качественные аналоги, например от Яндекса.
Будьте внимательны на мобильных устройствах, так как там используются упрощённый функционал даже в официальном приложении от Microsoft, поэтому для просмотра скачивайте PDF-версию. А если нужно редактировать файл, то используйте оригинальный файл.
Файлы такого типа обычно разбиты на страницы, а текст может быть форматированным (жирный, курсив, выбор шрифта, таблицы и т.п.), а также в него можно добавлять изображения. Формат идеально подходит для рефератов, докладов и РПЗ курсовых проектов, которые необходимо распечатать. Кстати перед печатью также сохраняйте файл в PDF, так как принтер может начудить со шрифтами.