PGR_SVP (1035798)
Текст из файла
Вариант Г4 (Прототип ГМ-352, ПГР с шаровой камерой однопоршневая).
1. Выполнить чертеж общего вида рессоры и кинематическую схему ее установки на машине.
2. Определить заправочные давления рессоры
, (
) для обеспечения заданного клиренса (
) при рабочей температуре
.
3. Построить упругие характеристики рессоры при различных температурах газа (
,
). Определить максимальную удельную потенциальную энергию рессоры.
4. Построить упругие характеристики подвески при различных температурах газа (
,
).
5. Построить схему гидравлических сопротивлений рессоры на прямом и обратном ходу.
6. Определить гидравлическое сопротивление рессоры на прямом и обратном ходу штока при различных положениях поршней-разделителей пневмоцилиндров.
7. Построить характеристики сил гидравлического сопротивления рессоры на прямом и обратном ходу штока. Определить скорость штока, при которой открывается клапан.
8. Построить характеристики сил гидравлического сопротивления подвески на прямом и обратом ходу катка при различных значениях хода (
(
).
При расчетах принять следующие допущения:
-
Жидкость несжимаема.
-
Плотность жидкости ρ=800кг/м3.
-
Газ идеальный, азот (N2).
-
Рабочие процессы газа соответствуют политропе с показателем степени n=1,3.
-
Система термодинамически замкнута.
-
Сухим трением пренебречь.
-
Детали подвески невесомые.
Исходные данные:
М=35 000 кг - масса машины;
- число катков одного борта;
, - рабочая температура;
- диаметр дроссельного отверстия прямого хода;
nпр =2 шт - количество дроссельных отверстий прямого хода;
- диаметр дроссельного отверстия обратного хода;
nобр=2 шт - количество дроссельных отверстий обратного хода.
Определим заправочные давления рессоры.
Размеры основных частей подвески берем из кинематической схемы.
Нагрузка на один каток в статическом положении:
К
инематическая связь между силами на поршне и катке имеет следующий вид:
Из кинематической схемы
в статическом положении:
Таким образом:
Определяем давление в газовой камере при статическом положении:
Для газовой камеры можно записать:
Определим полный объем газовой камеры:
Объем газовой камеры при статическом положении:
Определим давление при полностью выдвинутом поршне.
Таким образом, заправочное давление:
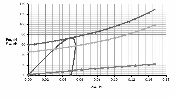
Построение упругих характеристик рессоры и подвески.
Зависимость давления от хода поршня при
:
Сила на штоке определяется по формуле:
Сила на катке:
Зависимость давления от хода поршня при
:
Сила на штоке определяется по формуле:
Сила на катке:
|
|
|
|
|
|
|
|
| 40,86 | 0,0000 | 0,000 | 59,1 | 42,96 | 25,20 | 18,32 |
| 44,36 | 0,0063 | 0,015 | 60,6 | 44,05 | 24,81 | 18,04 |
| 47,86 | 0,0126 | 0,031 | 62,2 | 45,22 | 24,64 | 17,92 |
| 51,35 | 0,0192 | 0,047 | 63,9 | 46,48 | 24,67 | 17,93 |
| 54,85 | 0,0259 | 0,065 | 65,8 | 47,84 | 24,85 | 18,07 |
| 58,35 | 0,0327 | 0,083 | 67,8 | 49,30 | 25,20 | 18,32 |
| 61,85 | 0,0398 | 0,102 | 70,0 | 50,88 | 25,69 | 18,68 |
| 65,34 | 0,0470 | 0,122 | 72,3 | 52,60 | 26,32 | 19,13 |
| 66,77 | 0,0499 | 0,130 | 73,4 | 53,34 | 26,61 | 19,35 |
| 68,84 | 0,0543 | 0,142 | 74,9 | 54,46 | 27,08 | 19,69 |
| 72,34 | 0,0618 | 0,163 | 77,7 | 56,47 | 27,99 | 20,35 |
| 75,84 | 0,0694 | 0,184 | 80,7 | 58,66 | 29,02 | 21,10 |
| 79,33 | 0,0771 | 0,206 | 84,0 | 61,04 | 30,19 | 21,95 |
| 82,83 | 0,0849 | 0,227 | 87,5 | 63,63 | 31,50 | 22,90 |
| 86,33 | 0,0928 | 0,249 | 91,4 | 66,45 | 32,95 | 23,96 |
| 89,83 | 0,1007 | 0,271 | 95,6 | 69,51 | 34,53 | 25,11 |
| 93,32 | 0,1087 | 0,293 | 100,2 | 72,83 | 36,25 | 26,36 |
| 96,82 | 0,1166 | 0,315 | 105,1 | 76,45 | 38,11 | 27,71 |
| 100,32 | 0,1245 | 0,337 | 110,5 | 80,36 | 40,08 | 29,14 |
| 103,82 | 0,1323 | 0,358 | 116,4 | 84,60 | 42,18 | 30,66 |
| 107,31 | 0,1399 | 0,379 | 122,6 | 89,17 | 44,36 | 32,25 |
Определим максимальную потенциальную энергию подвески:
Где
- работа сжатия газа от объема
до
:
Расчет гадравлики ПГР.
;
;
;
;
;
;
;
;
;
;
.
Площади соответственно:
;
;
;
;
;
;
;
;
.
Определим коэффициенты сопротивлений на прямом ходу.
-
Сужение:
-
Сужение:
-
Сужение:
-
Расширение:
-
Сужение:
-
Сужение:
-
Расширение:
-
Расширение:
-
Расширение:
Определим приведенный к площади поршня коэффициент сопротивления
на прямом ходу при закрытом клапане.
В этом случае присутствует разделение жидкости на два параллельных потока через дроссельные отверстия прямого хода.
Общий приведенный коэффициент сопротивления:
Определим приведенный к площади поршня коэффициент сопротивления
на прямом ходу при открытом клапане.
В этом случае жидкость разделяется на три потока.
Приведем сопротивления параллельных потоков к площади
:
Дроссельные отверстия:
Клапан:
Определим коэффициенты сопротивлений на обратном ходу.
-
Расширение:
-
Расширение:
-
Расширение:
-
Сужение:
-
Расширение:
-
Сужение:
-
Сужение:
-
Сужение:
Определим приведенный к площади поршня коэффициент сопротивления
на обратном ходу.
В этом случае происходит разделение жидкости на четыре параллельных потока через дроссельные отверстия прямого и обратного ходов.
Приведем сопротивления параллельных потоков к площади
:
Дроссельные отверстия прямого хода:
Дроссельные отверстия обратного хода:
;
;
|
|
|
|
|
| 0 | 0,00 | 0,00 | 0,00 |
| 0,1 | 2,12 | 0,10 | 2,07 |
| 0,2 | 8,48 | 0,42 | 8,27 |
| 0,3 | 19,08 | 0,93 | 18,61 |
| 0,4 | 33,92 | 1,66 | 33,08 |
| 0,5 | 52,99 | 2,59 | 51,69 |
| 0,6 | 76,31 | 3,74 | 74,43 |
| 0,7 | 103,87 | 5,08 | 101,31 |
| 0,8 | 135,67 | 6,64 | 132,32 |
| 0,9 | 171,70 | 8,41 | 167,47 |
| 1 | 211,98 | 10,38 | 206,75 |
| 1,1 | 256,49 | 12,56 | 250,16 |
| 1,2 | 305,25 | 14,94 | 297,72 |
| 1,3 | 358,24 | 17,54 | 349,40 |
| 1,4 | 415,48 | 20,34 | 405,22 |
| 1,5 | 476,95 | 23,35 | 465,18 |
| 1,6 | 542,67 | 26,57 | 529,27 |
| 1,7 | 612,62 | 29,99 | 597,50 |
| 1,8 | 686,81 | 33,62 | 669,86 |
| 1,9 | 765,24 | 37,46 | 746,36 |
| 2 | 847,91 | 41,51 | 826,99 |
| 2,1 | 934,83 | 45,76 | 911,75 |
| 2,2 | 1025,98 | 50,23 | 1000,66 |
| 2,3 | 1121,37 | 54,89 | 1093,69 |
| 2,4 | 1221,00 | 59,77 | 1190,86 |
| 2,5 | 1324,87 | 64,86 | 1292,17 |
| 2,6 | 1432,98 | 70,15 | 1397,61 |
| 2,7 | 1545,32 | 75,65 | 1507,19 |
| 2,8 | 1661,91 | 81,36 | 1620,90 |
| 2,9 | 1782,74 | 87,27 | 1738,74 |
| 3 | 1907,81 | 93,39 | 1860,72 |
Характеристики
Тип файла документ
Документы такого типа открываются такими программами, как Microsoft Office Word на компьютерах Windows, Apple Pages на компьютерах Mac, Open Office - бесплатная альтернатива на различных платформах, в том числе Linux. Наиболее простым и современным решением будут Google документы, так как открываются онлайн без скачивания прямо в браузере на любой платформе. Существуют российские качественные аналоги, например от Яндекса.
Будьте внимательны на мобильных устройствах, так как там используются упрощённый функционал даже в официальном приложении от Microsoft, поэтому для просмотра скачивайте PDF-версию. А если нужно редактировать файл, то используйте оригинальный файл.
Файлы такого типа обычно разбиты на страницы, а текст может быть форматированным (жирный, курсив, выбор шрифта, таблицы и т.п.), а также в него можно добавлять изображения. Формат идеально подходит для рефератов, докладов и РПЗ курсовых проектов, которые необходимо распечатать. Кстати перед печатью также сохраняйте файл в PDF, так как принтер может начудить со шрифтами.
, град
, м
, м
, кН
, кН
, кН
, кН
, м/с
, кН
, кН
, кН














