ТЗ_ТП_НОВ01_У (1031941), страница 4
Текст из файла (страница 4)
Если текущее время выполнения в такте превысит t_stir, дать сообщение «Превышен интервал ворошения» . Если текущее время выполнения превысит t_stir_max, дать сообщение «Превышен максимальный интервал ворошения» и завершить процесс «Транспортирование_К».
При одновременной активности dc_PZ1_off и dc_PZ1_on завершить процесс «Транспортирование_К» и сообщить «Неисправны датчики положения PZ1» .
Процесс «Транспортирование_В»
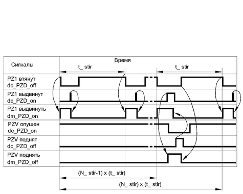
А. Цель процесса – перемещение и ворошение продукта с заданной скоростью по теплообменнику в технологической камере KT. Если процесс «Транспортирование_В» не запущен, блокируется процесс «Шлюз» системы загрузки исходного продукта.
Как и предыдущий, процесс реализует заданное число тактов ворошения N_ stir между конечными положениями штока, заданными герконовыми датчиками исходного положения (сигнал dc_PZ1_off ) и «выдвинут» (сигнал dc_PZ1_ on). В исходном положении происходит задержка, так что время такта ворошения (прямого и обратного движения скребков транспортера) составляет установленное время t_ stir.
На такте N_ stir, когда шток PZ1 в положении «выдвинут», скребки транспортера поднимаются вертикальными пневмоцилиндрами PZV1 и PZV2 и возвращаются назад в поднятом положении. Когда шток PZ1 в положении «втянут», вертикальные пневмоцилиндры PZV1 и PZV2 опускают скребки, благодаря чему продукт перемешается на шаг транспортирования после осуществления N_ stir тактов ворошения.
Б. Критерии начала и окончания - инициируется и останавливается оператором.
В. Участвуют:
Уставка N_ stir ;число тактов ворошения в цикле перемещения
Уставка t_ stir ;период ворошения TВ
Уставка t_ stir_max ;максимально допустимый период ворошения TВ MAX
Сигналы дискретного контроля
dc_PZ1_on ;Первый пневмоцилиндр выдвинут
dc_PZ1_off ;Первый пневмоцилиндр втянут
dc_PZV_on ; Пневмоцилиндры опущены
dc_PZV_off ; Пневмоцилиндры подняты
Сигналы дискретного управления
U_PZ1_on=1 ;Выдвинуть пневмоцилиндр конвейера PZ1
U_PZV_off=1 ;Пневмоцилиндры поднять
Функции состояния пневмоцилиндра конвейера и вертикальных пневмоцилиндров:
int Function StatusP(PZ1)=(0- Выполняет, 1- Втянут, 2 -Выдвинут, 3-Неисправен);
int Function StatusP(PZV)=(0- Выполняют, 1- Подняты, 2 -Опущены, 3-Неисправны).
Г. Сообщения оператору:
1) «Превышен интервал времени ворошения» - если реальная длительность ворошения не укладывается в заданное значение. При этом процесс не выключается и продолжает работать. Для выхода из такой ситуации оператор должен либо увеличить уставку t_ stir, либо произвести регулировку выпускных дросселей DR3 и DR4 пневмоцилиндра PZ1 и дросселей DR5 и DR6 пневмоцилиндра PZV.
2) «Превышен максимальный интервал ворошения» - если реальная длительность ворошения не укладывается в заданное значение t_ stir_max. При этом процесс выключается и блокируется процесс «Шлюз». Для выхода из такой ситуации оператор должен выяснить и устранить причину неработоспособности конвейера.
3) «Неисправны датчики положения PZ1» - если оба сигнала dc_PZ1_on и dc_PZ1_off активны (установлены в 0). При этом процесс выключается и блокируется процесс «Шлюз».
4) «Неисправны датчики положения PZV » - если оба сигнала dc_PZV_on и dc_PZV_off активны (установлены в 0). При этом процесс выключается и блокируется процесс «Шлюз».
Циклограмма работы процесса «Транспортирование_В» представлена на рисунке 3.
Рис. 3.
Д. Содержание процесса «Транспортирование_В»:
После инициализации цикл с периодом (N_stir)x(t_ stir).
Сделать (N_stir -1) одинаковых тактов:
Если пневмоцилиндр PZ1 втянут (активен сигнал dc_PZ1_off), выдвинуть его (сигнал dm_PZ1_on), пока не появится сигнал выдвинут (активен dc_PZ1_on). Как только выдвинут – втянуть и ждать сигнала втянут (dc_PZ1_off). Ждать окончания периода t_stir .
Если текущее время выполнения в такте превысит t_stir, дать сообщение «Превышен интервал ворошения» . Если текущее время выполнения превысит t_stir_max, дать сообщение «Превышен максимальный интервал ворошения» и завершить процесс «Транспортирование_В».
При одновременной активности dc_PZ1_off и dc_PZ1_on завершить процесс «Транспортирование_В» и сообщить «Неисправны датчики положения PZ1» .
При одновременной активности dc_PZV_on и dc_PZV_off завершить процесс «Транспортирование_В» и сообщить «Неисправны датчики положения PZV » .
Сделать такт N_stir:
Если пневмоцилиндр PZ1 втянут (активен сигнал dc_PZ1_off), выдвинуть его (сигнал dm_PZ1_on=1), пока не появится сигнал выдвинут (активен dc_PZ1_on). Как только выдвинут, дать команду dm_PZV_off=1 (штоки PZV поднять) и ждать ее исполнения (активен dc_PZV_off). Затем дать команду dm_PZ1_on=0 (PZ1 втянуть). После ее исполнения (сигнал dc_PZ1_off) опустить штоки PZV (dm_PZV_off=0). После исполнения команды (сигнал dc_PZV_on) ждать завершения периода t_stir .
Если текущее время выполнения в такте превысит t_stir, дать сообщение «Превышен интервал ворошения» . Если текущее время выполнения превысит t_stir_max, дать сообщение «Превышен максимальный интервал ворошения» и завершить процесс «Транспортирование_В».
При одновременной активности dc_PZ1_off и dc_PZ1_on завершить процесс «Транспортирование_В» и сообщить «Неисправны датчики положения PZ1» .
При одновременной активности dc_PZV_on и dc_PZV_off завершить процесс «Транспортирование_В» и сообщить «Неисправны датчики положения PZV » .
2Система нагрева HS (НЭО16в.08.00.00.000)
Предназначена для нагрева поверхности теплообменника, по которому перемещается обрабатываемый продукт, различными способами с помощью горячей воды, получаемой от внешнего источника.
Система состоит из собственно теплообменника, рубашки технологической камеры, трубопроводов подвода и отвода горячей воды, гидроаккумулятора и других элементов, с назначением которых мы ознакомимся в процессе описания системы.
Теплообменник представляет собой плоскую полую панель из алюминиевого сплава длиной два метра и шириной 198.6 мм. Внутренняя полость панели разделена вертикальными перегородками на четырнадцать каналов квадратного сечения. По поверхности панели перемещаются скребки системы транспортирования. Концы теплообменника подключены к каналам подвода и отвода горячей воды.
Вода подается через «Внешний вход горячей воды» (см. лист 1 схемы НЭО16в.00.00.00.00ФС) через расходомер dQHW (расходомер тахометрический ВСТН Ду 50).
Гидроаккумулятор VRV компенсирует гидроудары и препятствует внезапному повышению давления в системе. Температура теплоносителя на входе фиксируется датчиком THin (сигнал ac_TH_in), на выходе – датчиком THout (сигнал ac_TH_out).
Общее количество тепловой мощности, поступающей на установку, может быть рассчитано, как произведение секундного расхода на перепад температур. Пройдя внутри алюминиевого профиля теплообменника навстречу движению продукта, вода поступает на слив. Датчик абсолютного давления PRout на выходном трубопроводе предназначен для измерения давления пара и при работе с водой должен быть снят.
Вход горячей воды для нагрева рубашки технологической камеры осуществляется через клапан KH4, а выход – через клапан KH2 входного участка трубопровода нагрева. Количество отбираемого на рубашку тепла регулируется состоянием клапанов KH2, KH3 и KH4. Расход теплоносителя через рубашку фиксируется датчиком dQR (расходомер тахометрический ВСХд ду 25), температура на выходе – датчиком TRout (датчик температуры ТСП из комплекта теплосчетчика СТ-10).
Состав элементов системы нагрева, имеющих энергетический и информационный интерфейс приведен в таблице 6.
Таблица 6.
| Обозначение | Наименование | Кол. | Примечание |
| dQR | Расходомер тахометрический ВСХд ду 25 | 1 | Расход среды на рубашку. |
| dQHW, | Расходомер тахометрический ВСТН ду 50 | 2 | Расход горячей воды. |
| PHPin | Датчик давления 7MF 1 5 6 4 -5BD00-1AA-H1Y с подключением к процессу G1/2» («папа») | 1 | Давление на входе греющего пара. Абсолютник до 2,5 атм. 4-20 мА, |
| PRout | Датчик давления 7MF 1 5 6 4 -5BB00-1AA-H1Y с подключением к процессу G1/2» («папа») | 1 | Давление на выходе из рубашки. Только для пара, Абсолютник до 1,6 атм. 4-20 мА |
| THin, THout, TRout | Датчик температуры ТСМУ Метран-274-03-100-0,5-Н10-(0...100)гр.С -4-20мА - Т3 - ТУ4211-003-12580824-2001 | 3 |
Описание элементов системы нагрева теплообменника
Расходомеры тахометрические ВСХд ду 25 и ВСТН ду 50
Имеют импульсный выходной сигнал. Подробное описание приведено в Приложении, файл «ВодосчетчикиВСТ.doc».
Датчики температуры TНin, THout и TRout
В качестве датчиков температуры теплоносителя используется согласованные термосопротивления медные с унифицированным выходным сигналом ТСМУ Метран-274-03-100-0,5-Н10-(0...100)гр.С -4-20мА - Т3 - ТУ4211-003-12580824-2001 ГПи. Датчик измеряет температуру в диапазоне 0..100°С с погрешностью 0.5% и имеет выходной сигнал 4..20 мА. Подробное описание конструкции, механического, электрического и информационного интерфейса датчика температуры и других элементов приведено в Приложении в файле «ТСМУ.pdf».
Датчики давления пара PHPout, PHPin
В качестве датчика давления греющего пара на входе PHPin применен датчик абсолютного давления 7MF 1 5 6 4 -5BD00-1AA-H1Y с подключением к процессу G1/2" фирмы Siemens, с выходным сигналом 4..20 мА и погрешностью 0.25% и верхним пределом измеряемого давления в 250КПа.
В качестве датчика давления греющего пара на выходе PHPout применен датчик абсолютного давления 7MF 1 5 6 4 -5BB00-1AA-H1Y с подключением к процессу G1/2" фирмы Siemens, с выходным сигналом 4..20 мА и погрешностью 0.25% и верхним пределом измеряемого давления в 160КПа.
Подробное описание механического и информационного интерфейса датчиков приведено в Приложении, в файле «seriez.pdf».
Процесс системы нагрева «Расход тепла»
В системе нагрева теплообменника функционируют процесс «Расход тепла». При этом используются также показания датчиков системы снабжения холодной водой CW (НЭО16в.07.00.00.000).
А. Цель процесса – сбор и передача информации о процессе нагрева теплообменника и рубашки камеры и отвода тепла в конденсоре.
Б. Критерии начала и окончания - инициируется и останавливается оператором.
В. Участвуют:















