Лабы по БЖД (1023163)
Текст из файла
ФЕДЕРАЛЬНОЕ АГЕНСТВО ПО ОБРАЗОВАНИЮ
ГОСУДАРСТВЕННОЕ ОБРАЗОВАТЕЛЬНОЕ УЧРЕЖДЕНИЕ
ВЫСШЕГО ПРОФЕССИОНАЛЬНОГО ОБРАЗОВАНИЯ
«МОСКОВСКИЙ ГОСУДАРСТВЕННЫЙ ИНСТИТУТ
РАДИОТЕХНИКИ, ЭЛЕКТРОНИКИ И АВТОМАТИКИ
(ТЕХНИЧЕСКИЙ УНИВЕРСИТЕТ)»
Отчет о выполнении лабораторных работ по дисциплине «Безопасность жизнедеятельности»
Выполнила: Мордвинцева М.В.
Группа: ВССУ-8н-06
Москва 2010
Лабораторная работа №2
Устройства защитного отключения
Цель работы – изучение области применения, назначения, принципа действия, конструкции и основных технических характеристик устройств защитного отключения (УЗО).
Структурная схема УЗО: i - дифференциальный трансформатор тока; 2 - пороговый элемент; 3 - исполнительный механизм; 4 - цепь тестирования; 5 -силовые контакты; 6 защитный контакт пени тестирования; Т-кнопка «Тест»; RT - тестовый резистор; 1, 2, N - клеммы УЗО
Порядок выполнения работы
1.1. Измерение отключающего дифференциального тока IΔ в зависимости от формы дифференциального тока и значения тока нагрузки.
Увеличивая дифференциальный ток регулятором «IΔ » фиксируем факт срабатывания УЗО. Значение тока, при котором произошло срабатывание, заносим в таблицу.
| Диф ток | Без нагрузки | Ток нагрузки IH, А | ||
| 2 | 5 | 8 | ||
| синусоидальный | 24,5 | 24 | 24,5 | 24,5 |
1.2. Измерения времени отключения Т при изменении дифференциального отключающего тока
Полученные результаты заносим в таблицу.
| Дифференциальный ток | Кратность дифференциального тока | ||
| IΔ n | 2 IΔ n | 5 IΔ n | |
| синусоидальный | 24,4 | 21,4 | 17,1 |
1.3.Измерение времени отключения Т в зависимости от значения тока нагрузки
Полученные результаты заносим в таблицу 6.
| Дифференциальный ток | Кратность дифференциального тока | ||
| 2 | 5 | 8 | |
| IΔ n | 25,4 | 23 | 27,4 |
| 2 IΔ n | 20,4 | 20,3 | 22,1 |
| 5 IΔ n | 17,3 | 16,4 | 17,4 |
Лабораторная работа №1
Исследование электробезопасности трехфазных сетей
Цель работы:
Изучить используемые в промышленности трехфазные схемы питания потребителей. Ознакомиться с возможными вариантами однофазных включений человека в электрическую сеть и методикой оценки опасности таких включений. Изучить критерии электробезопасности.
Для питания электропотребителей используется два вида трехфазных сетей:
a)c изолированной от земли источника питания
б) с однофазной нейтралью
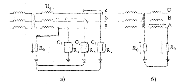
Ток через человека с сопротивлением Rh замыкается по этим проводимостям на источник питания с фазным напряжением Uф. Рис. а.
Рис. 1. Схемы прохождения токов однофазного прикосновения в трехфазных сетях с изолированной ( а ) и заземленной ( б ) нейтралью источника питания
В сети с заземленной нейтралью ток через человека протекает но цепи, создаваемой в основном сопротивлением рабочего заземлителя Ro ( рис. 16 ).
Порядок выполнения работы
Опыт 1. Сеть с изолированной нейтралью в симметричном режиме
Изменяя Rиз, снять экспериментальную зависимость Ih (Rиз) при Сф =0. Результаты занести в таблицу 1.
| Сф ,мкФ | 0 | ||||
| Rиз, кОМ | 1 | 2 | 5 | 10 | 400 |
| Ih эксп, мА | 160 | 120 | 80 | 50 | 0 |
| Ih расчет, мА | 220 | 110 | 44 | 22 | 0,5 |
Таблица 1.
Рассчитаем ток Ih (Rиз) при Сф =0 (емкость фазного провода относительно земли)по формуле:
Ih = 3Uф / (3 Rh + с)
где, Uф – фазное напряжение = 220 В
Rh – сопротивление человека = 1 кОМ
Установим значение Rh = ∞. Изменяя величину Сф, снять экспериментальную зависимость Ih (Сф ). Результаты занесем в таблицу 2.
Рассчитаем ток Ih (Сф) при Rh = ∞ по формуле:
Ih = 3Uф / √9R2h + (1/ωC)2
где, ω – угловая частота сети = 2π∫, рад/с (∫=50Гц);
| Rиз, кОМ | ∞ | |||||
| Сф ,мкФ | 0 | 0,1 | 0,2 | 0,5 | 1 | 1,5 |
| Ih эксп, мА | 0 | 20 | 60 | 100 | 160 | 180 |
| Ih расчет, мА | 0 | 220 | 221,7 | 220,3 | 219,5 | 219,2 |
Таблица 2.
Построим графики расчетных и экспериментальных зависимостей.
График 1.
График 2.
График 3.
График 4.
Опыт 2. Сеть с изолированной нейтралью в несимметричном режиме.
В соответствии со строками таблицы3, измерить токи однофазного прикосновения в несимметричном режиме. Результаты занесем в таблицу 3.
| Ra | Rb | Rc | Ih эксп, мА | Ih расч, мА |
| R1 | R2 | R3 | 80 | 264 |
| R3 | R1 | R2 | 180 | 112 |
| R2 | R3 | R1 | 140 | 235 |
Таблица 3.
Емкость фаз относительно земли Сф = 0
R1 = 1 кОМ
R2 = 2 кОМ
R3 = 5 кОМ
Rh = 1 кОм
Рассчитать токи однофазного прикосновения в симметричном режиме. однофазного прикосновения в несимметричном режиме по формуле:
Ih= Uф gh /2 * (√9(gb + gc )2 + 3(gb - gc )2 )/ gа + gc + gb + gh
где, gh – проводимость тела человека, См;
gа , gc , gb – проводимости изоляции фаз, См;
Опыт 3. Сеть с заземленной нейтралью
Рассчитать ток однофазного прикосновения. Снять зависимость тока однофазного прикосновения в сети с заземленной нейтралью от сопротивления изоляции при Сф = 0.
Рассчитаем по формуле:
Ih = Uф / R h
Заносим данные в таблицу.
| Rиз, кОМ | 1 | 2 | 5 | 10 | 400 |
| Ih эксп, мА | 200 | 200 | 200 | 200 | 200 |
| Ih расчет, мА | 220 | 220 | 220 | 220 | 220 |
Таблица 4.
Лабораторная работа №4
Исследование интенсивности электромагнитных полей на рабочем месте.
Цель работы: изучить методику измерения интенсивности (плотности потока мощности) электромагнитных полей СВЧ диапазона на рабочем месте, ознакомиться с основами теории биологического действия ЭМП, с принципом нормирования ЭМП радиочастот, принципами и методами защиты от ЭМП.
Сведения из теории
В настоящее время существует две теории, объясняющие биологическое действие ЭМП на человека.
-
Энергетическая теория, основанная на тепловом эффекте, когда воздействие объясняется дополнительной, внесенной извне и рассеянной в организме энергией, перешедшей, в конечном счете, в тепловую форму. Существование потерь энергии ЭМП на токи проводимости и смещения в тканях организма приводит к образованию тепла при облучении. Когда интенсивность ЭМП достигает таких значений (10 мВт/см2), что терморегуляционный механизм не справляется с рассеянием избыточного тепла, то начинается неизбежное повышение температуры тела, что и называется тепловым эффектом воздействия ЭМП. Известно, что перегревание тела отрицательно отражается на функциональном состоянии организма человека и повышение его температуры на 1оС и выше недопустимо.
-
Информационная теория, основанная на слабых воздействиях, когда энергия, сообщенная отдельной заряженной частице, меньше ее кинетической энергии. Наряду с энергетическими взаимодействиями в биологических процессах существенную (если не главную) роль играют информационные взаимодействия. Биологические эффекты, обусловленные этими взаимодействиями, зависят уже не от величины энергии, вносимой в ту или иную систему, а от количества и качества вносимой в нее информации. Сигнал, несущий информацию, вызывает только перераспределение энергии в самой системе, управляет происходящими в ней процессами.
Нормирование интенсивности ЭМП, как и всякой другой профвредности, состоит из двух этапов. Первый – выбор и обоснование нормируемого параметра ЭМП, адекватно характеризующего степень воздействия. Второй – установление предельно допустимого уровня выбранного параметра.
Согласно ГОСТ 12.1.006-84 (электромагнитные поля радиочастот) в диапазоне частот 60кГц – 300МГц в качестве нормируемых параметров используется напряженность электрической Е (В/м) и магнитной Н (А/м) составляющих поля, а в диапазоне частот 300МГц – 300ГГц в качестве нормируемого параметра используется поверхностная плотность потока энергии (ППЭ) излучения и создаваемая им энергетическая нагрузка (ЭН)
Характеристики
Тип файла документ
Документы такого типа открываются такими программами, как Microsoft Office Word на компьютерах Windows, Apple Pages на компьютерах Mac, Open Office - бесплатная альтернатива на различных платформах, в том числе Linux. Наиболее простым и современным решением будут Google документы, так как открываются онлайн без скачивания прямо в браузере на любой платформе. Существуют российские качественные аналоги, например от Яндекса.
Будьте внимательны на мобильных устройствах, так как там используются упрощённый функционал даже в официальном приложении от Microsoft, поэтому для просмотра скачивайте PDF-версию. А если нужно редактировать файл, то используйте оригинальный файл.
Файлы такого типа обычно разбиты на страницы, а текст может быть форматированным (жирный, курсив, выбор шрифта, таблицы и т.п.), а также в него можно добавлять изображения. Формат идеально подходит для рефератов, докладов и РПЗ курсовых проектов, которые необходимо распечатать. Кстати перед печатью также сохраняйте файл в PDF, так как принтер может начудить со шрифтами.
















