Учебное пособие по жлектробезопасности (1023094), страница 2
Текст из файла (страница 2)
Ниже приведены наибольшие допустимые значения напряжений прикосновения и токов для производственных электроустановок при аварийных режимах (для 50Гц):
t,c 0,08 0,1 0,2 0,3 0,4 0,5 0,6 0, 7 0,8 0, 9 1 >1
Unp,B 550 340 160 135 120 105 95 85 75 70 60 20
Ih,мА 650 400 190 160 140 125 105 90 75 65 50 6
2.4.Классификация помещений и условий работы ,
По степени опасности поражения электрическим током ПУЭ подразделяют все помещения на три класса:
- с повышенной опасностью, характеризуются одним из признаков: сырость >75%; токопроводящая пыль; .токопроводящие полы; температура 35°С длительно (>2ч в смену); возможность одновременного прикосновения к заземленным частям здания (коммуникациям) и металлическим частям электроустановки)
- особо опасные: сырость 100%; химически активная среда; два и более признаков повышенной опасности.
- без повышенной опасности: отсутствуют вышеуказанные признаки.
Территория размещения наружных электроустановок в отношении опасности поражения электрическим током приравнены к особо опасным помещениям.
2.5.Способы и средства электрозащиты
В соответствии с ГОСТами [2,9] в электроустановках должны быть предусмотрены меры, обеспечивающие защиту как от непосредственного прикосновения к токоведущим частям (прямого контакта), так и от косвенного прикосновения, т.е. соприкосновения с открытыми проводящими частями, которые могут оказаться под напряжением в случае повреждения.
Способы и средства можно подразделить на три вида:
а) Организационные, снижающие вероятность прикосновения человека к токоведущим частям электроустановки: инструктаж, применение индивидуальных среде защиты, правильная организация рабочего места и режима труда, применение предупреждающих плакатов, сигнализация о включении напряжения и т.д.;
б) Организационно-технические, препятствующие появлению напряжения на нетоковедущих частях электроустановки: ограждение и изоляция токоведущих частей (рабочая, дополнительная, усиленная, двойная) с устройством непрерывного контроля, применение блокировок, переносных заземлителей, изолированных рабочих мест, обеспечение безопасных режимов работы сети;
в) Технические, обеспечивающие защиту человека, при попадании под напряжение:
-компенсация емкостных токов утечки;
-защитное заземление;
-зануление;
-защитное отключение с самоконтролем;
-выравнивание потенциалов;
-применение малого напряжения (42В);
-электрическое разделение сетей;
-защита от перехода высокого напряжения на сторону низкого напряжения;
-защита от замыканий на землю.
Эти способы и средства применяют отдельно или в сочетании в зависимости от напряжения сети, рода тока, режима нейтрали трансформатора, возможных условий включения человека в цепь тока (двухфазное, однофазное прикосновение к голым проводам или частях, оказавшимся под напряжением, попадание под напряжение в зоне растекания тока и др.)
3. Анализ опасности электрических сетей с заземленной и изолированной нейтралью
Протекание тока через тело человека возможно при его включении в электрическую цепь, для чего необходимо прикосновение человека не менее чем к двум точкам цепи, .между которыми существует некоторая разность потенциалов. Опасность поражения зависит от величины напряжения и условий включения.
Рассмотрим сети переменного тока. Для питания потребителей используются однофазные и трехфазные сети, причем чаще всего трехфазные. Трехфазные сети могут быть выполнены по разным схемам, однако в нашей стране наибольшее применение имеют две: трехпроводная с изолированной нейтралью и четырехпроводная с заземленной нейтралью. При этом в четырехпроводных сетях заземление нейтрали источника тока (трансформатора, генератора) выполняют, соединяя с заземлителем либо непосредственно, либо через малое сопротивление (напр, через трансформатор тока).
Нейтралью источника называют среднюю точку обмотки, напряжение которой относительно всех внешних выводов обмотки одинаково по абсолютной величине. Заземленная нейтральная точка называется нулевой точкой, а проводник, присоединенный к нулевой точке, называют нулевым проводником.
Схемы включения человека в цепь тока могут быть различными, однако наиболее характерны две схемы: между двумя фазами электрической сети и между одной фазой и землей. Во втором случае подразумевается электрическая связь между сетью и землей, которая может быть обусловлена несовершенством изоляции проводов относительно земли, наличием емкости между проводами и землей, заземлением нейтрали источника. Ниже рассмотрены эти схемы включения.
Двухфазное включение (одновременное прикосновение к двум фазам) в трехфазной сети. В этом случае человек попадает под междуфазное напряжение, которое и определяет величину тока через человека. В наиболее распространенных электрических сетях 220/380 В, это напряжение равно 380 В.
Uф
Рис.З. Путь тока при двухфазном прикосновении
Значение тока через тело человека при этом равно: Ih=Uл/Rh ; Uл =
*U, тогда Ih=380/1000=380мА. Такой ток при времени протекания более 0,08с смертельно опасен. (см.стр.7)
Однофазное прикосновение в сети с заземленной нейтралью. Схема такого включения показана на рис.4.
Если не учитывать сопротивление пола (напр., пол металлический, R0) и сопротивление обуви (надо рассматривать наиболее тяжелый случай), то ток, протекающий через человека в этом случае, является смертельно опасным при длительности около 0,2с (см.стр.7).
Ih=Uф/Rh =220/1000=220мА
Uф
Рис.4. Однофазное прикосновение
Третий вариант включения - однофазное прикосновение в сети с изолированной нейтралью.
Ток поражения в этом случае зависит от активного и емкостного сопротивления изоляции проводов, а также сопротивления тела человека.
Из-за несовершенства изоляции всегда имеют место утечки тока через ее активную и емкостную проводимости (рис.5а). Эти параметры линии являются распределенными по длине и растут с ее увеличением.
Рис.5.Схемы изоляции: а-рабочая; б-эквивалентная
Эквивалентная схема замещения состоит из двух ветвей: активное сопротивление Rиз и емкостное
Фактически распределенные по длине линии сопротивления изоляции условно на схемах заменяют сосредоточенными параметрами.
Переходя от сопротивления к проводимости, получим:
, где
gиз= 1/Rиз , а bиз=*cиз
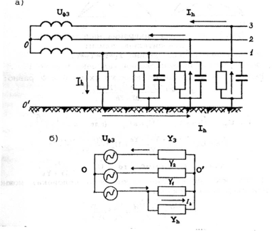
Ток через человека, прикоснувшегося, напр., к фазе 1, стекает на землю и, далее, по распределенным проводимостям изоляции двух других фаз и по фазным проводам возвращается к трансформатору.
Рис.6 Схемы трехфазной сети с изолированной нейтралью
а) принципиальная схема; б) схема замещения Прикосновение человека к одной из фаз нарушает симметричный режим сети и вызывает так называемый перекос фаз - напряжения разных фаз относительно земли становятся неодинаковыми. На рис.7, показано как меняются вектора напряжений при прикосновении человека к 1 фазе. Значение тока Ih можно определить, напряжение этой фазы относительно земли.
Рассчитаем Ih в случае однофазного прикосновения. В симметричном режиме при Y1=Y2=Y3=Y потенциал нейтрали (точка О) равен потенциалу земли (точка О’ ), (рис.Та.) Симметрия нарушается, когда человек коснется фазы (рис. 76) . В этом случае между указанными точками (двумя узлами схемы) появляется разность потенциалов, которую можно найти по известному методу
Двух узлов.
Рис.7. Векторная диаграмма напряжений фаз относительно земли
а - в симметричном режиме Y1=Y2=Y3=Y,
б - в случае прикосновения человека к фазе 1
Н
апряжение между двумя точками схемы О и О’ равно
Тогда ток, проходящий черед тело человека, можно найти следующим образом:
В
действительной форме ток будет равен:
Рассмотрим частные случаи прикосновения к сети: а) В электропроводках небольшой протяженности емкость проводов относительно земли мала Сиз0. В этом случае Zиз = Rиз, тогда ток Ih равен:
Очевидно, что с увеличением Rиз ток через человека при прикосновении к фазному голому проводу будет уменьшаться. Эта зависимость представлена на рис.8.
107
Рис.8. Зависимость тока Ih от сопротивления Rиз
б
) Воздушные протяженные сети, кабельные линии даже при хорошей изоляции (Rиз ) представляют опасность для человека из-за больших значений емкостей относительно земли. Напр., удельная емкость одной фазы кабеля в зависимости от сечения составляет от 0,15 до 0, 45 мкФ/км. Пренебрегая активной проводимостью изоляции, ток Ih можно найти по формуле:
Зависимость тока поражения от емкости фаз относительно земли представлена на рис.9.
Рис.9. Зависимость тока Ih от емкости
4. Электрическая изоляция
электрических установках изоляция элементов, находящихся под напряжением, является одним из основных (а иногда и единственным) средств электрозащиты. Она обеспечивает решение следующих задач:
-препятствует замыканию токоведущих частей электроустановок на корпус и землю;
















