Микропроцессоры компании Analog Devices (1015569), страница 6
Текст из файла (страница 6)
Представители этого семейства получили большую популярность у разработчиков. Учитывая значительный объем программных наработок для микропроцессоров TMS320C3x, Texas Instruments в последствии повторно выпустила это семейство, но уже по новой технологии 0,18 мкм, с увеличенной внутренней памятью (34 Кслов), повышенной тактовой частотой и меньшим энергопотреблением. Производительность обновленного микропроцессора составила 150 Mflops.
Основными областями применения микропроцессоров семейства СЗх являются: цифровое аудио, ЗD-графика, видеоконференцсвязь, промышленные роботы, копировально-множительная техника, телекоммуникационные системы.
Микропроцессоры семейства TMS320C4X
Следующими представителями сигнальных процессоров с плавающей точкой явились процессоры семейства TMS320C4x.
Благодаря своей уникальной архитектуре микропроцессоры TMS320C4x получили широкое распространение в мультипроцессорных системах и практически вытеснили ранее господствующее в этой технологической нише семейства транспьютеров компании Inmos.
Процессоры TMS320C4x совместимы по системе команд с TMS320C3x, однако обладают большей производительностью и лучшими коммуникационными возможностями.
В семейство TMS320C4x входят процессоры TMS320C40, TMS320C44, TMS320LC40.
TMS320C40 - имеет производительность 30 MIPS/60 Mflops и максимальную пропускную способность подсистемы ввода/вывода 384 Мбайт/с. С40 содержит на кристалле 6 высокоскоростных (20 Мбайт/с) коммуникационных портов и 6 каналов ПДП, 2 Кслов памяти, 128 слов кэш-памяти программ и начальный загрузчик. Две внешних шины обеспечивают работу с 4 Гслов объединенного адресного пространства.
Процессор TMS320C44 - более дешевый вариант, имеющий 4 коммуникационных порта и адресуемое пространство 32 Мслов. Однако значения показателей производительности и пропускной способности процессора те же, что и у С40.
TMS320LC40 - архитектурный аналог TMS320C40, отличающийся низким энергопотреблением, повышенной производительностью (40 MIPS/80 Mflops) и большей пропускной способностью (488 Мбайт/с).
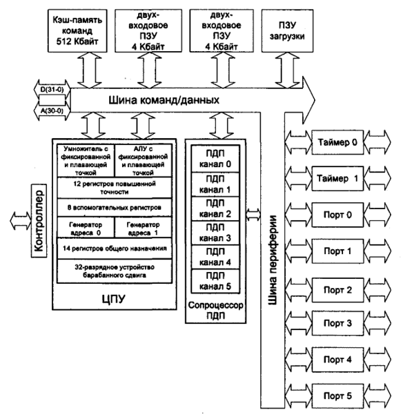
Структура микропроцессора TMS320C40 приведена на рис. 8.
Рис. 8. Структура микропроцессора TMS320C40
Центральный процессор TMS320C4x имеет конвейерную регистро-ориентированную архитектуру. Компонентами ЦП являются:
-
умножитель;
-
арифметико-логический модуль;
-
32-разрядное барабанное устройство сдвига;
-
внутренние шины;
-
дополнительные модули регистровой арифметики;
-
регистровый файл.
Умножитель выполняет операции над 32-разрядными данными в формате с фиксированной точкой и 40-разрядными данными в формате с плавающей точкой, причем умножение производится за один такт (25 нч) для данных любого типа и параллельно с обработкой данных в других функциональных блоках микропроцессора (например, АЛУ).
АЛУ выполняет за один такт операции над 32-разрядными целыми и логическими данными и 40-разрядными числами в формате с плавающей точкой, в том числе и операции преобразования форматов представления данных. Микропроцессор аппаратно поддерживает операции деления и извлечения квадратного корня. Устройство барабанного сдвига позволяет за один такт выполнить сдвиг данных влево или вправо на число позиций от 1 до 32.
Два дополнительных модуля регистровой арифметики (генераторы адреса) функционируют параллельно с умножителем и АЛУ и могут генерировать два адреса в одном такте. В процессоре поддерживается относительная базовая, базово-индексная, циклическая и бит-реверсивная адресации.
Первичный регистровый файл центрального процессорного устройства (ЦПУ) представляет собой многовходовый файл из 32 регистров. Все регистры первичного регистрового файла могут использоваться умножителем, АЛУ и в качестве регистров общего назначения. Регистры имеют некоторые специальные функции. Например, 12 регистров повышенной точности могут использоваться для размещения результатов операций с плавающей точкой, 8 дополнительных регистров - для некоторых косвенных способов адресации, а также как целочисленные и логические регистры общего назначения. Остальные регистры обеспечивают функции системы такие, как адресация, управление стеком, прерывания, отображение статуса процессора, повторы блоков команд.
Регистры повышенной точности предназначены для хранения и обработки 32-разрядных целых чисел и 40-разрядных чисел с плавающей точкой. Дополнительные регистры доступны как для АЛУ, так и для двух модулей адресной арифметики. Основная функция этих регистров - генерация 32-разрядных адресов. Они также могут использоваться как счетчики циклов или как регистры общего назначения.
Адресуемое микропроцессором пространство составляет 4 Гслов 32-разрядных. На кристалле расположены два двухвходовых блока оперативной памяти RAM0 и RAM1 размером 4 Кбайт каждый, а также двухвходовый блок ROM, содержащий программу начальной загрузки.
Кэш-память команд процессора емкостью 128 слов (32-разрядных) содержит наиболее часто используемые участки кода, что позволяет сократить среднее время выборки команд. Высокая производительность TMS320C4x достигается благодаря внутреннему параллелизму процессов и многошинной организации процессора. Раздельные шины позволяют одновременно выполнять выборку команды, данных и прямой доступ в память.
Шесть (С44 четыре) высокоскоростных (160 Мбит/с) коммуникационных портов обеспечивают эффективный обмен данными между процессорами. В ходе передачи осуществляется буферизация передаваемых и принимаемых данных и автоматический контроль за синхронизацией всех обменных операций между каналами, центральным процессором и сопроцессором ПДП. Шесть каналов сопроцессора ПДП содержат собственные генераторы адресов, счетчики, входные и выходные регистры и обеспечивают возможность одновременного бесконфликтного обращения к памяти, обмена данными с медленными модулями памяти и внешними устройствами, без снижения производительности процессора. Особенностью сопроцессора ПДП является способность автоматической инициализации каналов после выполнения обмена.
Линк Ly, у = 0, ..., 5, состоит из 8-разрядной двунаправленной линии данных Dу (7-0) и двунаправленных одноразрядных управляющих линий для передачи сигналов:
-
REQy - запрос коммуникационным портом маркера, разрешающего передачу по линку;
-
АСКу - подтверждение предоставления линка для передачи данных;
-
STRy - строб коммуникационного порта, сопровождающий выдачу данных на линии данных;
-
CRDYy - сигнал готовности коммутационного порта к приему, выдаваемый принимающим С4х по завершении приема предыдущей порции данных.
Линии данных и управляющие линии реализованы как двунаправленные, что приводит к необходимости согласования состояний портов линков, соединяющих два микропроцессора: один порт обязательно передающий, другой - принимающий, либо оба порта находятся в третьем состоянии, исключающем передачу электрических сигналов между ними. При начальной установке обязательно выполнение этого требования, которое дальше поддерживается протоколом функционирования линка. Передающий порт отмечается маркером, который передается другому порту при смене направления передачи по линку. Передача маркера происходит за 4 такта.
Очереди портов
Каждый порт имеет входную и выходную FIFO-очереди. Процессор или канал ПДП пересылают данные в конец выходной FIFO-очереди порта для передачи их по линку. Выборка принятых данных выполняется из начала входной FIFO-очереди. Обе очереди имеют по 8 элементов, каждый из которых предназначен для хранения 32-битного слова. При соединении двух С4х в каждом линке образуется очередь в 16 элементов: 8 элементов на одном конце линка и 8 элементов на другом конце линка.
Интерфейс линков
Программное управление передачами данных по линкам выполняется путем записи соответствующих кодов в регистры состояния и управления линков. Для каждого линка в С4х выделена часть адресного пространства размером 16 слов:
-
первое слово содержит управляющий регистр порта;
-
второе слово является элементом 0 входной FIFO-очереди;
-
третье слово служит элементом 7 выходной FIFO-очереди;
-
остальные слова резервные.
Поля и отдельные биты управляющего регистра определяют:
-
направление передачи порта: входной или выходной;
-
прекращение функционирования порта как входного и переключение на функционирование как выходного;
-
прекращение функционирования порта как выходного и готовность переключиться в режим входного порта;
-
указатель заполненности выходной очереди;
-
указатель заполненности входной очереди.
Функционирование линков
Когда функционирование порта как входного прекращено, он не дает сигнала готовности к приему после получения первого байта. Передача данных останавливается до момента переключения порта в режим входного порта или до поступления сигнала сброса. При этом передача данных после возобновления идет без потери байтов.
Коммуникационный порт не выдает подтверждения на запрос маркера в следующих случаях:
-
его функционирование как входного порта прекращено;
-
порт имеет заполненную входную FIFO-очередь.
При этом порт, сохранив маркер, может функционировать как выходной.
Если коммуникационный порт прекращает функционировать в качестве входного порта в момент приема запроса маркера, то подтверждение на запрос маркера выдается до остановки.
Прекращение функционирования порта как выходного приводит к следующим последствиям:
-
если выходной порт не имеет маркера и его функционирование как выходного порта прекращено, то запрос на маркер не высылается;
-
если выходной порт имеет маркер и идет передача, то после выдачи передаваемого слова следующее слово не передается;
-
если выходной порт имеет маркер и его функционирование как входного порта не прекращено, а функционирование как выходного порта прекращено, то при запросе маркера он должен быть передан;
-
при установке функционирования порта как выходного при наличии маркера передача возобновляется; при отсутствии маркера она должна быть запрошена в обычном порядке.
Основной механизм синхронизации базируется на сигналах "готов/не готов". Если канал прямого доступа в память или центральный процессор пытаются прочитать из пустой входной очереди или записать в полную выходную очередь, выдается сигнал "не готов" и каналы ПДП или ЦП продолжат чтение или запись после получения сигнала "готов".
Сигналом готовности для выходного канала является OCRDY (Output Channel Ready), который также является сигналом прерывания. Сигналом готовности для входного канала является ICRDY (Input Channel Ready), который также является сигналом прерывания.
Каждый порт способен генерировать четыре различных сигнала прерывания:
-
входная очередь полна (input channel full);
-
входной канал готов (input channel ready);
-
выходной канал готов (output channel ready);
-
выходная очередь пуста (output channel empty).
ЦП может обрабатывать все 4 сигнала, а канал ПДП только сигналы готовности.
Два 32-разрядных таймера могут работать как с внутренней, так и с внешней синхронизацией, осуществлять подсчет временных интервалов и внешних событий, выдавая сигналы процессору или во внешнюю среду.
Микропроцессоры семейства TMS320C8X
Микропроцессор TMS320C80, выпущенный в конце 1994 года, имеет второе название - MVP (Multimedia Video Processor - мультимедийный видеопроцессор), что обусловлено его высокой эффективностью на задачах обработки изображений, в системах виртуальной реальности, компрессии и декомпрессии видео- и аудиоданных, обработки связной информации.
TMS320C80 представляет собой новый подход к повышению производительности и функциональности цифровых сигнальных процессоров: в одной микросхеме объединено четыре усовершенствованных цифровых процессора обработки сигналов (ADSP - Advanced Digital Signal Processor), каждый из которых выполняет за такт несколько RISC-операций, и пятый процессор, называемый главным процессором (Master Processor - МР), - 32-разрядный процессор с высокопроизводительным устройством обработки чисел в формате с плавающей точкой. В дополнение к процессорному ядру на кристалле размещены:
-
контролер обмена (ТС - Transfer Controller) - интеллектуальный контроллер ПДП, поддерживающий интерфейс с DRAM и SRAM;
-
видеоконтроллер (VC - Video Controller);
-
порт тестирования и отладки - JTAG;
-
50 Кбайт SRAM.
Выпускается также упрощенный вариант микропроцессора TMS320C82, который отличается меньшим объемом памяти, количеством сигнальных процессоров ADSP (2), отсутствием видеоконтроллера и, соответственно, меньшей стоимостью.















