Микропроцессоры компании Analog Devices (1015569), страница 4
Текст из файла (страница 4)
Микропроцессор ADSP-21535 - первый представитель семейства микропроцессоров Blackfin, с микросигнальной архитектурой, разрабатываемой совместно компаниями Analog Devices и Intel. Процессор выпускается с начала 2002 года в двух вариантах: ADSP-21535PKB-300 (для частоты 300 МГц) и ADSP-21535PKB-200 (для частоты 200 МГц).
Особенностью данной архитектуры является сочетание в одном микропроцессоре возможностей сигнальной обработки, SIMD-обработки мультимедийных данных и RISC-подобного набора команд.
ADSP-21535 отличает чрезвычайно низкое энергопотребление при достаточно высокой производительности и широком наборе интегрированных периферийных устройств.
Производительность микропроцессора на операции "умножение с накоплением" (MAC) составляет: при частоте 300 МГц - 600 MMACS, при частоте 200 МГц - 400 MMACS.
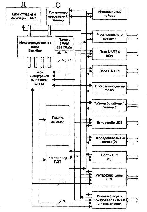
На кристалле (рис. 11) помимо микропроцессорного ядра содержатся 256 Кбайт статической памяти, контроллер ПДП, контроллер прерываний, блок интерфейса системной шины, память загрузки, таймеры, контроллер внешней памяти, контроллер шины PCI, интерфейс USB, универсальный асинхронный интерфейс (UART - Universal Asynchronous Receiver/Transmitter) блок эмуляции и отладки JTAG.
Рис. 11. Структура микропроцессора Blackfin
Ядро ADSP-21535 состоит из 3 компонентов: устройство вычисления адреса, устройство управления и устройство обработки данных (рис. 12).
Рис. 12. Ядро микропроцессора Blackfin
Устройство вычисления адреса содержит два генератора адреса (DAG0 и DAG1), использующие общий регистровый файл. Регистровый файл включает 4 набора регистров: индексный, модификатор, длины, базы. Восемь дополнительных 32-разрядных регистров могут использоваться совместно с основными индексными регистрами в качестве указателей позиций стека и памяти.
Устройство управления содержит блок формирования последовательности команд (Sequencer), блоки выделения и декодирования команд, а также буфер команд цикла (для локального сохранения команд в целях сокращения числа обращений к памяти команд).
Устройство обработки данных содержит 9 вычислительных устройств: 2 блока выполнения операций умножения с накоплением (MAC), два 40-разрядных АЛУ, четыре видео-АЛУ и устройство барабанного сдвига. Вычислительные устройства обрабатывают 8-, 16- или 32-разрядные данные, содержащиеся в регистровом файле.
Каждая команда MAC осуществляет умножение 16-разрядных данных за один процессорный такт с формированием 40-разрядного результата. Каждое АЛУ может выполнять стандартный набор арифметических и логических операций, большинство из которых выполняется за один процессорный такт. Содержимое восьми 32-разрядных регистров может интерпретироваться АЛУ как 32-разрядные данные или как пара 16-разрядных данных. За один процессорный такт 2 АЛУ могут вычислять до 4 результатов операций над 16-разрядными данными.
Устройство барабанного сдвига может выполнять простые и циклические сдвиги, нормализацию над 40-разрядным операндом, извлечение и хранение данных.
В микропроцессоре реализована модифицированная гарвардская архитектура в комбинации с иерархической структурой памяти. Вся память микропроцессора рассматривается как унифицированное адресное пространство размером до 4 Гбайт.
Первый уровень иерархии памяти работает на частоте ядра и имеет минимальное время доступа. Память команд этого уровня (16 Кбайт на кристалле) содержит только команды. Память данных первого уровня иерархии (два банка по 16 Кбайт на кристалле) содержит, наряду с данными, стек и локальные переменные. К этому же уровню иерархии относится и внутренняя память промежуточных результатов (scratchpad) размером 4 Кбайт. Память первого уровня может быть сконфигурирована как быстрая память прямого доступа или как кэш-память (за исключением scratchpad).
Второй уровень иерархии памяти - это внутренняя (256 Кбайт SRAM) и внешняя память, доступ к которой осуществляется за несколько процессорных тактов. Память этого уровня является общей для команд и данных.
Большое внимание при создании микропроцессоров семейства Blackfin разработчики уделили сокращению энергопотребления. В них реализовано гибкое динамическое управление питанием: в зависимости от интенсивности вычислений изменяется напряжение питания и тактовая частота работы микропроцессора.
Дальнейшее развитие семейства идет в направлении повышения производительности, сокращения энергопотребления и использования проблемно-ориентированного набора периферии.
К другим представителям семейства Blackfin относятся:
-
ADSP-21532 - с частотой 300 МГц, процессор оснащен звуковым (I2S), видео (CCIR-656) интерфейсами, а также содержит 640 Кбит SRAM и встроенный регулятор напряжения;
-
ADSP-BF533 - это наиболее производительный микропроцессор семейства. На тактовой частоте 600 МГц он выполняет 1200 ММАС в секунду. Процессор содержит на кристалле 1,2 Мбит статической высокоскоростной памяти, встроенный регулятор напряжения и набор периферии, ориентированный на широкий круг задач обработки мультимедийных данных. Потребление энергии данным микропроцессором составляет 280 мВт.
Новые Blackfin-процессоры поддерживают встраиваемые операционные системы, такие как Linux Embedded, ThreadX и Nucleus.
Сигнальные процессоры компании Texas Instruments
Введение
Сигнальные процессоры компании Texas Instruments разделяются на два класса: процессоры для обработки чисел с фиксированной точкой и процессоры для обработки чисел с плавающей точкой (рис. 1). Первый класс представлен тремя семействами процессоров, базовыми моделями которых являются соответственно TMS320C10, TMS320C20, TMS320C50. Второй класс включает процессоры TMS320C30, TMS320C40. TMS320C80 также поддерживает операции с плавающей точкой и представляет собой мультипроцессорную систему, выполненную в одном кристалле, а семейство TMS320C6x включает процессоры как с фиксированной, так и с плавающей точкой.
Рис 1. Семейства микропроцессоров компании TI
Процессоры старших поколений одного семейства наследуют основные архитектурные особенности предшествующих поколений и совместимы "снизу вверх" по системе команд (чего нельзя сказать о процессорах, входящих в разные семейства).
Микропроцессоры семейства TMS320C1x
Первый процессор семейства - TMS320C10 - был выпущен в 1982 году и, благодаря ряду удачных технических решений, получил широкое распространение. Структура типичного представителя семейства - микропроцессора TMS320C15 - приведена на рис. 2.
Рис. 2. Структура микропроцессора семейства TMS320C1X
В основу микропроцессора положена модифицированная гарвардская архитектура, отличием которой от традиционной гарвардской архитектуры является возможность обмена данными между памятью программ и памятью данных, что повышает гибкость устройства.
TMS320C10 является 16-разрядным процессором. Его адресное пространство составляет 4 Кслов памяти программ и 144 слова памяти данных. Все слои имеют разрядность 16. Длительность командного такта процессора составляет 160-200 нс.
Арифметические функции в процессоре реализованы аппаратно. Он имеет аппаратные умножитель (MULT), устройство сдвига (SHIFTER), aппаратную поддержку автоинкремента/декремента адресных регистров данных (AR0, AR1).
С внешними устройствами процессор взаимодействует через 8 портов ввода/вывода.
Каждый порт имеет разрядность 16. Предусмотрена возможность обработки внешних прерываний.
Другие микропроцессоры данного семейства (С14-С17) имеют аналогичную архитектуру и отличаются длительностью командного такта, конфигурацией памяти, наличием (или отсутствием) дополнительных периферийных устройств (например, в С17 реализованы кодек данных по мю-/А-закону, преобразователь логарифмической импульсно-кодовой модуляции (ИКМ) в линейную ИКМ).
Микропроцессоры семейства TMS320C2X
Микропроцессоры семейства TMS320C2x имеют ту же архитектуру, что и TMS320C1x, но обладают более высокой производительностью и более широкими функциональными возможностями. Все процессоры семейства могут использовать по 64 Кслов памяти программ и данных, имеют 16 портов ввода/вывода каждый разрядностью 16 и последовательный порт.
Структура микропроцессора TMS320C2x приведена на рис. 3.
Рис. 3. Структура микропроцессора TMS320C2x
Процессоры семейства TMS320C2x используют внешний контроллер прямого доступа в память (ПДП). Умножитель микропроцессоров помимо операций умножения позволяет выполнять за один такт возведение в квадрат. В процессоры включена аппаратная поддержка кратного выполнения команды, реализован режим двоичной инверсно-косвенной адресации, предназначенный для эффективной реализации быстрого преобразования Фурье.
Основные технические характеристики процессоров второго поколения приведены в табл. 1.
| Микропроцессор | Технология | Такт (нс) | Внутренняя память | Внешняя память | Ввод / вывод | ||||
| ОЗУ | ПЗУ | ППЗУ | Данных | Программ | Последовательный | Параллельный | |||
| TMS32020 | NMOS | 200 | 544 |
|
| 64К | 64К | 1 | 16x16 |
| TMS320C25 | CMOS | 100 | 544 | 4К |
| 64К | 64К | 1 | 16x16 |
| TMS320C25-50 | CMOS | 80 | 544 | 4К |
| 64К | 64К | 1 | 16x16 |
| TMS320E25 | CMOS | 100 | 544 |
| 4К | 64К | 64К | 1 | 16x16 |
| TMS320C26 | CMOS | 100 | 1568 | 256 |
| 64К | 64К | 1 | 16x16 |
Таблица 1. Основные характеристики процессоров семейства TMS320C2
Основные отличия архитектуры процессоров TMS320C2x от TMS320Clx за ключаются в следующем:
-
умножение и сохранение результатов в TMS3202x осуществляется за один командный такт;
-
набор команд поддерживает вычисления с плавающей точкой;
-
имеется внутреннее маскируемое постоянное запоминающее устройств (ПЗУ) программ (ROM - Read Only Memory) размером 4 Кслов для TMS320C25, или полупостоянное запоминающее устройство (ППЗУ) с ультрафиолетовым стиранием и возможностью записи нового содержимого (EPROM -Erasable Programmable ROM) 4 Кслов для TMS320E25;
-
выполнение программ осуществляется из памяти программ, расположенной на кристалле. Объем памяти программ - 544 слова, из которых 256 могут быть использованы как память данных;
-
расширенная внешняя память имеет объем 128 Кслов (64 Кслов - память программ, 64 Кслов - память данных);
-
наличие команд блочной пересылки данных;
-
TMS3202x содержит внешний интерфейс для организации многопроцессорных связей и средства синхронизации для доступа к разделяемой памяти;
-
возможность организации тактов ожидания при доступе к медленной внешней памяти или медленным периферийным устройствам;
-
TMS3202x содержит на кристалле таймер и последовательный порт;
-
наличие пяти (TMS32020) или восьми (TMS320C25) вспомогательных регистров и специального арифметического устройства для них;
-
наличие аппаратного стека размером 4 слова для TMS32020 или 8 слов для TMS320C25 и возможности программного расширения стека в памяти данных;
-
наличие команд обработки битовых данных;
-
наличие трех маскируемых пользователем прерываний;
-
наличие режима прямого доступа к памяти (только для TMS320C25).















