CircuitryADSP21xx (1015504)
Текст из файла
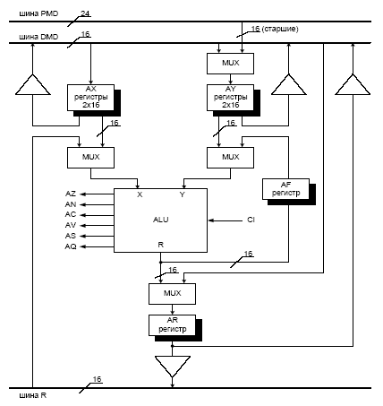
Блок схема АЛУ ADSP-21xx
Функции АЛУ
| 1 | R = Х + Y | Сложить операнды Х и Y |
| 2 | R = Х + Y + СI | Сложить операнды Х и Y и бит переноса |
| 3 | R = Х – Y | Вычесть операнд Y из Х |
| 4 | R= Х – Y + СI– 1 | Вычесть операнд Y из Х с "заемом" |
| 5 | R = Y – X | Вычесть Х из операнда Y |
| 6 | R = Y – Х + СI – 1 | Вычесть Х из операнда Y с "заемом" |
| 7 | R = – X | Инвертирование операнда Х (в дополнительном коде) |
| 8 | R = – Y | Инвертирование операнда Y (в дополнительном коде) |
| 9 | R = Y + 1 | Инкрементирование операнда Y |
| 10 | R = Y – 1 | Декрементирование операнда Y |
| 11 | R = РАSS Х | Пропустить операнд Х для сохранения результата неизменным |
| 12 | R = РАSS Y | Пропустить операнд Y для сохранения результата неизменным |
| 13 | R = 0 (PASS 0) | Обнуление результата |
| 14 | R = АВS Х | Найти абсолютное значение операнда Х |
| 15 | R =Х АND Y | Логическое И над операндами Х и У |
| 16 | R = Х ОR Y | Логическое ИЛИ над операндами Х и Y |
| 17 | R = Х ХОR Y | Операция Исключающее ИЛИ над операндами Х и Y |
| 18 | R = NОТ Х | Операция логического НЕ над операндом Х |
| 19 | R = NОТ Y | Операция логического НЕ над операндом Y |
| Источники ввода данных в порт X | Источники ввода данных в порт Y | Направление вывода данных через порт R |
| АХ0, АХ1, АR МR0, МR1, МR2 SR0, SR1 | АY0, АY1 AF | AR AF |
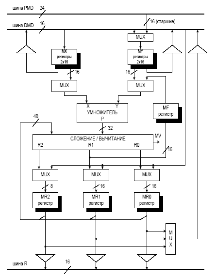
Блок схема умножителя накопителя ADSP-21xx
Функции умножителя-накопителя:
| R = X*Y | Умножение операндов X и Y | |
| R = MR + X*Y | Умножение операндов Х и Y и сложение результата с содержимым регистра MR | |
| R = MR – X*Y | Умножение операндов Х и Y и вычитание полученного результата из содержимого регистра MR | |
| MR = 0 | Обнуление содержимого регистра MR |
| Источники ввода данных в порт X | Источники ввода данных в порт Y | Направление вывода данных через порт P |
| MX0, MX1, AR, MR0, MR1, MR2, SR0, SR1 | MY0, MY1 MF | MR (MR2, MR1, MR0), MF |
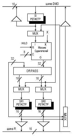
Блок-схема устройства сдвига
Операции устройства сдвига
| ASHIFT | Арифметический сдвиг | |
| LSHIFT | Логический сдвиг | |
| NORM | Нормализация (преобразование числа с фиксированной точкой в число с плавающей точкой) | |
| EXP | Определение порядка ((число лишних знаковых разрядов) | |
| EXPADJ | Нахождение блочного порядка (число лишних знаковых разрядов у самого большого числа группы чисел) |
Источники ввода данных Направление вывода результатов
SI SR (SR0, SR1)
AR
MR0, MR1, MR2
SR0, SR1
Регистры процессоров семейства ADSP-21xx
Внешние интерфейсы процессора ADSP-2181
Характеристики
Тип файла документ
Документы такого типа открываются такими программами, как Microsoft Office Word на компьютерах Windows, Apple Pages на компьютерах Mac, Open Office - бесплатная альтернатива на различных платформах, в том числе Linux. Наиболее простым и современным решением будут Google документы, так как открываются онлайн без скачивания прямо в браузере на любой платформе. Существуют российские качественные аналоги, например от Яндекса.
Будьте внимательны на мобильных устройствах, так как там используются упрощённый функционал даже в официальном приложении от Microsoft, поэтому для просмотра скачивайте PDF-версию. А если нужно редактировать файл, то используйте оригинальный файл.
Файлы такого типа обычно разбиты на страницы, а текст может быть форматированным (жирный, курсив, выбор шрифта, таблицы и т.п.), а также в него можно добавлять изображения. Формат идеально подходит для рефератов, докладов и РПЗ курсовых проектов, которые необходимо распечатать. Кстати перед печатью также сохраняйте файл в PDF, так как принтер может начудить со шрифтами.















