Пеленгаторы (1014418), страница 12
Текст из файла (страница 12)
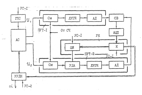
Структурная схема азимутального канала показана на рис. 4.3. Предусмотрено два режима работы этого канала: рабочий, когда измеряется угол
, и калибровочный, когда корректируются неидентичности трактов обработки сигналов. Последний режим и соответствующая ему схема устройства коррекции УК (выделена на рис. 4.3) будут рассмотрены отдельно.
Рис. 4.3
В рабочем режиме коммутатор К соединяет выход углового дискриминатора с устройством управления диаграммой направленности УУДН. Кроме того, отключается генератор пилот-сигнала ГПС.
Угловой дискриминатор содержит два ПУТ и схему вычитания СВ. Сигнал СВ преобразуется в цифровую форму с помощью аналого-цифрового преобразователя АЦП. В каждый из ПУТ входят смеситель См, логарифмический усилитель промежуточной частоты ЛУПЧ и амплитудный детектор АД. В один из ПУТ включается управляемый дискретный аттенюатор УДА, служащий для изменения коэффициента усиления этого ПУТ. Нормировка сигналов, с помощью которой уменьшается влияние амплитудных флуктуаций входных сигналов на точность измерения угловых координат, осуществляется путем вычитания в СВ предварительно прологарифмированных в ЛУПЧ сигналов.
В амплитудно-амплитудном радиопеленгаторе информация о угле рассогласования
содержится в амплитудах принимаемых по диаграммам
и
сигналов (см. рис. 3.1 и рис. 3.4), которые при идентичных диаграммах, т.е. при
, и малых углах
имеют вид
Разложение функций
в степенной ряд дает
где
- нормированная крутизна ДНА на равносигнальном направлении (РСН).
Сигналы, подаваемые на схему вычитания СВ, имеют следующие амплитуды ( [б1 , с.45):
где
и
- коэффициенты передачи ПУТ-1 и ПУТ-2 на линейном участке амплитудных характеристик ЛУПЧ (рис. 4.4);
- амплитуда сигнала на входе ЛУПЧ, соответствующая началу логарифмического участка амплитудной характеристики;
и
- коэффициенты передачи высокочастотных цепей (до смесителей);
- нормированное значение амплитуды входного сигнала.
В идеальном амплитудно-амплитудном радиопеленгаторе коэффициенты передачи трактов одинаковые, т.е.
и
и напряжение на выходе СВ, т.е. сигнал ошибки на выходе углового дискриминатора, описывается выражением
Сигнал ошибки подается (в данном случае в цифровой форме) на устройство управления диаграммами направленности УУДН, вызывая такой поворот ДНА, при котором
стремится к нулю.
Как следует из сказанного, в рассматриваемом амплитудно-амплитудном радиопеленгаторе информация о угле
переносится из разности амплитуд входных сигналов в сигнал
, пропорциональный отношению этих амплитуд.
Структурная схема устройства коррекции. В реальном амплитудно-амплитудном радиопеленгаторе тракты обработки сигналов обычно неидентичны, что приводит к появлению аппаратурной погрешности при определении угловых координат цели. Наибольшее влияние на аппаратурную погрешность оказывают:
-
- неидентичность коэффициентов передачи трактов прохождения сигналов на высокой частоте (до ПУТ) ;
-
- неидентичность коэффициентов передачи ПУТ-1 и ПУТ-2.
Сигнал на выходе углового дискриминатора (4.1) при неидентичных трактах приема и усиления сигналов принимает вид
При нахождении цели на РСН, когда
, сигнал
отличен от нуля и ДНА продолжает свое движение до тех пор, пока за счет возникающего приращения амплитуд
и
не будет достигнуто условие
.
Таким образом при неидентичных трактах радиопеленгатора РСН в установившемся состоянии системы слежения за углом
, когда
, отличается от направления на цель на некоторый угол
, который и является аппаратурной погрешностью
радиопеленгатора. Приравнивая нулю значение
в соотношении (4.2), можно получить формулу для расчета аппаратурной погрешности амплитудно-амплитудного радиопеленгатора:
Источники и методы снижения аппаратурной погрешности моноимпульсных радиопеленгаторов (в том числе и рассматриваемого типа) детально описаны в работе. Для уменьшения аппаратурной погрешности можно использовать также коррекцию неидентичностей трактов приема и усиления сигналов.
На рис. 4.3 показан простейший вариант УК, основанный на управлении коэффициентом
путем изменения коэффициента передачи
одного из ПУТ при
. Схема компенсации аналогична схеме автоматической регулировки усиления, чувствительным элементом которой является схема вычитания СВ угломерного канала.
Коррекция выполняется в специально выделяемом интервале времени
в конце периода повторения
, когда прием отраженных сигналов не ожидается, т.е. за пределами
, где
- максимальная дальность цели. Это обстоятельство необходимо учитывать при расчете периода повторения импульсов.
Момент включения устройства коррекции определяется управляющим сигналом УС-1, поступающим с ЭВМ РЛ (см. рис. 4.1 и рис. 4.3). По этому сигналу включается генератор пилот-сигнала ГПС и коммутатор К разрывает цепь обратной связи от СВ к УУДН. Пилот-сигнал несущей частоты через делители мощности подается на выходы модулей ФАР, заменяя сигналы этих модулей. При этом коррекции подвергаются все неидентичности от точки включения пилот-сигнала до выхода СВ. Возможно также использование специального излучателя пилот-сигнала, установленного перед ФАР на равносигнальном направлении.
В режиме коррекции на выходе СВ действует сигнал ошибки, описываемый соотношением (4.2). Этот сигнал после аналого-цифрового преобразователя АЦП подается на цифровой интегратор ЦИ, выполняющий Функцию устройства, запоминающего сигнал ошибки на время, равное периоду повторения зондирующих импульсов. Изменение коэффициента передачи ПУТ производится с помощью управляемого дискретного аттенюатора УДА. Использование цифровой техники приводит к тому, что в общем случае не удается свести к нулю аппаратурную погрешность. Остаточная аппаратурная погрешность зависит от дискрета
регулировки коэффициента передачи и увеличивается с ростом этого дискрета.
Операцию коррекции можно осуществить и с помощью аналоговой схемы. При этом сразу за схемой вычитания СВ включается коммутатор, который направляет сигнал ошибки с СВ либо на схему коррекции, либо на АЦП, который требуется для управления ДНА ФАР. Однако в таком устройстве коррекции требуется учет особенностей, свойственных аналоговым схемам.
При проектировании устройства коррекции необходимо обеспечить такое быстродействие элементов этого устройства, при котором время коррекции
не превышает 0,1 от периода повторения зондирующих импульсов. Полученное в конце данного периода повторения значение
корректирующего коэффициента
используется на следующем периоде повторения и сохраняется для этого в цифровом интеграторе ЦИ.
Кроме рассмотренного метода коррекции коэффициентов передачи ПУТ, при котором устанавливается такое значение
, при котором обеспечивается заданное значение аппаратурной погрешности, возможно также воздействие на коэффициенты передачи
и
. Однако при этом требуется установка аттенюатора в высокочастотные цепи, что не целесообразно из-за возникающих потерь энергии.
Следует иметь в виду, что при любом методе коррекции обычно остается некоторая аппаратурная погрешность, вызываемая несовершенством либо используемого метода, либо устройства его реализующего. Это относится и к методам снижения аппаратурных погрешностей, например, к методу, основанному на объединении приемных трактов, рассмотренным в работе. Остаточное значение аппаратурной погрешности следует учитывать при оценке точности угломерного канала.
4.2. Расчет длины волны и параметров ФАР
При использовании в РЛ круглой ФАР с диаметром
ширина ДНА в азимутальной плоскости
и в угломестной плоскости
одна и та же, т.е.
. Значение
определяется из заданной разрешающей способности РЛ по угловым координатам, которая составляет
Тогда длина волны зондирующего сигнала может быть найдена из соотношения
Коэффициент усиления рассматриваемой ФАР при
, выраженной в градусах, будет)
где принято, что КПД антенны
.
Угол смещения
максимумов ДНА (см. рис. 3.1), характеризующий отклонение максимумов диаграмм
и
от равносигнального направления, выбирается из компромиссных соображений (см.§ 3.2 данного пособия). Рекомендуется принимать
При таком значении
диаграммы
и
пересекаются на уровне, близком к уровню половинной мощности.
4.3. Расчет параметров сигнала
В данном разделе рассчитываются длительность
и период повторения
зондирующих импульсов.
Длительность импульса определяется из заданного значения разрешающей способности РЛ по дальности
:















