Пеленгаторы (1014418), страница 11
Текст из файла (страница 11)
После этого следует найти относительную аппаратурную погрешность
и сравнить ее с допустимым значением
, указанным в исходных данных. Если полученная относительная погрешность превышает заданную, то это свидетельствует о необходимости применения коррекции неидентичностей.
Если коррекция производится путем введения дополнительного фазового сдвига
в разностный сигнал, то затем следует определить максимально допустимый фазовый сдвиг
в ПУТ-
, при котором еще сохраняется заданное значение
. Получить
можно, варьируя значением
в соотношении (3.18), предварительно положив
. Задача решается при указанных в исходных данных
и
с учетом высказанного выше замечания о знаках базовых сдвигов
и
.
В заключение рассчитывается диапазон изменения
по экстремальным значениям этого фазового сдвига, равным
Полученные при расчете данные используются при проектировании устройства коррекции.
Полная погрешность. Полная погрешность рассчитывается с помощью соотношения
по результатам определения составляющих этой погрешности, полученным в данном параграфе. Исключение составляет аппаратурная погрешность
, значение которой должно соответствовать остаточной аппаратурной погрешности, имеющей место после проведения коррекции. В соотношении (3.20) используется то значение
, которое получено при выбранном варианте оптимизации следящего измерителя угла
.
Результаты расчета точностных параметров угломерного канала представляются в виде таблицы и графика, построенного с помощью этой таблицы у отображающих зависимость погрешностей от дальности. Головка таблицы должна иметь следующую форму:
где относительная дальность берется с дискретом 0,1, а дальность меняется от
= 3 км до
. На графике представляется зависимость относительной погрешности
от относительной дальности
, меняющейся с дискретом и в пределах, указанных выше.
3.6. Расчет энергетических параметров
Под энергетическими параметрами в данном разделе понимаются минимальное значение принимаемой мощности
, при котором обеспечивается заданная или расчетная точность угломерного канала, и соответствующее
значение мощности передатчика
.
Для нахождения этих параметров следует воспользоваться соотношениями (2.24) и (2.25) соответственно с учетом особенностей расчета, которые даны в § 2.6 настоящего пособия.
3.7. Расчет вспомогательных параметров
В данном разделе по методике, изложенной в § 1.8 пособия, с учетом замечаний § 2.7 рассчитываются параметры, необходимые при разработке требований к элементам угломерного канала (см. Приложение П I). При проектировании амплитудного суммарно-разностного РЛ к таким, параметрам относятся параметры выдаваемого угломерным каналом двоичного кода сигнала рассогласования по азимуту (цена младшего разряда кода
и число разрядов
) и параметры устройства коррекции (цена младшего разряда корректирующего кода
и число разрядов
).
При расчете устройства коррекции следует вместо формулы (2.19) использовать соотношение (3.18). В первую очередь нужно определить значение
, которое соответствует
. Затем находится значение
, которое соответствует допустимой аппаратурной погрешности
. Для решения этой задачи можно либо решить уравнение (3.18) относительно неизвестной величины
при
, либо определить
методом подбора в области, примыкающей к
. Последний метод более прост.
При вычислении
в целях упрощения рекомендуется принять
.
4. АМПЛИТУДНО-АМПЛИТУДНЫЙ РАДИОЛОКАТОР.
Рассматриваемый амплитудно-амплитудный радиолокатор (РЛ) входит в состав обзорно-прицельного комплекса тактического самолета (истребителя). Для детальной разработки предлагается канал измерения азимута цели (азимутальный канал) этого РЛ, представляющий собой амплитудно-амплитудный моноимпульсный радиопеленгатор.
Проектируемый РЛ по назначению аналогичен фазовому суммарно-разностному РЛ, разработке которого посвящена гл.2 данного пособия. Поэтому для более детального ознакомления с особенностями РЛ рекомендуется обращаться к § 2.1.
Тактическая ситуация, соответствующая исходным данным на проектирование, предполагает работу РЛ в ближней зоне БЗ (см. рис. 2.1) и использование в качестве зондирующего простого импульсного сигнала. Считается, что модулирующие импульсы имеют прямоугольную форму, а период повторения импульсов выбирается из условия однозначности дальнометрии (2.1).
4.1. Выбор структурных схем
В данном разделе предлагается один из вариантов разработки структурной схемы РЛ, а также схем азимутального канала и устройства коррекции неидентичностей приемных трактов этого канала, существенно влияющих на его точность.
Структурная схема РЛ. В соответствии с поставленными перед РЛ общими задачами он должен иметь канал обнаружения движущихся целей (ОДЦ) и четыре измерительных канала, служащих для определения азимута, угла места, скорости и дальности цели. Наличие ОДЦ и необходимость измерения скорости цели требуют применения когерентного зондирующего сигнала. Последний, как указывалось, должен быть импульсным.
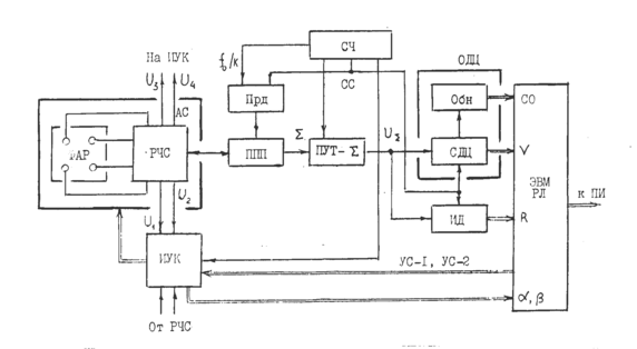
Рис. 4.1
Упрощенная структурная схема такого РЛ представлена на рис. 4.1. Источником когерентных колебаний служит синтезатор частот СЧ. Основой СЧ является когерентный генератор частоты
, из которой путем дробно-рациональных преобразований формируются частоты всех сигналов, необходимых для работы РЛ. Передатчик Прд представляет собой умножитель частоты
выдаваемого СЧ сигнала (
- несущая частота) в k раз с последующим усилителем мощности, периодически отпирающимся при поступлении с СЧ синхронизирующих импульсов с частотой повторения
(синхросигнал СС). Полученный в Прд зондирующий сигнал через переключатель прием-передача ППП направляется к антенной системе АС.
Отличительной особенностью амплитудно-амплитудного радиолокатора является использование АС с амплитудным угловым датчиком. Возможный вариант такой АС содержит приемно-передающую фазированную антенную решетку ФАР и радиочастотный сумматор РЧС. Антенная решетка имеет четыре модуля (рис. 4.2,а), коммутация которых производится с помощью РЧС. Фазирующие элементы ФАР обеспечивают одинаковые фазы излучаемых и выдаваемых модулями сигналов. При передаче РЧС выполняет функцию делителя мощности зондирующего сигнала между модулями ФАР, формирующей в этом режиме работы РЛ суммарную диаграмму направленности.
В режиме приема на выходе РЧС действуют пять сигналов:
где
- амплитуда сигнала, поступающего с i-го модуля.
Сигнал
подается на приемно-усилительный тракт ПУТ-
, а сигналы
и
используются соответственно для нахождения угла места и азимута цели в измерителе угловых координат ИУК. В частности, при измерении азимута ФАР преобразуется в антенну с двумя приемными элементами
и
с общим фазовым центром (рис. 4.2,б)
Рис. 4.2
Управление сканированием ДНА осуществляется с помощью сигнала УС-2 (см. рис. 4.1), поступающего с ЭВМ радиолокатора ЭВМ РЛ. Сканирование ДНА используется при поиске цели по угловым координатам. Сигнал УС-1 служит для переключения коммутаторов ИУК при коррекции неидентичностей приемно-усилительных трактов. Информация о азимуте
и угле места
цели поступает в ЭВМ РЛ.
Усиленный и отфильтрованный суммарный сигнал с ПУТ-
подается на обнаружитель движущихся целей ОДЦ и измеритель дальности ИД. Информация о скорости цели может сниматься с устройства селекции движущихся целей СДЦ при построении последнего на основе фильтрового метода. Обнаружитель Обн вырабатывает сигнал обнаружения СО. Этот сигнал, а также информация о дальности
и скорости
цели направляются (обычно в цифровой форме) в ЭВМ РЛ, которая вырабатывает команды для систем управления самолетом или его оружием, являющихся потребителями информации ПИ, выдаваемой ЭВМ РЛ. Эта ЭВМ используется и для управления радиолокатором, выдавая, например, команды на изменение параметров РЛ при переходе от ближней зоны обзора к дальней зоне.
Структурная схема азимутального канала. Входящий в состав РЛ измеритель угловых координат должен определять азимут и угол места цели и содержит два идентичных по схеме канала: азимутальный и угломестный (УМК).















