№13 Схемотехника комбинационных. регистровых и пересчетных схем (1006335), страница 2
Текст из файла (страница 2)
В этом случае схема представляет собой суммирующий счетчик;
выходной сигнал со старшего разряда и сигнал установки начального
состояния подается на установочные входы всех разрядов схемы со-
гласно двоичному коду числа т; недостаток схемы — отсутствие ну-
левого состояния;
б) начальное состояние нулевое, остальные — 1,2,..., К-1. Схема
представляет суммирующий счетчик. Шина установки нулевого кода
управляется объединением сигнала установки начального состояния
и логического произведения входного сигнала с сигналами прямых
выходов тех триггеров, которым в двоичном коде числа m соответст-
вуют нули;
в) начальное состояние принимается нулевым; при организации
межразрядных переносов в разрядах, которым соответствует 1 в
двоичном коде числа т, используются инверсные выходы (разряды
работаю в режиме вычитания), а в разрядах которым соответствует 0 в двоичном коде числа m, используются прямые выхода (раз-
ряды работаю в режиме суммирования). Сигнал установки начального состояния и выходной сигнал со старшего разряда подаются
на установку всех разрядов схемы в нуль. Коды состояний не упорядочены, схему нельзя использовать в качестве счетчика. Пере
счетные схемы, в которых часть разрядов работает в режиме сум-
мирования, а часть — в режиме вычитания, называются схемами с
комбинированными связями.
При реализации счетчиков по модулю К по второму способу мож-
но использовать также сброс схемы в нулевое состояние без исполь-
зования входного сигнала, но в этом случае имеем дополнительное
неустойчивое состояние счетчика, соответствующее n-разрядному
двоичному коду числа К.
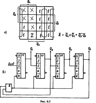
ПРИМЕР
В качестве примера рассмотрим построение декадного (десяти-
чного) счетчика на базе триггеров j-k с установочным входом R. Не-
обходимо, чтобы после 10-гo входного сигнала состояние счетчика aавтоматически изменилось с кода 1010 на код 0000. Состояния схе-
мы, имеющие коды более 1010, являются неопределенными. Таким об-
разом, карта Вейча функции сброса счетчика в ноль по входам R (рис.
6.3, а) будет иметь значение 0 только на наборе 1010. Выразим через
функцию И-НЕ:
. Выход схемы И-НЕ требует дополнительной инверсии.
Схема декадного счетчика приведена на рис. 6.3, б.
При построении пересчетных схем целесообразно использовать
методы структурного синтеза автоматов.
В правой верхней сменной части макета установлен блок счетчи-
ков, включающий два 4-разрядных реверсивных двоичных счетчика
(СТ2) и один синхронный десятичный счетчик (СТ10).
Реверсивных двоичный счетчик может работать в режимах прямого и обратного счета. Сигналы счета подаются на вход С и счетчик
складывает (вычитает) их при наличии разрешающего сигнала счета
на входе ЕС (низкий уровень). Направление счета определяется потенциалом на входе реверса (E+1, Е-1) с одним входным гнездом (рис. 6.4, а).
8









