FOPRiRI_RK2 (1003479), страница 2
Текст из файла (страница 2)
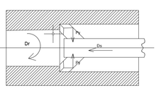
-отсутствие обзора зоны резания
-малая жесткость державки расточного резца(имеет меньшее сечение и больший вылет)
-затруднение выхода стружки
-
консольно закрепленная державка нах-ся в сложном напряженном состоянии, сила Pz скручивает и изгибает державку в вертикальной плоскости, сила Py изгибает державку в вертикальной плоскости
Px вызывает эксцентричный продольный изгиб.
Нагрузки приводят к деформациям нежесткой державки , что искажает размеры расточ-го отверстия. Для обрабатываемых отверстий с большими диаметрами используется борт штанга с 2мя резцами, исключающими изгиб, поскольку Py компенсируют друг друга.
12.ОСОБЕННОСТИ РАСТОЧНЫХ РЕЗЦОВ
О
собенности расточных резцов:
Недостатки:
-отсутствие обзора зоны резания
-малая жесткость державки расточного резца(имеет меньшее сечение и больший вылет)
-затруднение выхода стружки
-
консольно закрепленная державка нах-ся в сложном напряженном состоянии, сила Pzскручивает и изгибает державку в вертикальной плоскости, сила Py изгибает державку в вертикальной плоскости
Px вызывает эксцентричный продольный изгиб.
Нагрузки приводят к деформациям нежесткой державки , что искажает размеры расточ-го отверстия. Дя обрабатываемых отверстий с большими диаметрами используется бот штанга с 2мя резцами, исключающими изгиб, поскольку Py компенсируют друг друга.
13. Схемы получения конических поверхностей.
На токарном станке обработка конических поверхностей производится одним из следующих способов:
а) поворотом верхней части суппорта; б) поперечным смещением корпуса задней бабки; в) с помощью конусной линейки; г) с помощью широкого резца.
14. Преимущества СМП перед напайным инструментом.
-
Сокращение простоев оборудования в связи со сменой и наладкой инструмента
-
Стабильность геометрических параметров режущего инструмента при замене пластин.
-
Сокращение расходов на эксплуатацию инструмента. Исключения дорогостоящих повторных заточек.
-
Повышение надежности режущей части.
-
Повышение стойкости пластин на 25-30%.
-
Уменьшение расхода инструментального твердого сплава в 2 раза.
-
Повышение производительности труда на 20-25%
-
Нет напряжений из-за разл. коэф. термического расширения ТС и стали.
15.Основные требования к конструкции крепления СМП:
- точность базирования. Определяется точностью изготовления пластины
и гнезда под нее, а также наличием сил, обеспечивающих прижим пластины,
как к опорной, так и к боковой поверхности гнезда в державке).
- надежность закрепления, т.е. не допускать смещения пластины во
время резания,
- быстрота замены пластины, удобство обслуживания (возможность
двустороннего доступа к элементам крепления)
- простота конструкции и технологичность ее изготовления (в конечном
итоге малая стоимость),
- минимальные габариты,
- возможность установки подкладных твердосплавных пластин,
- высокий ресурс, ремонтопригодность конструкции крепления.
16.Основные схемы крепления СМП
Конструкции резцов, оснащенных многогранными пластинами,
отличаются большим многообразием применяемых способов крепления.
Существуют следующие основные схемы крепления пластин:
17.Преимущества и недостатки различных схем крепления СМП.
недостатки именно схем смотр. вопрос 16
Достоинства при использовании СМП:
+ повышение точности и стойкости лезвий резца на 25-50% из-за отсутствия микротрещин на поверхности СМП, которые имеют место при припаивании пластины;
+ длительное время использования державки резца, хватает на 100-150 СМП. В связи с этим возможно использование высокопрочных и дорогих материалов для державок резцов;
+ быстрота переналадки и замены СМП на резце как на станке, так и вне станка на специальных приборах для настройки резцов на размер;
+ отсутствие операции заточки и благодаря этому отсутствие потерь твёрдого сплава СМП;
+ экономия твёрдого сплава, т.к. использованный сплав не выбрасывают, а пускают на переработку;
+ простота получения требуемого угла передней поверхности при прессовании;
+ для СМП с плоской передней поверхностью возможно использование накладных стружколомов
+ возможность использования на одной державке СМП из различных марок инструментальных материалов.
Недостатки при использовании СМП:
- относительно большие габариты режущей части из-за механизма крепления СМП;
- меньшая жёсткость крепления пластины, чем при припаивании или приклеивании;
- негибкая геометрия РЧ (не инвариантность геометрических параметров);
- сложность конструкции и технологии изготовления резца с СМП;
- требуется большая номенклатура СМП.
18. Алгоритм выбора токарного резца с СМП.
| Последовательность | Факторы, влияющие на выбор (помимо приведенной стоимости) | |
| 1 | Выбор системы крепления пластины | Требования по точности обработки, надежности крепления, быстросменности, габаритам, возможности использования двусторонних пластин (черновая, чистовая обработка, обработка с ударами, внутренняя или наружная обработка, жесткость технологической системы и т.д.). |
| 2 | Выбор формы пластины | Тип операции точения (контурное точение, на проход, подрезка торца и т.п.). Стойкость инструмента. Возникающие силы резания с учетом жесткости технологической системы. |
| 3 | Выбор размера пластины и формы передней поверхности | Максимальная глубина резания и подача. Свойства обрабатываемого материала. Необходимость стружкодробления. |
| 4 | Выбор радиуса при вершине пластины | Требуемая шероховатость. Возникающие силы резания с учетом жесткости технологической системы. |
| 5 | Выбор типа державки и ее присоединительных размеров | Особенности используемого оборудования. Тип и размеры пластины. Силы резания. |
| 6 | Выбор марки инструментального материала и покрытия | Таблица применимости по ISO или рекомендации по использованию отечественных твердых сплавов с учетом факторов, изложенных выше. Выбор типа покрытий определяется условиями обработки. |
19. Технологические характеристики операции сверления.
-
Диаметр обрабатываемого отверстия: от 0,1 до 80 мм. Отверстия длиной более 10 диаметров называются глубокими и обрабатываются специальным инструментом.
-
Точность диаметрального размера: до 11-го квалитета. Для сверел с СМП до 7 квалитета
-
Шероховатость обработанной поверхности: от 20 до 80 мкм. Для современных сверел с СМП шероховатость может достигать до Ra 6,3.
-
Сверление не обеспечивает прямолинейность оси отверстия, поскольку имеет место увод оси отверстия из-за: неточности заточки и установки, анизотропности материала, малой жесткости инструмента.
20. Конструктивные элементы сверла.
Направляющая часть – центрирует сверло в отверстие. Является резервом для переточек и транспортирует стружку.
Шейка - служит для выхода шлифовального круга при шлифовании рабочей части и хвостовика.
Хвостовик – цилиндрический или конический; для закрепления.
Лапка – служит для извлечения инструмента с коническим хвостовиком из шпинделя.
21.Особенности работы сверла и его конструкции.
1
).У сверла 5 режущих кромок: 2главных, 2вспомогательных и 1 поперечная перемычка t=(D-d)/2 a=0,5*S0*sin”фи” b=t/ sin”фи” 2).Поперечное лезвие не режет. На нём большие отрицательные передние углы. Оно деформирует и выдавливает металл в стружечные канавки. Перемычка даёт до 65% осевой нагрузки при сверлении 3) Сверло имеет криволинейные, а не плоские поверхности режущего клина 4) На вспомогат реж лезвии вспомогательный задний угол равен 0. Именно поэтому здесь наблюдается интенсивный износ сверла(износ по ленточке) 5) У сверла вспомогательный угол в плане очень маленький и задаётся обратн конусностью сверла. 0,03…0,12 мм на 100мм линии сверла. Обратная конусность уменьшает трение по ленточке 6) Затруднён отвод стружки, поэтому свёрла делают спиральными. Винтовая канавка работает для удаления стружки. 7) скорость резания неодинаковая для различных участков режущей кромки. Расчёт скорости резания производится для вершины с самой дальней от оси точки 8) передние и задние углы по длине режущей кромки у сверла переменные. У перемычки передний угол может быть отрицательным, т.е. хуже условия стружкообразования Коэффициент удлинения стружки может быть 5, в то время как на переферии2 -???
















