Ответ на вопрос №667402: На изображении конструкции теплообменника воздушного охлаждения цифрой 1 обозначается … На изображении конструкции теплообменника воздушного охлаждения - Ответ на вопрос №667402На изображении конструкции теплообменника воздушного охлаждения - Ответ на вопрос №667402
2025-05-252025-05-25СтудИзба
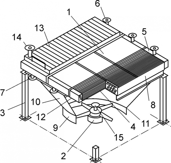
На изображении конструкции теплообменника воздушного охлаждения - Ответ на вопрос №667402
Вопрос
На изображении конструкции теплообменника воздушного охлаждения цифрой 1 обозначается …
Ответ
Этот вопрос в коллекциях

Гарантия сдачи без лишних хлопот! ✅🎓 Ответы на тесты по любым дисциплинам, базы вопросов, работы и услуги для Синергии, МЭИ и других вузов – всё уже готово! 🚀 🎯📚 Гарантия качества – или возврат денег! 💰✅