Для студентов МФПУ «Синергия» по предмету Тепломассообменное оборудование предприятийТепломассообменное оборудование предприятий Итоговый, компетентностный тестТепломассообменное оборудование предприятий Итоговый, компетентностный тест
4,99521892
2025-05-252025-05-25СтудИзба
📚 Коллекция ответов по предмету Тепломассообменное оборудование предприятий в Синергии – большая база! 💯
Ответы к заданиям Итоговый: Тепломассообменное оборудование предприятий Итоговый, компетентностный тест
Описание
Крупная база ответов к предмету🔥 Тепломассообменное оборудование предприятий 🔥
С помощью данной коллекции вы 100% сдадите ЛЮБОЙ тест.
▶️ Готовые практики / Готовые базы ответов / Отдельные ответы ◀️
➡️ Любой тест / Любая практика / Любая НИР ⬅️
🗝️ Сессия под ключ 🗝️
(жми на нужную ссылку! 😉 )
С помощью данной коллекции вы 100% сдадите ЛЮБОЙ тест.
▶️ Готовые практики / Готовые базы ответов / Отдельные ответы ◀️
➡️ Любой тест / Любая практика / Любая НИР ⬅️
🗝️ Сессия под ключ 🗝️
(жми на нужную ссылку! 😉 )
- Итоговая аттестация
- Итоговый тест
- Компетентностный тест
- Заключение
Список вопросов
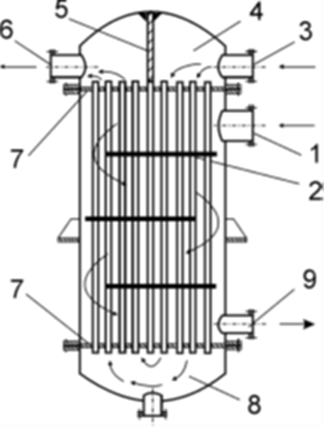
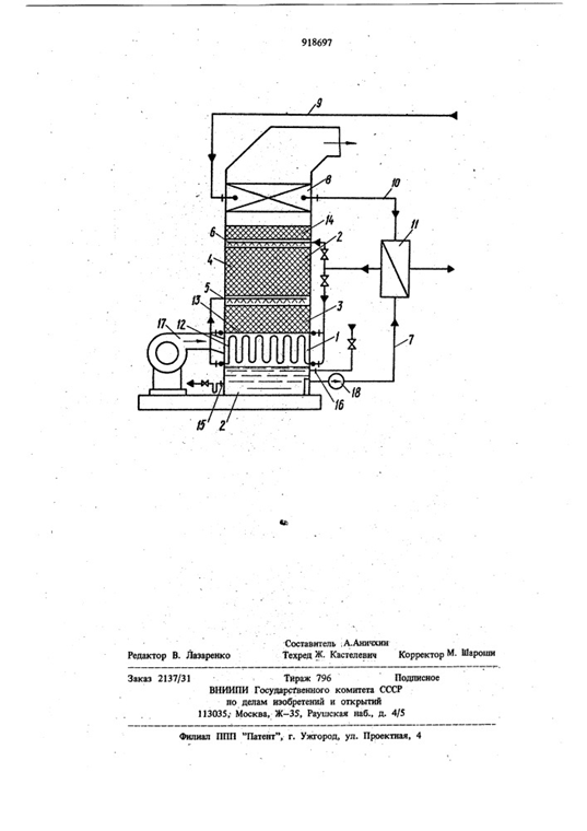
На изображении схемы утилизационного отопительного-вентиляционного аппарата цифрой 6 обозначается ![]()

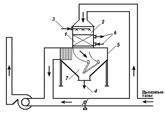
На изображении схемы центрального кондиционера с утилизацией тепла воздуха цифрой 3 обозначается ![]()

В башенных градирнях применяют водораспределительную систему …
Один из основных элементов градирни – это …
В вакуумных деаэраторах нагрев питательной воды осуществляется в интервале температур …
Ректификацию осуществляют в …
Движущая сила ректификации состоит в отличие …
Основным элементом ректификационной установки является …
Дополнительная экономия энергии в абсорбционных машинах может быть достигнута за счет … тепловой энергии
На изображении представлена формула для расчета приходной части баланса … ![]()

При движении в трубах перегретого пара рекомендованы скорости его движения …
На изображении представлена формула для расчета … движения теплоносителя ![]()

На изображении цифрой 5 обозначена … ![]()

На изображении цифрой 8 обозначается … ![]()

На изображении представлена формула для расчета числа … ![]()

Компенсация температурных расширений трубной системы относительно корпуса обеспечивается с помощью … установленной в верхней части аппарата
Установка … перегородки в нижней водяной камеры обеспечивает прохождение охлаждающей воды через аппарат за четыре хода.
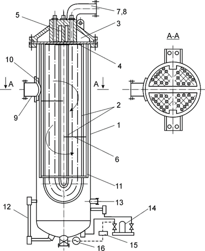
На изображении стеклянного воздухоподогревателя цифра 2 обозначает ![]()

На изображении стеклянного воздухоподогревателя цифра 3 обозначает ![]()

На изображении схемы центрального кондиционера с утилизацией тепла воздуха цифрой 4 обозначается ![]()

Абсорбционная холодильная машина – это … холодильная установка
По принципу действия теплообменные аппараты делятся на …
Наиболее эффективным способом интенсификации конвективного теплообмена является … пристенного пограничного слоя
Разборные пластинчатые теплообменники работают в интервале давлений …
Для быстрого обогрева помещений за счет нагрева большого объема приточного воздуха предназначен …
В паротурбинных установках широкое распространение получили конденсаторы … типа
Площадь сечения башенной градирни занимает не менее… площади оросителя
На объектах энергетики широко не распространен … деаэратор
Атмосферные деаэраторы обычно устанавливают на …
В ректификационной колонне осуществляется непрерывный неравновесный процесс разделения исходной бинарной смеси на …
Неверно, что ректификационные колонны, в зависимости от их внутреннего устройства, бывают …
В … аппаратах теплообмен осуществляется при непосредственном соприкосновении теплоносителей
При движении в трубах конденсата греющего пара рекомендованы скорости его движения …
При движении в трубах насыщенного пара рекомендованы скорости его движения …
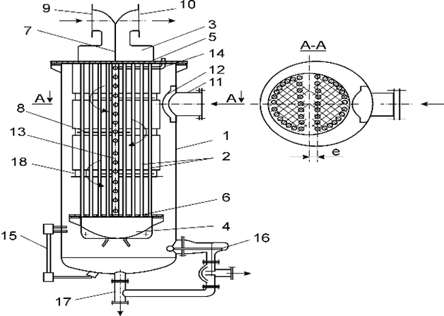
На изображении цифрой 3 обозначается … ![]()

В пластинчатых жидко-жидкостных теплообменниках горячий и холодный теплоноситель движутся …
Использование … поверхностей нагрева является одним из путей усовершенствования рекуперативных котельных воздухоподогревателей
Пластинчатые теплообменники применяют в качестве утилизаторов, если воздуховоды с горячим и холодным воздухом расположены …
На изображении схемы контактного теплообменника с активной насадкой цифрой 2 обозначается … ![]()

На изображении схемы утилизационного отопительного-вентиляционного аппарата цифрой 5 обозначается ![]()

Для помещений более 150 м2 наиболее экономичным является … калорифер
Быстрее всего нагреть помещение способен … калорифер
Характеристики ответов (шпаргалок) к заданиям
Тип
Коллекция: Ответы (шпаргалки) к заданиям
Учебное заведение
Номер задания
Программы
Просмотров
4
Качество
Идеальное компьютерное
Количество вопросов

❓ Как копировать вопросы во время теста в Синергии?

Гарантия сдачи без лишних хлопот! ✅🎓 Ответы на тесты по любым дисциплинам, базы вопросов, работы и услуги для Синергии, МЭИ и других вузов – всё уже готово! 🚀 🎯📚 Гарантия качества – или возврат денег! 💰✅