Водоснабжение населённых мест
Раздел 2. Водоснабжение населённых мест
2.1. Общие сведения. Основные закономерности равновесия и движения жидкости.
Водоснабжение – совокупность мероприятий, сооружений и сетей, предназначенных для обеспечения потребителей водой требуемого качества и в необходимом количестве. К потенциальным потребителям воды относятся: население, промышленные, коммунально-бытовые и сельскохозяйственные предприятия, транспорт.
В основе организации водоснабжения лежат процессы, связанные с равновесием и движением воды, поэтому перед изучением инженерных решений по водоснабжению поселений необходимо рассмотреть основные закономерности, характеризующие статику и динамику жидкостей.
Основные закономерности гидростатики и гидродинамики.
В отличие от твердых тел жидкость характеризуется малым сцеплением между частицами, именно поэтому она обладает свойством текучести и принимает форму емкости, в которой находится.
Важнейшими характеристиками жидкости являются плотность, давление и скорость движения.
Плотность,
, кг/м3, численно равна массе единицы объема:
, (2.1.1)
Рекомендуемые материалы
где m – масса жидкости, кг;
V – ее объем, м3.
Плотность воды при нормальных условиях равна 1000 кг/м3.
Давление, Р, Па, - отношение силы, действующей на площадку в нормальном к ней направлении, F, к площади площадки, S:
. (2.1.2)
Основные уравнения гидростатики.
Гидростатика изучает закономерности, характеризующие жидкость в состоянии покоя.
Практический интерес представляет задача гидростатики о распределении избыточных гидростатических давлений в объеме покоящейся жидкости, имеющей свободную поверхность, рис. 2.1.1.

Рис. 2.1.1. Распределение гидростатических давлений в жидкости.
Гидростатическое давление, действующее на площадку, находящуюся в покоящейся жидкости, или на площадку, расположенную на глубине h, определяется формулой
, (2.1.3)
где Рa – атмосферное давление, Па;
g – ускорение силы тяжести, g = 9,8 м/с2;
h – вертикальное расстояние от площадки до уровня жидкости, м.
Из предыдущей зависимости и рис. 2.1.1 следует, что максимальное значение гидростатического давления для рассматриваемого случая равно
, (2.1.4)
и соответствует давлению на дно и примыкающим к нему участкам стенок емкости.
Оценим зависимость величины гидростатического давления от высоты столба жидкости над площадкой.
Атмосферное давление равно примерно 1 атм или 0,1 МПа, значение слагаемого
зависит от высоты столба жидкости h над площадкой. Приращение высоты столба на 10 м приводит к увеличению величин
и
на 0,1 МПа или на 1 атм.
Основные понятия гидродинамики.
Гидродинамика изучает законы движения жидкостей. Далее будут рассматриваться закономерности установившегося движения, при котором параметры движения жидкости с течением времени не изменяются.
К основным понятиям гидродинамики относятся:
- поток, представляющий собой непрерывную массу частиц, движущихся в каком-либо направлении;
- сечение потока, равное поперечному сечению потока, перпендикулярному его направлению;
- расход потока, или объемный расход жидкости, равен объему жидкости, проходящей в единицу времени через живое сечение потока
, (2.1.5)
где V – объемный расход жидкости, м3/с, или л/с;
F – сечение потока, например, площадь поперечного сечения трубопровода, если данное сечение занято жидкостью полностью, м2;
W – средняя по сечению скорость движения жидкости, м/с.
- массовый расход потока, или массовый расход жидкости, G, кг/с, равен массе жидкости, проходящей в единицу времени через сечение потока
. (2.1.6)
Основные уравнения движения жидкости.
Уравнение неразрывности потока связывает массовые расходы в различных сечениях потока, рис. 2.1.2.

Рис. 2.1.2. Схема движения потока в трубе
Так как стенки непроницаемы для жидкости, то
(2.1.7)
Данное уравнение называют также уравнением постоянства массового расхода, оно является следствием закона сохранения материи.
С учетом (2.5) и (2.6), последнее уравнение можно записать в виде
, (2.1.8)
Уравнение (2.1.8) называют уравнением неразрывности потока.
при условии постоянства плотности жидкости уравнение неразрывности потока имеет вид
, (2.1.9)
или
(2.1.10)
Из последнего уравнения следует, что при установившемся движении жидкости средние скорости потока обратно пропорциональны площадям соответствующих сечений.
Уравнение Бернулли
Уравнение Бернулли устанавливает связь между параметрами потока в его различных сечениях, рис. 2.1.3, и является частным случаем закона сохранения энергии, применительно к механической энергии единицы объема движущейся жидкости.

Рис. 2.1.3. Иллюстрация закона Бернулли
Для сечений 1 и 2 уравнение Бернулли имеет следующий вид
; (2.1.11)
Все слагаемые левой и правой частей уравнения (2.1.11) относятся к единице объема жидкости и характеризуют:
-
- потенциальную энергию положения;
-
- потенциальную энергию сжатия;
-
- кинетическую энергию.
Трехчлены
; (2.1.12)
; (2.1.13)
определяют величину полной механической энергии единицы объема жидкости в сечениях 1 и 2 соответственно.
Величина
определяет потери давления жидкости (уменьшение полной механической энергии единицы объема жидкости) на участке ее движения от сечения 1 до сечения 2. Применительно к условиям движения воды в системах водоснабжения потери давления жидкости являются функцией геометрии трубопровода и квадрата скорости жидкости.
В том случае, если между сечениями 1 и 2 к жидкости подводится механическая энергия, например на данном участке установлен насос, который перемещает жидкость и увеличивает при этом величину полного давления жидкости, уравнение Бернулли имеет следующий вид:
; (2.1.14)
где
- приращение полного давления жидкости в насосе.
Или
. (2.1.15)
В практике водоснабжения, наряду с зависимостью (2.1.14), используется другая форма уравнения Бернулли:
; (2.1.16)
или
; (2.1.17)
Все слагаемые уравнения (2.1.17) называются напорами, имеют размерность длины и характеризуют соответствующие давления жидкости, выраженные в высоте столба жидкости.
Приведем несколько простейших примеров применения уравнения Бернулли при рассмотрении процессов движения жидкости.
Первый пример связан с самотечным движением жидкости из выше расположенной емкости в ниже расположенную, рис. 2.1.4.

Рис. 2.1.4. Истечение жидкости из выше расположенной емкости в ниже расположенную.
Проведем плоскость сравнения 0 – 0, а также сечение 1, совпадающее с уровнем жидкости в выше расположенной емкости и сечение 2, совпадающее с уровнем жидкости в ниже расположенной емкости.
Составим уравнение Бернулли применительно к сечениям 1 и 2, учитывая, что скорости движения жидкости в сечениях 1 и 2 пренебрежимо малы по сравнению со скоростью жидкости в соединительной трубе, а на поверхности жидкости в сечениях 1 и 2 действует атмосферное давление Ра:
; (2.1.18)
отсюда
. (2.1.19)
или
; (2.1.20)
При самотечном движении жидкости из выше расположенной емкости в ниже расположенную, потери напора равны разности высот расположения уровней жидкости в емкостях.
Рассмотрим возможность перемещения жидкости из ниже расположенной емкости в вышерасположенную, рис. 2.1.5.

Рис. 2.1.5. Перемещение жидкости из ниже расположенной емкости в выше расположенную.
Из зависимости (2.1.19) следует, что перемещение жидкости из ниже расположенной емкости в выше расположенную возможно только при условии подвода к жидкости механической энергии, поэтому составим для сечений 2 и 1 уравнение Бернулли в виде (2.1.16), учитывая те же допущения, что и в предыдущем случае
; (2.1.21)
; (2.1.22)
Требуемый напор, создаваемый насосом, складывается из разности высот расположения уровней жидкости в емкостях и потерь напора жидкости при ее движении из ниже расположенной жидкости в выше расположенную.
Рассмотрим движение воды по замкнутому контуру, рис. 2.1.6.

Рис. 2.1.6. Перемещение жидкости насосом по замкнутому контуру.
Составим уравнение Бернулли для замкнутого контура движения воды применительно к произвольно выбранному сечению I – I.
; (2.1.23)
или
; (2.1.24)
При движении воды по замкнутому контуру напор, создаваемый насосом, равен потерям напора воды при ее движении по трубопроводам и не зависит от размеров контура по вертикали.
Уравнение Бернулли устанавливает ряд важных качественных закономерностей движения жидкости, к которым можно отнести следующие положения:
- движение жидкости сопровождается потерями давления (потерями энергии потока);
- если на рассматриваемом участке нет подвода механической энергии к потоку (отсутствует насос), движение жидкости происходит от сечения с большим значением Рп к сечению с меньшим значением данной величины, при этом разность полных давлений жидкости в сечениях, расходуется на преодоление сопротивлений ее движению;
- при необходимости перемещения жидкости от сечения с меньшим значением полного давления к сечению с его большим значением, необходимо между указанными сечениями установить насос, сообщающий жидкости дополнительную энергию (увеличивающий ее механическую энергию);
- при перемещении жидкости по замкнутому контуру трубопроводов напор, создаваемый насосом, не зависит от размеров контура по вертикали и равен потерям напора жидкости при ее движении в замкнутом контуре;
- при неизменности объемного расхода потока и уменьшении поперечного сечения трубы, увеличивается скорость движения жидкости и возрастают потери ее давления. Так, при уменьшении поперечного сечения трубы в 2 раза скорость жидкости увеличивается в 2 раза, а потери давления – в 4 раза. Это влечет дополнительные затраты энергии на перемещение жидкости.
2.2. Классификация систем водоснабжения поселений
Водоснабжение организуется посредством устройства систем водоснабжения поселений.
Системы водоснабжения поселений классифицируются по объекту водоснабжения, назначению, способу транспортировки воды.
Классификация систем водоснабжения приведена на рис. 2.2.1.
Классификация систем по объекту водоснабжения отражает зону обслуживания системы: город, поселок, промышленный район или отдельное предприятие, сельское поселение.
Классификация систем водоснабжения по назначению характеризует целевое назначение систем:
- хозяйственно-питьевые системы предназначены для удовлетворения питьевых, хозяйственных и бытовых потребностей людей в воде;
- производственные системы обеспечивают подачу воды на промышленные предприятия для технологических нужд;
- противопожарные системы подают воду для наружного пожаротушения;
- сельскохозяйственные системы снабжают водой сельскохозяйственные комплексы;
- объединенные системы совмещают несколько функций и могут быть хозяйственно-питьевыми – противопожарными, такие системы наружного водопровода характерны для городов и других видов поселений, производственно-противопожарными и др.
Классификация систем по способу подачи воды характеризует способ перемещения воды по системе. В напорных системах движение воды осуществляется за счет работы насосов, в безнапорных – самотеком.

Рис. 2.2.1. Классификация систем водоснабжения поселений.
2.3. Нормы и режимы водопотребления, расчетные расходы
Системы водоснабжения выполняют свою задачу в том случае, если обеспечивают потребности поселения в воде, поэтому состав и технические характеристики системы водоснабжения определяются, в значительной мере, условиями водопотребления, которые характеризуются нормой водопотребления, расчетными расходами, режимом водопотребления и свободными напорами у потребителей.
Нормы водопотребления.
Нормой водопотребления называется количество воды, расходуемой на определенные нужды в единицу времени или на единицу продукции.
Нормы водопотребления устанавливаются СНиП.
При разработке разделов водоснабжения схем районной планировки и генеральных планов поселений удельное среднесуточное (за год) водопотребление допускается принимать по таблице 2.3.1.
Таблица 2.3.1
| Водопотребитель | Удельное среднесуточное (за год) водопотребление на одного жителя в населенных пунктах, л/сут |
| Города Сельские населенные пункты | 600 150 |
Приведенное в таблице удельное водопотребление включает расходы воды на хозяйственно-питьевые нужды в жилых и общественных зданиях, нужды местной промышленности, поливку улиц и зеленых насаждений.
Нормативы водопотребления на хозяйственно-питьевые нужды, поливку территории поселений, наружное пожаротушение устанавливаются СНиП.
При проектировании систем водоснабжения населенных пунктов удельное среднесуточное (за год) водопотребление на хозяйственно-питьевые нужды населения принимается по таблице 2.3.2. Из данных данной таблицы следует, что уровень комфортности жилья и степень его благоустройства непосредственно влияют на величину удельного хозяйственно-питьевого водопотребления, которая в конечном счете определяет требуемую производительность системы водоснабжения поселения и затраты на ее устроство.
Таблица 2.3.2.
Удельное среднесуточное хозяйственно-питьевое водопотребление
| Степень благоустройства районов жилой застройки | Удельное хозяйственно-питьевое водопотребление в населенных пунктах на одного жителя (за год), л/сут |
| Застройка зданиями, оборудованными внутренним водопроводом и канализацией: без ванн | 125–160 |
| с ванными и местными водонагревателями | 160–230 |
| с централизованным горячим водоснабжением | 230–350 |
Расчетный (средний за год) суточный расход воды qсут.m, м3/сут, на хозяйственно-питьевые нужды в населенном пункте определяется по формуле
qсут.m = SqжNж/1000, (2.3.1)
где qж — удельное водопотребление, принимаемое по табл. 2.3.2;
Nж — расчетное число жителей в районах жилой застройки с различной степенью благоустройства.
Удельные расходы воды на поливку в населенных пунктах и на территориях промышленных предприятий принимаются по СНиП в зависимости от покрытия территории, способа ее поливки, вида насаждений, мощности источника водоснабжения, степени благоустройства населенных пунктов, климатических и других местных условий. Удельное среднесуточное за поливочный сезон потребление воды на поливку в расчете на одного жителя допускается принимать, с учетом указанных выше факторов, в объеме 50—90 л/сут.
Расход воды на наружное пожаротушение (на один пожар) рассчитывается по СНиП в зависимости от числа жителей поселения и находится в пределах от 5 л/с, при численности населения до 1 тыс. человек, до 100 л/с при численности населения в городе от 800 тысяч до 1 миллиона человек.
Расход воды на наружное пожаротушение (на один пожар) жилых и общественных зданий принимается в зависимости от назначения здания, его этажности и объема и находится в пределах от 10 л/с до 35 л/с.
Расходы воды на производственные нужды промышленных и сельскохозяйственных предприятий определяются на основании технологических данных. Воду на технологические нужды промышленных предприятий используют в основном в двух направлениях:
- как сырьевую составляющую технологического процесса производства продукции (текстильные, целлюлозно-бумажные, кожевенные и др. предприятия);
- как охлаждающую среду (металлургические, машиностроительные и др. предприятия).
Расход воды на технологические нужды,
, определяют исходя из норм водопотребления на единицу продукции,
, и количества выпускаемой продукции, n,
, (2.3.2)
или числа технологических агрегатов, т, и расхода воды одним агрегатом,
,
. (2.3.2)
Важнейшей особенностью режима водопотребления является его неравномерность. В летний период расход воды увеличивается, зимой – уменьшается, также существенно изменяется величина водопотребления в течение недели и суток. На рис. 2.3.1 приведен примерный график водопотребления городом. Если бы водопотребление было бы равномерным в течение суток, то график водопотребления отображался бы линией, параллельной оси абсцисс с ординатой, равной 4,17 %. Но, как видно из графика, водопотребление городом в течение суток носит неравномерный характер. Имеются два максимума водопотребления – первый с 7 до 11 часов и второй - с 16 до 19 часов. Минимальное водопотребление наблюдается в ночное время с 22 до 5 часов.
Неравномерность водопотребления характеризуется соответствующими коэффициентами:
- коэффициент суточной неравномерности водопотребления характеризует отношение суточного расхода в дни наибольшего водопотребления, к среднему суточному расходу;
- коэффициент часовой неравномерности водопотребления равен отношению часового расхода в часы максимального водопотребления к среднему часовому расходу.

Рис. 2.3.1. Суточный график водопотребления.
2.4. Свободные напоры у потребителей.
Необходимым условием гарантированного водоснабжения потребителей является обеспечение требуемого напора на вводе в здание, необходимого для нормальной работы водоразборной арматуры (кранов, смесителей и пр.), установленных внутри здания. Этот напор называют минимальным свободным напором.
Минимальный свободный напор в сети водопровода населенного пункта на вводе в здание над поверхностью земли должен приниматься при одноэтажной застройке не менее 10 м, при большей этажности на каждый этаж следует добавлять 4 м.
Свободный напор в наружной сети производственного водопровода должен приниматься по технологическим данным.
Свободный напор в наружной сети хозяйственно-питьевого водопровода у потребителей не должен превышать 60 м. Свободный напор у наиболее низко расположенного санитарного прибора здания не должен превышать 45 м. Два последних требования диктуются условиями прочности элементов внутреннего водопровода зданий.
Нормативы по величине и неравномерности водопотребления, а также минимальным свободным напорам у потребителей закладываются в основу разработки системы водоснабжения поселения.
2.5. Источники водоснабжения.
Важнейшей составляющей системы водоснабжения является источник водоснабжения. Необходимо отметить, что наличие водных ресурсов является одним из основных факторов, определяющих градостроительную перспективу поселения.
Природные источники водоснабжения делятся на два основных типа:
- подземные;
- поверхностные.
Подземные источники водоснабжения, рис. 2.5.1, делятся на безнапорные и напорные (артезианские). Наличие в данной местности подземных источников, пригодных для хозяйственно-питьевых целей, глубина залегания вод, мощности водоносных слоев устанавливаются гидрологическими изысканиями.

Рис. 2.5.1. Схема залегания подземных вод. 1 – первый от поверхности земли водоносный слой (воды аэрации); 2 – безнапорные подземные воды; 3 - напорные подземные воды.
За исключением грунтовых подземных вод, находящихся в первом от поверхности земли водоносном слое, подземные воды могут использоваться для хозяйственно-питьевых целей.
Безнапорные грунтовые воды используются в основном для индивидуального водоснабжения в сельской местности. При вскрытии колодцем или скважиной безнапорного водоносного слоя, уровень воды в них устанавливается на уровне, совпадающем с уровнем подземных вод.
Напорные (артезианские) подземные воды характеризуются постоянством состава и температуры, в большинстве случаев они обладают высоким качеством и могут использоваться для хозяйственно-питьевого водоснабжения без очистки. К факторам, снижающим качество артезианских вод, можно отнести их возможную повышенную минерализацию. При вскрытии скважиной напорного водоносного слоя уровень воды в ней зависит от величины напора воды в водоносном слое. В том случае, если напор превышает глубину залегания напорного водоносного слоя, артезианские воды поступают на поверхность земли и называются самоизливающимися.
К поверхностным источникам водоснабжения относятся реки, озера, водохранилища и другие источники пресной воды, расположенные на поверхности земли. Поверхностные источники водоснабжения более подвержены загрязнению чем подземные, поэтому в большинстве случаев требуют очистки и обеззараживания. Кроме того, поверхностные источники характеризуются изменением уровня воды в различные периоды года, льдообразованием в зимний период, и возможностью изменения гидрологических условий (образование наносов, размывание берегов и т. д.).
В некоторых случаях для хозяйственно-питьевых целей может использоваться морская вода и вода соленых озер. В этом случае требуется их опреснение путем выпаривания или использования специальных физико-химических методов обессоливания, что связано с существенными затратами, вследствие высокой стоимости установок и большими эксплутационными расходами.
2.6. Свойства воды, требования к ее качеству.
Важнейшей характеристикой системы водоснабжения является качество воды, поставляемой потребителям.
Качество воды характеризуется ее физическими, химическими и бактериологическими свойствами.
К физическим свойствам воды относят ее температуру, мутность, цветность, вкус и запах.
Температура воды поверхностных источников меняется в широких пределах в зависимости от времени года и метеоусловий, в отличие от температуры подземных источников, которая относительно постоянна.
Мутность воды определяется содержанием в ней взвешенных частиц и имеет размерность мг/л. Мутность воды поверхностных источников зависит от особенностей источника и времени года. Особенно велика мутность в периоды дождей и паводка. Подземные воды имеют малую мутность.
Цветность воды обусловливается наличием в воде растворенных веществ и измеряется в градусах цветности путем визуального сравнения с эталоном.
Вкус и запах воды устанавливают путем экспертной оценки и оценивают в баллах по пятибалльной шкале.
К химическим свойствам воды относят её активную реакцию, жесткость, окисляемость, количество растворенных солей, химических веществ и их соединений.
Активная реакция воды, характеризующая степень её щелочности или кислотности, определяется концентрацией в воде водородных ионов. При рН+ = 7 вода нейтральна, при рН+ < 7 вода проявляет кислотные свойства, а при рН+ > 7 – щелочные.
Жесткость воды определяется наличием в ней солей кальция и магния и измеряется в мг-экв/л. Наличие в воде двууглекислых солей кальция и магния обусловливают карбонатную, или временную, жесткость, которая исчезает при кипячении воды. Присутствие в воде хлористых и сернокислых солей кальция и магния образует некарбонатную, или постоянную жесткость, остающуюся в воде после кипячения. Сумма карбонатной и некарбонатной жесткостей характеризует общую жесткость воды. Жесткость воды поверхностных источников обычно меньше чем подземных.
Окисляемость характеризует количество кислорода, необходимого для окисления органических веществ, растворенных в 1 л воды, и является косвенным признаком загрязнения воды сточными водами.
Плотный осадок характеризует содержание в воде растворенных солей и измеряется в мг/л. Воды поверхностных источников имеют меньший плотный остаток по сравнению с подземными водами.
В зависимости от индивидуальных свойств источника водоснабжения в воде могут присутствовать растворенные химические вещества и их соединения: железо, фтор, йод и др. Их содержание определяется в мг/л.
К бактериологическим свойствам воды относят ее загрязненность бактериями, которая измеряется числом бактерий, содержащихся в 1 см3 воды. Различают патогенные (болезнетворные) и сапрофитные (не болезнетворные) бактерии. Оценивают наличие в воде патогенных бактерий содержанием в ней бактерии коли (кишечной палочки) посредством использования коли-титра и коли-индекса. Коли-индекс равен количеству кишечных палочек, находящихся в 1 л. Коли-титр равен наименьшему объему воды в кубических сантиметрах, в котором обнаружена одна кишечная палочка.
Требования к качеству воды определяются назначением системы водоснабжения.
Для систем хозяйственно-питьевого назначения требования к качеству воды устанавливаются СанПиН.
Благоприятные органолептические (для органов чувств человека) физические свойства воды определяются ее соответствием требованиям, приведенным в таблице 2.6.1.
Предельно-допустимые концентрации (ПДК) химических элементов и соединений, содержащихся в воде, и верхние пределы значений ее химических параметров приведены в таблице 2.6.2.
Таблица 2.6.1
Требования к физическим параметрам воды для хоз.питьевых нужд
| Показатели | Единицы измерения | Нормативы, не более |
| Запах | баллы | 2 |
| Привкус | - " - | 2 |
| Цветность | градусы | 20 |
| Мутность | мг/л | 1,5 |
Таблица 2.6.2
ПДК химических веществ и соединений
| Показатели | Единицы измерения | Нормативы (предельно допустимые концентрации (ПДК)), не более |
| Водородный показатель | единицы pH | в пределах 6 - 9 |
| Общая минерализация (сухой остаток) | мг/л | 1000 |
| Жесткость общая | мг-экв./л | 7,0 |
| Окисляемость | мг/л | 5,0 |
| Нефтепродукты, суммарно | мг/л | 0,1 |
| Поверхностно - активные вещества (ПАВ), анионоактивные | мг/л | 0,5 |
| Фенольный индекс | мг/л | 0,25 |
| Алюминий (AL3+) | мг/л | 0,5 |
| Барий (Ba2+) | - " - | 0,1 |
| Бериллий (Be2+) | мг/л | 0,0002 |
| Железо (Fe, суммарно) | - " - | 0,3 |
| Нитраты (по NO3-) | - " - | 45 |
| Ртуть (Hg, суммарно) | - " - | 0,0005 |
| Свинец (Pb, суммарно) | - " - | 0,03 |
| Селен (Se, суммарно) | - " - | 0,01 |
| Стронций (Sr2+) | - " - | 7,0 |
| Сульфаты ( | - " - | 500 |
Требования к качеству воды систем производственного водоснабжения устанавливаются технологическими требованиями и зависят от условий производства. Например, при использовании воды для охлаждения оборудования и продукции (металлургические цехи, энергетическое оборудование) лимитируется содержание в воде взвешенных частиц, она должна иметь низкую карбонатную жесткость. При использовании воды для питания котлов она должна иметь минимальную жесткость.
2.7. Структура и схема системы водоснабжения поселения.
Система водоснабжения поселения объединяет следующие подсистемы:
- водозаборное сооружение, предназначенное для приема воды из источника водоснабжения;
- станцию очистки и обеззараживания воды, предназначенную для обеспечения требуемого качества воды;
- трубопроводы и насосы, предназначенные для транспортировки воды по элементам и сооружениям системы водоснабжения и подачи ее потребителям;
- резервуары для хранения воды.
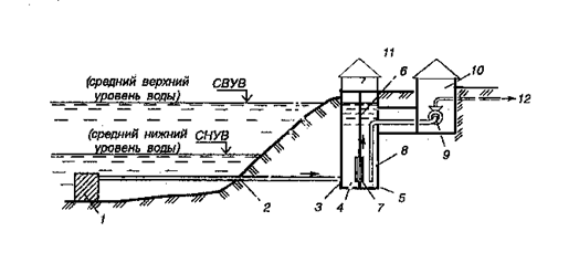
Примерная схема водоснабжения города от поверхностного источника водоснабжения представлена на рис. 2.7.1.

Рис. 2. 7.1. Схема водоснабжения города от поверхностного источника: ВОК – водоочистительный комплекс; 1 – источник водоснабжения; 2 - водозаборное сооружение; 3 – самотечные трубы; 4 - береговой колодец; 5 – насосная станция первого подъема; 6 – водоводы первого подъема; 7 – станция очистки и обеззараживания воды; 8 – резервуары чистой воды; 9 – насосная станция второго подъема; 10 – водоводы второго подъема; 11 – регулирующий резервуар (водонапорная башня); 12 – магистральные водопроводы; 13- распределительные водопроводы.
2.8. Водозаборные сооружения.
Сооружения для приема воды из поверхностных источников
Водозаборные сооружения предназначены для приема воды из источника.
Выбор типа водозаборного сооружения и его размещение зависят от гидрологических характеристик и характера источника. Место водозабора должно отвечать следующим требованиям:
- располагаться на кратчайшем расстоянии от потребителя (городской застройки и промпредприятий);
- выше по течению реки от города, промышленных предприятий и других потенциальных источников загрязнения воды;
- находиться на устойчивом участке реки, вне зон интенсивного движения судов, образования донных наносов и ледяных заторов;
- обеспечивать возможность устройства зон санитарной охраны водозабора.
В системах водоснабжения городов наибольшее распространение получили водозаборные сооружения берегового и руслового типов.
Водозаборные сооружения берегового типа устраивают при крутом береге реки, ее значительной глубине в месте водозабора и устойчивых грунтах в основании берега. Они бывают двух видов: раздельные, рис. 2.8.1, и совмещенные, рис. 2.8.2.
При раздельном водозаборном сооружении берегового типа на склоне берега располагается водоприемный железобетонный колодец, который по фронту имеет не менее двух секций, каждая из которых разделена на приемную 1 и всасывающую 2 камеры. Каждая всасывающая камера соединяется всасывающей трубой 3 с насосами 4. Вода из реки поступает в приемную камеру через окна, оборудованные с наружной стороны съемными решетками. Насосная станция 1 подъема конструктивно отделена от берегового колодца.
.
Рис. 2. 8.1. Схема берегового водозабора раздельного вида. 1- приемная камера; 2 - всасывающая камера; 3 - всасывающий трубопровод; 4 - насосы насосной станции 1 подъема

Рис. 2.8.2. Водозаборные сооружения берегового типа, совмещенные с насосными станциями. 1- водоприемная камера; 2 – насосный зал; 3 – водоприемная сетка; 4 – горизонтальный центробежный насос; 5 – вертикальный центробежный насос.
Совмещенные водозаборы, устраивают с общим основанием для водоприемного колодца и насосной станции.
Водозаборные сооружения руслового типа, рис. 2.8.3, устраивают при:
- неустойчивых грунтах в основании берега;
-малой глубине у берега в месте водозабора;
- незначительности донных наносов.

Рис. 2.8.3. Водозабор руслового типа. 1 – оголовок; 2 – самотечные трубы; 3 – береговой колодец; 4 – приемная камера; 5 – всасывающая камера; 6 - перегородка; 7 – съемная сетка; 8 – всасывающий патрубок; 9 – центробежный насос; 10 – насосная станция первого подъема; 11 – павильон; 12 – напорные водоводы.
Русловой водозабор состоит из оголовка 1, самотечных труб 2, берегового колодца 3 и насосной станции 4. Вода из реки поступает через оголовок и самотечные трубы в береговой колодец и далее в насосную станцию.
При неблагоприятных гидрологических условиях в месте водозабора устраивают ковши из которых производится забор воды.
Зоны санитарной охраны поверхностных источников.
Возможность загрязнения источника водоснабжения приводит к необходимости проведения специальных водоохранных мероприятий, направленных на предотвращение загрязнения воды и ухудшения ее качества в месте водозабора, а также контроль состояния источника водоснабжения и условий работы водопроводных сооружений. Для этого организуются зоны санитарной охраны источника водоснабжения, состоящие из трех поясов, границы которых устанавливаются СНиП.
Первый пояс зоны охраны источника водоснабжения охватывает территорию, непосредственно примыкающую к водозабору, и является зоной строгого санитарного контроля.
Границы первого пояса зоны поверхностного источника водоснабжения устанавливаются на расстояниях от водозабора:
- для рек:
· вверх по течению — не менее 200 м;
· вниз по течению — не менее 100 м;
· по прилегающему к водозабору берегу — не менее 100 м от уреза воды;
· в направлении к противоположному берегу: при ширине водотока менее 100 м — вся акватория и противоположный берег шириной 50 м от уреза воды при летне-осенней межени и при ширине водотока более 100 м — полоса акватории шириной не менее 100 м;
· на водозаборах ковшевого типа в границы первого пояса включается вся акватория ковша и территория вокруг него полосой не менее 100 м;
- для водоемов (водохранилище, озеро):
· по акватории во всех направлениях — не менее 100 м;
· по прилегающему к водозабору берегу — не менее 100 м от уреза воды.
Территория первого пояса зоны поверхностного источника водоснабжения должна быть спланирована, огорожена, озеленена и оборудована сторожевой сигнализацией. Границы акватории первого пояса зоны обозначаются предупредительными наземными знаками и буями.
На территории первого пояса зоны запрещаются:
- все виды строительства, за исключением реконструкции или расширения основных водопроводных сооружений;
- размещение жилых и общественных зданий, проживание людей, в том числе работающих на водопроводе;
- выпуск в поверхностные источники сточных вод, купание, водопой и выпас скота, стирка белья, рыбная ловля, применение для растений ядохимикатов и удобрений;
Все производственные здания, находящиеся на территории первого пояса должны быть канализованы с отведением сточных вод в систему бытовой или производственной канализации, отведение поверхностных вод организуется за пределы первого пояса.
В пределах второго пояса зоны охраны регулируется отведение территорий для поселений, лечебно-профилактических и оздоровительных учреждений, промышленных и сельскохозяйственных объектов и их благоустройство с устройством водоснабжения и канализации зданий, отводом загрязненных поверхностных сточных вод и проведением других мероприятий по защите источника водоснабжения от загрязнения.
Во втором поясе зоны поверхностного источника водоснабжения запрещается:
- загрязнение территорий нечистотами, мусором, промышленными отходами ;
- размещение складов горюче-смазочных материалов, ядохимикатов и минеральных удобрений и других объектов, которые могут вызвать химические загрязнения источника водоснабжения;
- размещение кладбищ, скотомогильников, животноводческих и птицеводческих предприятий и других объектов, которые могут вызвать микробные загрязнения источников водоснабжения;
- применение удобрений и ядохимикатов.
В пределах второго пояса зоны поверхностного источника водоснабжения допускаются: птицеразведение, стирка белья, купание, туризм, водный спорт, устройство пляжей и рыбная ловля в установленных местах.
Границы второго пояса зоны реки устанавливаются:
· вверх по течению – исходя из времени протекания воды от границы пояса до водозабора 3 - 5 суток в зависимости от климатического района:
· вниз по течению — не менее 250 м;
· боковые границы — на расстоянии от уреза воды 500 - 1000 м, в зависимости от рельефа местности.
Границы третьего пояса зоны поверхностного источника водоснабжения должны быть вверх и вниз по течению водотока или во все стороны по акватории водоема такими же, как для второго пояса; боковые границы — по водоразделу, но не более 3—5 км от водотока или водоема.
В пределах третьего пояса проводятся те же мероприятия по регулированию отвода земель и благоустройству объектов, что и для второго пояса.
Сооружения для забора подземных вод.
Выбор типа водозаборного сооружения зависит от глубины залегания вод, мощности водоносного пласта, наличия напора воды в нем и ряда других факторов.
В практике водоснабжения нашли применение следующие основные типы водозаборных сооружений: шахтные и трубчатые колодцы, горизонтальные водозаборы, лучевые водозаборы.
Шахтные колодцы применяют для забора воды из безнапорных водонесущих пластов неглубокого залегания. Для систем централизованного водоснабжения устраивают несколько одновременно действующих колодцев, расположенных перпендикулярно направлению потока грунтовых вод. Подача воды из колодцев осуществляется в сборный колодец сифонными трубами или при помощи погружных насосов. Из сборного колодца вода забирается насосной станцией второго подъема и, при отсутствии необходимости ее очистки и обеззараживания, подается в водопроводную сеть.
Трубчатые колодцы (скважины) устраивают для забора безнапорных и напорных вод из водоносных пластов глубокого залегания. Их отличительной особенностью является малый диаметр и значительная глубина.
Горизонтальные водозаборы используются при глубине залегания водоносного пласта до 8 метров. Они представляют собой дренажные трубы, расположенные в нижней части водоносного пласта, объединенные в сборный колодец.
Лучевой водозабор используется для забора подрусловых и подземных вод из водоносных пластов, расположенных на глубине до 20 метров. Данный водозабор относится к инфильтрационному типу. Вода собирается горизонтально расположенными дренажными трубами, радиально присоединенными к сборному колодцу.
Зоны санитарной охраны подземных водозаборов.
Границы первого пояса зоны подземного источника водоснабжения устанавливаются от одиночного водозабора (скважина, шахтный колодец) или от крайних водозаборных сооружений группового водозабора на расстояниях:
30 м при использовании защищенных подземных вод;
50 м при использовании недостаточно защищенных подземных вод.
В границы первого пояса зоны инфильтрационных водозаборов следует включать прибрежную территорию между водозабором и поверхностным источником водоснабжения, если расстояние между ними менее 150 м.
Для подрусловых водозаборов и участка поверхностного источника, питающего инфильтрационный водозабор, границы первого пояса зоны предусматриваются как для поверхностных источников водоснабжения.
2.9. Насосные станции первого подъема
Насосные станции первого подъема входят в комплекс водозаборных сооружений и размещаются на одной площадке с ними.
Назначением насосной станции первого подъема является подача воды на очистные сооружения водопровода, которые могут располагаться на значительном удалении от водозаборных сооружений.
Насосы должны обеспечивать подачу требуемого расхода воды и необходимый напор.
Производительность насосной станции принимается равной среднесуточному расходу воды в системе водоснабжения в сутки максимального водопотребления.
Требуемый напор, создаваемый насосной станцией, определяется по формуле:
, (2.9.1)
где
- разность отметок уровней воды в приемном резервуаре станции очистки воды и в приемной камере берегового колодца;
- потери напора воды на участке её движения от реки до приемного резервуара станции очистки воды.
Для обеспечения бесперебойной подачи воды и ступенчатого изменения производительности, а также обеспечения возможности проведения ремонтных работ без прекращения водоснабжения, на станции устанавливается не менее двух рабочих и двух резервных насосных агрегатов.
На насосных станциях применяются в основном центробежные насосы, характерной особенностью которых является низкая допустимая высота всасывания, поэтому насосы рекомендуется устанавливать под заливом, то есть ниже уровня воды в береговом колодце. Именно поэтому устраивают заглубленные помещения насосных станций.
2.10. Очистные сооружения водопровода.
Использование воды поверхностных источников для водоснабжения поселений требует улучшения ее качества. В практике водоснабжения используется различные методы обработки воды на очистных сооружениях водопровода. Под обработкой понимается не только удаление из воды нежелательных примесей и ее обеззараживание, но и добавление в воду недостающих ингредиентов. Процессы обработки воды рассмотрим на примере работы станции очистки воды для хозяйственно-питьевых целей, схема которой приведена на рис. 2.10.1.

Рис. 2.10.1. Схема очистной станции водопровода. 1 – насосная станция первого подъема; 2 – смеситель; 3 – реагентное хозяйство; 4 – камера реакции; 5 – вертикальный отстойник; 6 – фильтры; 7 – установка для выработки обеззараживающего агента; 8 – резервуар чистой воды; 9 – насосная станция второго подъема.
Насосами насосной станции первого подъема 1 вода подается в приемный резервуар смесителя 2, в котором к воде подмешивается раствор реагента, который приготавливается в реагентном хозяйстве 3. Назначение реагента состоит в интенсификации процесса коагуляции (укрупнения взвесей) и их последующего осаждения. В камере реакции 4 в результате взаимодействия реагента с солями, растворенными в воде, протекает процесс хлопьеобразования и осаждения взвесей на хлопьях.
В отстойнике 5 происходит осаждение примесей при малой скорости движения воды, величина которой зависит от конструкции отстойника. В системах водоснабжения городов на станциях очистки воды производительностью более 30000 м3/сут. применяют горизонтальные отстойники. Вертикальные отстойники применяют при производительности станции очистки воды до 5000 м3/сут. Радиальные отстойники предназначены для очистки мутных вод. На станции очистки устанавливают несколько отстойников, работающих по параллельной схеме
Габариты отстойников определяются расчетом.
В фильтрах 6 происходит очистка воды в результате ее фильтрации через слой мелкозернистого материала – кварцевого песка, дробленого антрацита и др. По скорости движения воды в фильтрах они подразделяются на медленные, скорые, и сверхскорые. Медленные и скорые фильтры делаются открытыми безнапорными, а сверхскорые – закрытыми напорными. На станциях очистки большой производительности применяются скорые и сверхскорые фильтры. Фильтры нуждаются в периодической промывке для удаления загрязнений фильтрующего материала, образовавшихся в результате фильтрации воды.
Процессы обработки воды в отстойниках и фильтрах позволяют наряду с очисткой воды удалить из нее значительную часть бактерий и вирусов. Оставшуюся часть нейтрализуют в процессе обеззараживания воды.
Различают пять основных способов обеззараживания:
- термический;
- воздействием на воду сильных окислителей;
- ультразвуковым воздействием;
- обработкой ультрафиолетовыми лучами;
- олигодинамия (контактом воды с ионами благородных металлов, например серебра).
На станциях очистки воды большой производительности обеззараживание осуществляется воздействием на воду сильных окислителей, в качестве которых применяется хлор и озон.
При хлорировании воды необходим длительный не менее 30 минут контакт хлор с водой. Поэтому хлорирование производится в резервуаре чистой воды путем подачи в него хлорной воды, из установки для выработки обеззараживающего агента 7, которая в данном случае называется хлораторной.
При поступлении хлора в воду происходит окисление веществ протоплазмы клеток бактерий, что вызывает их гибель. Хлорирование эффективно против бацилл брюшного тифа, дизентерии, вирусов энцефалита, вибрионов холеры. Недостатком хлорирования является то, что спорообразующие бактерии устойчивы к действию хлора, а также то, что хлор является токсичным газом, что необходимо учитывать при проектировании, строительстве и эксплуатации станции очистки воды. Об эффективности процесса обеззараживания судят по остаточному хлору, концентрация которого не должна превышать допустимых значений.
При озонировании уничтожаются бактерии, споры и вирусы, при этом одновременно с обеззараживанием происходит дезодорация, обесцвечивание воды и устраняются привкусы. Озон, химическая формула О3, получают в озонаторах воздействием на воздух электрического разряда. Озонирование имеет ряд существенных преимуществ перед хлорированием. Нет необходимости строгого контроля за концентрацией озона в воде, так как он является нестойким соединением и его избыток превращается в кислород, озон в отличие от хлора не ухудшает свойств воды, время озононирования в несколько раз меньше чем хлорирования.
Обеззараживание воды ультрафиолетовыми лучами применяют на установках небольшой производительности. Эффект обеззараживания основан на бактерицидном действии ультрафиолетовых лучей с длиной волны 200-290 мкм.
Размещение водоочистительного комплекса.
При выборе площадки для размещения водоочистных сооружений необходимо учитывать следующее. Они могут размещаться непосредственно в месте забора воды или вблизи потребителей. В первом случае водоочистные сооружения вместе с водозаборными сооружениями, насосными станциями первого и второго подъема являются единым комплексом головных сооружений водопровода. Во втором случае в водоочистительный комплекс (ВОК) входят сооружения по улучшению качества воды, резервуары питьевой воды и насосная станция второго подъема.
Все основные и вспомогательные сооружения станции очистки целесообразно размещать в виде единого комплекса, примерный генеральный план которого представлен на рис. 2.10.2.
Рис. 2.10.2. Генеральный план водоочистного комплекса. 1 – блок основных сооружений; 2 – реагентное хозяйство; 3 – котельная; 4 – служебный комплекс; 5 – башня промывной воды; 6 – хлораторная; 7 – сооружения оборота промывной воды; 8 – сооружения обработки осадка; 9 – резервуары чистой воды; 10 – насосная станция второго подъема. R1 – трубопроводы для подачи раствора реагентов. В7 – водопроводы от насосной станции первого подъема. В1 – водоводы хозяйственно-питьевого водопровода.
В блоке основных сооружений 1 размещаются смесители, отстойники и фильтры. Хлораторная, совмещенная со складом хлора, по требованиями безопасности размещается в пониженной части территории комплекса на расстоянии не менее 30 метров от блока основных сооружений.
Определяющее влияние на выбор места расположения ВОК оказывает обеспеченность возможности устройства зоны санитарной охраны, наличие подъездов, благоприятный рельеф участка и уровень грунтовых вод.
Для очистных сооружений предусматривается зона санитарной охраны. Граница первого пояса зоны совпадает с ограждением водоочистительного комплекса и предусматривается на расстоянии:
- от стен резервуаров фильтрованной (питьевой) воды, фильтров (кроме напорных), контактных осветлителей с открытой поверхностью воды — не менее 30 м;
- от стен остальных сооружений и стволов водонапорных башен — не менее 15 м.
Территория водоочистного комплекса огораживается и оборудуется охранной сигнализацией.
Размеры земельных участков для станций очистки воды в зависимости от их производительности, тыс.м3/сут, принимаются не более , га:
до 0,8………………………………1
св. 0,8 до 12……………………….2
" 12 " 32……………………….3
" 32 " 80……………………….4
" 80 " 125……………………...6
" 125 " 250…………………….12
" 250 " 400…………………….18
" 400 " 800…………………….24.
2.11. Водоводы
Водоводы предназначены только для транспортировки воды, потребители воды к ним не присоединяются. По водоводам первого подъема вода транспортируется от водозабора до водоочистного комплекса, по водоводам второго подъема питьевая вода транспортируется от водоочистного комплекса до водопроводной сети города. Для повышения надежности водоснабжения водоводы прокладывают в две и более нитки параллельно друг другу.
Для водоводов предусматриваются санитарно-защитные полосы.
Ширина санитарно-защитной полосы водоводов, проходящих по незастроенной территории, принимается от крайних водоводов:
при прокладке в сухих грунтах — не менее 10 м при диаметре до 1000 мм и не менее 20 м при больших диаметрах; в мокрых грунтах — не менее 50 м независимо от диаметра.
При прокладке водоводов по застроенной территории ширину полосы по согласованию с органами санитарно-эпидемиологического надзора допускается уменьшать.
2.12. Наружная водопроводная сеть
Наружная водопроводная сеть города предназначена как для транспортирования воды, так и для её распределения по потребителям. Водопроводная сеть является наиболее затратным элементом системы водоснабжения, на её долю приходится более половины общих затрат на устройство водопровода города. Эффективность работы водопроводной сети определяется надежностью и бесперебойностью её работы, степенью обеспеченности расчетных расходов и свободных напоров у потребителей, затратами энергии на транспортировку воды и сохранением её качества в процессе транспортировки.
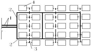
По конфигурации в плане водопроводные сети делятся на разветвленные (тупиковые), кольцевые, и комбинированные.
Тупиковые сети, рис. 2.12.1, прокладываются к потребителям по кратчайшему расстоянию и требуют минимальных, по сравнению с кольцевыми и комбинированными сетями, затрат на устройство сетей. Принципиальным недостатком тупиковых сетей является низкая надежность водоснабжения, обусловленная тем, что при аварии на каком-либо участке трубопроводной системы прекращается подача воды всем потребителям, расположенным за местом аварии по ходу движения воды.

Рис. 2.12.1. Тупиковые водопроводные сети. 1 – водоводы; 2 - магистральные водопроводы; 3 – распределительные трубопроводы; 4 – кварталы застройки.
Кольцевые сети, рис. 2.12.2, выгодно отличаются от тупиковых большей надежностью водоснабжения, так как в них предусмотрена возможность подачи воды потребителям в обход аварийного участка, однако достигается это за счет увеличения общей протяженности водопроводных сетей их удорожания.

Рис. 2.12.2. Кольцевые водопроводные сети. 1 – водоводы; 2 - магистральные водопроводы; 3 – распределительные трубопроводы; 4 - кварталы.
Комбинированные сети, рис. 2.12.3, представляют собой сочетание кольцевых и тупиковых сетей в составе единой системы водоснабжения поселения.

Рис. 2.12.3. Комбинированные водопроводные сети. 1 – водоводы; 2 - магистральные водопроводы; 3 – распределительные трубопроводы; 4 - кварталы.
При выборе конфигурации водопроводных сетей необходимо учитывать, что они должны быть кольцевыми. Тупиковые линии водопроводов хозяйственно-питьевого назначения допускается применять только при диаметре труб не свыше 100 мм или при длине линий не более 200 м.
В водопроводной сети выделяют магистральные и распределительные линии.
Направление магистральных линий совпадает с общим направлением подачи воды. Их рекомендуется прокладывать по возвышенным участкам рельефа, так как при этом уменьшается гидростатический напор в трубопроводах. Диаметры магистральных линий определяются расчетом, основу которого составляют данные по максимальному водоразбору и рекомендуемым скоростям движения воды. Принимая во внимание зависимость
, (2.12.1)
а также то, что потери напора жидкости при ее движении по трубе пропорциональны квадрату скорости, можно заключить, что при неизменности объемного расхода и уменьшении диаметра трубы, увеличивается скорость движения воды, а, следовательно, и потери напора. Это приводит к необходимости увеличения напора, создаваемого насосом, и, как следствие, к увеличению потребления электроэнергии насосом. Таким образом, сокращение затрат на устройство сети при уменьшении диаметров трубопроводов вызывает увеличение эксплуатационных расходов вследствие увеличенного потребления электроэнергии насосами второго подъема. Оптимальным вариантом выбора диаметров водопроводов считается такой, при котором значения скоростей движения воды в трубах находятся в пределах от 0,5 до 2 м/с, при этом, меньшие значения скоростей принимаются для труб диаметром от 100 до 300 мм, а большие – для диаметров более 600 мм.
Диаметр труб водопровода, объединенного с противопожарным, должен быть не менее 100 мм, в сельских населенных пунктах — не менее 75 мм.
Трассировка распределительных линий и затраты на их устройство во многом определяются градостроительным решением поселения. При ширине улиц в пределах красных линий 22 м и более рекомендуется прокладка сетей водопровода по обеим сторонам улиц.
Прокладка трубопроводов выполняется подземной для предотвращения замерзания воды зимой и нагревания летом. Минимальная глубина заложения труб, считая до низа, принимается на 0,5 м больше расчетной глубины проникания в грунт нулевой температуры, и составляет примерно 1,0-1,5 м для южных районов России, 2,0-3,0 м для средней полосы и 3,0-3,5 м для северных районов. Минимальное расстояние от верха трубы до поверхности земли определяется из условий предотвращения нагревания воды летом, а также защиты от внешних нагрузок и составляет 0,5 м.
При теплотехническом и технико-экономическом обосновании допускаются наземная и надземная прокладки, прокладка в туннелях, а также прокладка водопроводных линий в туннелях совместно с другими подземными коммуникациями.
При определении трассировки и глубины заложения водопроводных сетей при подземной прокладке необходимо учитывать условия их пересечения с другими подземными сооружениями и коммуникациями.
С целью предохранения линий водопровода от внешних воздействий, а также для предотвращения негативного влияния аварий и протечек на водопроводных сетях, СНиП ограничивают минимальные расстояния от наружной поверхности водопроводных труб до зданий, сооружений и других наружных инженерных сетей.
Водопроводные трубы.
Водопроводные трубы должны отвечать ряду требований, главные из которых:
- безопасность в санитарном отношении;
- достаточная прочность, обеспечивающая сохранность трубопроводов при воздействии на них давления воды, грунта и транспортных нагрузок;
- долговечность и устойчивость к агрессивному воздействию грунта и грунтовых вод;
- гладкость внутренней поверхности труб, обеспечивающая их низкое гидравлическое сопротивление;
- герметичность труб и их соединений;
- умеренная стоимость.
Для водопроводных сетей целесообразно применять неметаллические трубы (железобетонные, асбестоцементные, пластмассовые и др.). В последнее время широкое распространение получили пластмассовые трубы, выгодно отличающиеся прочностью, долговечностью, низким гидравлическим сопротивлением и хорошими теплотехническими характеристиками. К достоинствам пластмассовых труб можно отнести также индустриальность и высокую степень механизации работ по их прокладке.
Чугунные трубы применяются при обосновании для сетей в пределах населенных пунктов и территорий промышленных, сельскохозяйственных предприятий.
Применение стальных труб допускается:
- на участках с расчетным внутренним давлением более 1,5 МПа (15 атм.);
- для переходов под железными и автомобильными дорогами, через водные преграды и овраги;
- в местах пересечения хозяйственно-питьевого водопровода с сетями канализации;
- при прокладке трубопроводов по автодорожным и городским мостам, по опорам эстакад и в туннелях.
Трубопроводная арматура.
Для обеспечения эксплуатационной надежности водопроводных сетей на них предусматривают установку запорной, регулирующей и предохранительной трубопроводной арматуры:
- задвижек, шаровых кранов и другой запорной арматуры для отключения отдельных участков сети;
- клапанов для впуска и выпуска воздуха при опорожнении и заполнении трубопроводов;
- вантузов для выпуска воздуха в процессе работы трубопроводов;
- выпусков для сброса воды при опорожнении трубопроводов;
- обратных клапанов для предотвращения обратного движения воды;
- пожарных гидрантов.
При выборе местоположения водопроводной арматуры необходимо учитывать следующее.
Пожарные гидранты размещают вдоль автомобильных дорог на расстоянии не более 2,5 м от края проезжей части, но не ближе 5 м от стен зданий. Эти ограничения связаны с условиями забора воды пожарными машинами и предотвращением замачивания оснований зданий. Расстояние между гидрантами определяется расчетом и составляет ориентировочно 100 - 150 м.
Запорную арматуру устанавливают для обеспечения возможности отключения отдельных участков сети для проведения ремонтных работ и размещают ее на сети таким образом, чтобы при ремонте любого участка сети не прекращалось водоснабжение объектов, не допускающих перерывов в водоснабжении, и не отключалось более 5 гидрантов. Конструкция запорной арматуры должна обеспечивать плавность уменьшения расхода воды или полного прекращения ее движения. Это необходимо для предотвращения возникновения гидравлических ударов, сопровождающих резкое уменьшение скорости движения воды в трубопроводах.
Вантузы для выпуска воздуха устанавливают на возвышенных участках сети.
Обратные клапаны, предотвращающие обратное течение воды, устанавливают на тупиковых участках сети, на которых возможно обратное течение воды при отключении насосов, подающих воду в водопроводную сеть.
При подземной прокладке водопроводов трубопроводная арматура устанавливается в колодцах. При размещении колодцев на проезжей части крышки люков должны быть на одном уровне с поверхностью дорожного покрытия.
Зонирование водопроводной сети.
Важнейшей задачей проектирования водопроводной сети является обеспечение требуемого напора воды у потребителей, при этом, исходя из условий сохранности внутреннего водопровода, напор в водопроводной сети не должен превышать максимально допустимую величину, равную 60 м. В ряде случаев, например при сильно выраженном рельефе, выполнить это невозможно, поэтому устраиваются отдельные зоны водопроводной сети, отличающиеся друг от друга величиной напора воды в трубопроводах. Зонирование водопроводной сети возможно двумя способами.
Последовательное зонирование применяется при сильно выраженном рельефе застройки, рис. 2.12.4.

Рис. 2.12.4. Схема последовательного зонирования. 1,2 – ниже и выше расположенные районы застройки; 3 – резервуар; 4 – насосная станция.
При последовательном зонировании напор в водопроводной сети, обслуживающей выше расположенную часть застройки, превышает напор в сети нижерасположенной части на величину напора, создаваемого насосом.
Параллельное зонирование применяется при наличии на территории поселения удаленных районов застройки, рис. 2.12.5.

Рис. 2.12.5. Схема параллельного зонирования. 1 – резервуар питьевой воды; 2 – насосная станция; 3 – район застройки, расположенный вблизи насосной станции; 4 –район застройки, удаленный от насосной станции.
При параллельном зонировании, воду в близко расположенный к насосной станции район застройки и удаленный от нее район подают разные насосы, входящие в состав насосной станции. При этом насосы, обслуживающие удаленный район, создают больший напор, необходимый для компенсации потерь напора в протяженных водоводах, подающих воду в удаленный район.
Как правило, зонирование сети удорожает водопроводную сеть за счет строительства дополнительных резервуаров и насосных станций, поэтому оно рассматривается как вынужденная мера, необходимая для обеспечения требуемых напоров на всех участках водопроводной сети.
Влияние планировочных решений поселений на технико-экономические характеристики водопроводных сетей.
Планировочные решения поселений оказывают существенное влияние на стоимостные характеристики водопроводных сетей. К увеличению протяженности сети, и, следовательно, к увеличению ее стоимости приводит:
- низкая плотность застройки и, как следствие, увеличение площади застройки поселения;
- территориальная разобщенность поселения (наличие отдаленных массивов застройки, поселков и др.);
- большое количество широких, более 22 м улиц, по каждой стороне которых необходимо прокладывать распределительные водопроводные сети;
- удаленность насосной станции второго подъема от городской застройки.
2.13. Емкости для хранения воды.
Суточная неравномерность расхода воды потребителями и необходимость иметь запас воды для повышения надежности водоснабжения предопределяет необходимость устройства специальных емкостей (резервуаров) для хранения воды. По функциональному назначению резервуары разделяют на регулирующие, запасные и запасно-регулирующие. В зависимости от назначения они могут располагаться в различных точках системы водоснабжения и выполнять следующие функции:
- приема и хранение воды, подаваемой насосной станцией первого подъема на очистные сооружения водопровода, размещаются на площадках очистных сооружений;
- приема и хранения запаса питьевой воды после ее очистки и обеззараживания, размещаются на площадках очистных сооружений;
- поддержания требуемого напора в водопроводной сети и хранение регулирующего объема воды, размещаются на возвышенных участках рельефа;
- хранение аварийных и противопожарных запасов.
Объемы резервуаров зависят от производительности системы водоснабжения и находятся в пределах 50-20000 м3, сооружают их преимущественно из железобетона.
К напорно-регулирующим резервуарам относятся подземные железобетонные резервуары, расположенные на высоте, обеспечивающей подачу воды под необходимым напором потребителям и водонапорные башни.
Водонапорные башни имеют высоту 10-30 м, объем бака – от десятков до тысяч кубических метров, соотношение диаметра и высоты бака – (1-0,5). Минимальная высота башни 10 м определяется значением минимально допустимого напора в водопроводных сетях для противопожарных нужд. Пример устройства водонапорной башни приведен на рис. 2.13.1.

Рис. 2.13.1. Схема водонапорной башни. 1 – фундамент; 2 – обратный клапан; 3 – задвижки; 4 – трубопровод подачи воды в бак; 5 – ствол башни; 6 – шатер; 7 – бак; 8 – кровля; 9 – перелив; 10 – трубопровод для опорожнения бака и удаления осадка; 11 – трубопровод подачи воды в водопроводную сеть.
Водонапорная башня является своеобразным стабилизатором напора в водопроводной сети. В периоды суток с минимальным водоразбором, например, в ночные часы, излишки воды, подаваемой насосами в водопроводную сеть, заполняют бак водонапорной башни, а в периоды максимального водоразбора, когда производительность насосов недостаточна для обеспечения потребителей, используется вода из водонапорной башни. При этом напор в водопроводной сети определяется уровнем воды в баке водонапорной башни, поэтому размещать их желательно на возвышенностях.
Функцию напорно-регулирующих резервуаров могут выполнять также пневматические водонапорные установки. Они применяются в основном в системах водоснабжения малой производительности с низкими требуемыми напорами, в остальных случаях они уступают водонапорным башням по капитальным затратам и эксплуатационным расходам. К достоинствам пневматических водонапорных установок можно отнести компактность, возможность размещения на слабых грунтах и малую высоту.
2.14. Принципы водоснабжения промышленных предприятий
На промышленных предприятиях вода используется для технологических нужд (производственное водопотребление), хозяйственно-питьевого потребления и пожаротушения.
Системы производственного водоснабжения разделяют по способам использования воды на прямоточные и оборотные.
Схема прямоточного водоснабжения предприятия приведена на рис. 2.14.1.

Рис. 2.14.1. Схема прямоточного водоснабжения предприятия. 1 – цехи предприятия; 2 – сеть производственного водоснабжения; 3 – очистные сооружения; 4 – насосная станция; 5 – водозаборное сооружение; 6 – жилой район; 7 – сеть хозяйственно-питьевого водопровода.
Вода для производственных целей забирается из реки и насосами производственной системы водоснабжения, установленными в насосной станции 4, подается по сети производственного водоснабжения 2 в цехи 1 предприятия.
Вместе с этой лекцией читают "25 Английская революция 1649г".
Хозяйственно-питьевое водоснабжение осуществляется по следующей схеме. Вода забирается из реки, насосами первого подъема, подается на очистные сооружения 3, после чего насосами системы хозяйственно-питьевого водоснабжения подается в цехи предприятия и жилой район по сети 7.
Схема производственного оборотного водоснабжения, предназначенного для водяного охлаждения технологических аппаратов, приведена на рис. 2.14.2.
Рис. 2.14.2. Схема оборотного водоснабжения предприятия. 1 – производственный цех; 2 – насосная станция нагретой воды; 3 – напорный трубопровод подачи воды на охлаждение; 4 - сооружения для охлаждения воды; 5 – трубопровод подпитки; 6 – самотечный трубопровод охлажденной воды; 7 – насосная станция нагретой воды; 8 – насосная станция охлажденной воды; 9 – напорный трубопровод охлажденной воды; 10 – самотечный трубопровод нагретой воды.
Первоначально система заполняется водой через водопровод подпитки 5. Насосами охлажденной воды 8 она подается на охлаждение технологических аппаратов, находящихся в цехе 1. Нагретая вода по трубопроводам 10 поступает самотеком к насосной станции 7 и подается насосами по напорному трубопроводу 3 на сооружении охлаждения воды 4. Охлажденная вода по самотечному трубопроводу 6 поступает к насосной станции охлажденной воды 8 и подается на охлаждение агрегатов. Периодически осуществляется компенсация потерь воды через трубопровод подпитки 5.
Оборотное водоснабжение является важнейшим средством рационального использования водных ресурсов, его применение снизить негативное влияние предприятия на окружающую среду.



) 















