Земляные работы
Раздел 5. Земляные работы – 6 часов
Тема 1. Земляные сооружения, способы разработки, механизация работ – 2 часа
План лекции:
1. Значение и удельный вес земляных работ при строительстве объекта.
2. Технологические свойства грунтов, подсчет объемов.
3. Способы разработки грунтов.
4. Комплекты механизмов при устройстве земляных сооружений.
Совокупность рабочих процессов, связанных с разработкой, перемещением, укладкой грунта и отделкой земляных сооружений называют земляными работами.
В промышленном и гражданском строительстве земляные работы выполняют при устройстве траншей и котлованов, при возведении земляного полотна дорог, а также планировке площадок. Все эти земляные сооружения создают путем образования выемок в грунте или возведения из него насыпей.
Рекомендуемые материалы
Земляные работы имеют весомый удельный вес в общей стоимости (более 10%) и трудоемкости (более 20 %) СМР.
Земляные сооружения разделяют:
- по отношению к поверхности грунта – выемки, насыпи, подземные выработки, обратные засыпки;
- по сроку службы – постоянные и временные;
- по функциональному назначению – котлованы, траншеи, ямы, скважины, отвалы, плотины, дамбы, дорожные полотна, туннели, планировочные площадки, выработки.
- по геометрическим параметрам и пространственной форме – глубокие, мелкие, протяженные, сосредоточенные, простые, сложные и т.п.
Постоянные сооружения являются составными элементами строящихся объектов и предназначены для нормальной и длительной их эксплуатации. К ним относят плотины, дамбы, каналы, выемки и насыпи автомобильных и железных дорог.
Временные сооружения устраивают лишь на период строительства и предназначены для выполнения СМР по возведению фундаментов подземных частей здания, технологического оборудования, прокладки инженерных коммуникации и др.
Выемки, у которых ширина соизмерима с длиной, но не меньше 1/10 длины, называются котлованами, при ширине менее 1/10 – траншеями. Котлованы разрабатывают, как правило, при возведении заглубленной части объемных сооружений, например, фундаментов, подвальных этажей. Траншеи копают при прокладке линейно-протяженных коммуникаций, наружных сетей водоснабжения, канализации, газоснабжения, теплоснабжения.
Наклонные боковые поверхности выемок и насыпей называют откосами, а горизонтальные поверхности вокруг них – бермами. Остальными элементами земляных сооружений являются: дно выемки – нижняя горизонтальная земляная выемка; бровка – верхняя кромка откоса; подошва – нижняя кромка откоса; резервы – это выемки, из которых берут грунт для устройства насыпи; кавальеры – это насыпи, образующиеся при отсыпке ненужного грунта.
Важными требованиями к постоянным и временным сооружениям являются обеспечение устойчивости их боковых поверхностей – откосов. Это достигается назначением оптимальной крутизны откосов выемок и насыпей, которая выражается отношением их высоты h к заложению a – проекции откоса на горизонтальную плоскость h/a = 1/m, где m – коэффициент откоса; он зависит от вида грунта, его состояния, высоты насыпи или глубины выемки. Откосами глубоких выемок и высоких насыпей следует придавать переменную крутизну с более пологим очертанием внизу. Значение коэффициента откоса принимают по нормам с учетом конкретных условий строительства. Правильное назначение крутизны откоса имеет большое значение, так как от этого зависит устойчивость земляных сооружений, то есть их способность сохранять проектную форму и размер.
а) б) в)


а, б – траншеи с вертикальными стенками и с откосами; в – котлован под сооружение; 1 – дно (траншеи, котлована), 2 – боковая стенка траншеи; 3 – боковой откос (траншеи, котлована); 4 – бровка; 5 – берма; 6 – подошва.
Рисунок 1 – Виды земляных сооружений
Поскольку земляные сооружения устраиваются в грунтах или из грунтов, необходимо знать их основные свойства.
Грунты – это любой вид горной породы или почвы, а также твердые отходы производственной и хозяйственной деятельности человека. Вид и свойства грунтов характеризуют размеры и форма зерен (частиц), их прочности, расположение и взаимосвязь. По совокупности признаков грунты делятся на группы, типы, виды и разновидности (см. СНиП, ГОСТ).
По характеру структурных связей грунты подразделяют на два класса: скальные и нескальные. Скальные грунты характеризуются высокой прочностью связей между зернами, залегают в виде сплошного или трещиноватого массива. Такие грунты разрабатывают только после предварительного рыхления.
Нескальные грунты делятся на связные и несвязные.
Несвязные называют грунты, обладающие только силами сухого трения. Это крупнообломочные (гравелисто-галечные) и песчаные грунты. Грунты, характеризующиеся наличием сил сцепления между частицами, носят название связных. К таким грунтам относят глины и суглинки. Промежуточное положение занимают так называемые малосвязные грунты. Наряду с силами трения они обладают слабо выраженными силами сцепления. К этой группе грунтов, относят супеси.
При этом содержание глинистых частиц: в песках – менее 3 %, супесях – от 3 до 10 %, суглинках от 10 до 30 %, песчаных глинах – от 30 до 60 %, тяжелых глинах – от 60 %.
По степени влагосодержания различают грунты сухие (с содержанием воды до 5 %), влажные (от 5 до 30 %), мокрые (более 30 %).
Существенное влияние на технологию производства земляных работ оказывают физические свойства грунтов: плотность, пористость, угол естественного откоса, сцепление, влажность, разрыхляемость, уплотняемость и т.д.
Разрыхляемость – это способность грунта увеличиваться в объеме при разработке вследствие потери связи между частицами. Увеличение объема грунта характеризуется коэффициентами первоначального разрыхления Кр и остаточного разрыхления Кр.о.
Коэффициент первоначального разрыхления Кр представляет собой отношение объема разрыхленного грунта к его объему в естественном состоянии и составляет: для песчаных грунтов 1,08 – 1,17; суглинистых 1,14 – 1,28; глинистых 1,24 – 1,3. Для полускальных и скальных грунтов коэффициент Кр зависит от среднего размера куска грунта с dр и составляет обычно: при взрывании «на встряхивание» - 1,15 – 1,12 и при взрывании «на развал» – 1,3 – 1,5.
Классификация грунтов по трудности их разработки (ЕНиР 2-1-1) с учетом конструктивных особенностей землеройных и землеройно-транспортных машин:
- для одноковшовых экскаваторов грунты подразделяются на 6 групп;
- для многоковшовых экскаваторов и скреперов на 2 группы;
- для бульдозеров и грейдеров на 3 группы.
Для разработки грунтов вручную принято 7 групп:
- песок, супесь, суглинок, глина, лесс – группы 1 …4;
- крупнообломочные – группа 5;
- скальные грунты – группы 6 и 7.
Группы 1-4 групп легко разрабатываются ручным и механизированным способами, последующие группы – грунты требуют предварительного рыхления, в том числе и взрывным способом.
Крутизна откосов. Рытье котлованов с вертикальными стенками без их крепления допускается только в грунтах естественной влажности на глубину, не превышающую следующих значений: в насыпных, песчаных и гравелистых грунтах – 1 м; в супесях – 1,25 м; в суглинках и глинах – 1,5 м; в особо плотных нескальных грунтах – 2,0 м.
Определение объемов грунтовых масс при разработке котлованов и траншей.
Объем котлована. Для подсчета объема котлована, представляющего собой призматозоид (рисунок 2а), вначале определяют его размеры следующим образом:
а = А + 0,5*2; b = В + 0,5*2;
а1 = а + 2Нm; b1 = b + 2Нm,
где а и b – размеры сторон котлована понизу, м;
а1 и b1 – размеры сторон котлована поверху, м;
А и В – размеры фундамента понизу, м;
0,5 – рабочий зазор от края фундамента до начала откоса, м;
Н – глубина котлована, вычисленная как разность между средней арифметической отметкой верха котлована по углам (черной – если котлован на планировочной насыпи и красной – на планировочной выемке) и отметкой дна котлована, м;
m – коэффициент откоса, нормируемый СНиПом.
Объем котлована определяется по следующей формуле

![]() | ![]() |
![]() |
а) объем котлована б) обратной засыпки; в) траншеи; 1 – объем выемки, 2 – объем обратной засыпки
Рисунок 2 – Схемы для определения объемов котлована
Объем обратной засыпки пазух котлована определяют как разность объемов котлована и подземной части сооружения.
При подсчетах объемов земляных работ следует также учитывать объем въездных и выездных траншей

где Н – глубина котлована в местах устройства траншей, м;
b – ширина их понизу, принимаемая при одностороннем движении 4,5 м и при двухстороннем – 6 м;
m – коэффициент заложения откоса котлована;
m¢ – коэффициент откоса (уклон) въездных или выездных траншей
(от 1:10 до 1:15);
Общий объем котлована с учетом въездных и выездных траншей

где Vк – объем собственного котлована, м3;
n – количество въездных и выездных траншей;
Vв.тр. – их объем, м3.
Объем траншей с вертикальными стенками
или
,
где F1 и F2 – площади траншеи в ее двух крайних поперечных сечениях;
Втр – ширина траншеи;
Н1 и Н2 – глубина ее в двух крайних поперечных сечениях.
Объем траншеи с откосами (рисунок 2в) можно определить по вышеприведенной формуле, при этом площади поперечного сечения

Точное значение объема траншеи определяют по формуле Мурзо

Где Н1 и Н2 – глубина в начале и в конце участка.
Для определения объемов траншей, продольный профиль траншеи делят на участок с одинаковыми уклонами, подсчитывают объемы грунта для каждого их них и суммируют.
Способы разработки грунтов, механизация работ.
Разработку грунтов при устройстве выемок различного назначения выполняют в основном механическим, гидромеханическим, взрывным и комбинированными способами.
Механический способ разработки заключается в послойном разрушении грунта рабочими органом землеройной машины.
Последние подразделяются на машины циклического и непрерывного действия и землеройно-транспортные.
К землеройным машинам циклического действия относятся одноковшовые экскаваторы, оборудованные прямой или обратной лопатой, драглайном, погрузчиком и планировщиком, которые производят разработку грунта навымет (выгрузку в отвал) или погрузку его в транспорт, зачистку и планировку дна и откосов траншей и котлованов.
Цепные и роторные экскаваторы относят к землеройным машинам непрерывного действия, применяются для разработки грунта линейных выемок (траншей, канав) большой протяженности.
Землеройно-транспортными машинами являются бульдозеры, скреперы (самоходные и прицепные), грейдеры и грейдеры-элеваторы, выполняющие разработку грунта при устройстве выемок и насыпей большой протяженности, а также планировочные работы.
Механический способ является основным. Этим способом разрабатывают более 80% грунтов.
Гидромеханический способ предусматривает разработку грунтов гидромониторным, землесосным и комбинированными способами. При гидромониторных разработках грунт в надводном забое разрушается под напором струи воды, выбрасываемой гидромонитором, затем образовавшаяся пульпа самотеком или грунтовым насосом подается к месту укладки. Комбинированный способ предусматривает разработку грунта в сухом забое любой землеройной машиной или в подводном забое черпаковой машиной, вода используется для транспортирования и укладки грунта. Комбинированный способ дает возможность подготовки оптимальных грунтовых смесей для намыва земляных сооружений требуемого качества.
Взрывной способ основывается на использовании энергии взрыва и применяется для разрушения и направленного выброса грунта. Применяется для разрыхления мерзлых и скальных грунтов, а также для образования выемок и насыпей больших размеров.
Комбинированный способ представляет собой любое сочетание вышеперечисленных способов в зависимости от конкретных условий строительства и технико-экономического обоснования выбранного варианта.
Рекомендуемая литература [1-5].
Контрольные задания по СРС [1-5] – 3 часа.
Ознакомиться с классификацией и назначением земляных сооружений, способами разработки грунтов.
Тема 2. Разработка выемок одно и многоковшовыми экскаваторами – 2 часа
План лекции:
1. Машины для выполнения земляных работ.
2. Разработка выемок одноковшовым экскаватором, оборудованным прямой лопатой. Виды и параметры проходок.
3. Разработка выемок одноковшовым экскаватором, оборудованным обратной лопатой. Виды и параметры проходок.
4. Разработка выемок одноковшовым экскаватором-драглайном. Виды и параметры проходок.
5. Разработка грунта многоковшовыми экскаваторами.
В зависимости от технологии и организации работ машины для выполнения земляных работ делятся на основные и вспомогательные.
К основным машинам относятся:
землеройные, отделяющие грунт от массива и перемещающие его на расстояние, ограниченное конструктивными параметрами рабочего оборудования; к этой группе относят экскаваторы;
землеройно-транспортные, совмещающие разработку (резание) грунта за счет тягового усилия и его перемещение при передвижении; дальность перемещения грунта в большинстве случаев не зависит от конструктивных параметров рабочих органов, а определяется технико-экономическими соображениями; к этой группе относят бульдозеры, скреперы, грейдеры, грейдеры-элеваторы;
погрузочные машины – погрузчики, способные копать грунт как на месте, так и при передвижении;
машины для гидравлической разработки грунта, отрывающие его от массива и транспортирующие во взвешенном состоянии в виде пульпы; к этой группе относят гидромониторы, землесосы, земснаряды;
грунтоуплотняющие машины – различные катки, трамбующие вибрационные машины.
Вспомогательными являются машины, обеспечивающие работу основных машин:
машины для подготовки площадки к работе основного оборудования – корчеватели, кусторезы, камнеуборочные и др.;
машины для подготовки грунта к разработке – рыхлители, буровые машины, оборудование для водопонижения и водоотлива.
Ряд машин носит универсальный характер, так как они могут выполнять разнообразные работы. Так, бульдозерами можно производить основные и вспомогательные работы (планировать площадки, возводить насыпи, выемки и т.п.).
Выбор машин для земляных работ зависит от трудности разработки грунта, рельефа местности и гидрогеологических условий, вида и параметров сооружения, транспортных средств для перемещения грунта, расположения сооружений, выемок, насыпей, расстояний между ними и других факторов.
Эффективность применения средств механизации по дальности транспортирования грунта составляет: для скреперов 500-1500 м; для экскаваторов с перевозкой грунта автотранспортом – 2000-3000 м; для экскаваторов, работающих в отвал – 15-150 м.
Одноковшовыми экскаваторами разрабатывают около 45% всех грунтов. Машины имеют различное по виду и объёму ковша рабочее оборудование, механический и гидравлический привод. На механических экскаваторах ковш жестко соединен с рукоятью и его движение осуществляется за счет напорного усилия рукоятью и за счет тягового усилия канатами.
Рабочее место экскаватора – это зона его работы в пределах геометрических параметров рабочего оборудования, а также размер площадки стоянки транспорта под погрузку грунта и укладки его в отвал. При разработке широких котлованов с погрузкой грунта в транспортные средства (например, при строительстве отстойников, фильтров, резервуаров, аэротенков и т.п.) чаще применяют экскаваторы, оборудованные прямой лопатой. Обратную лопату используют для разработки траншей, небольших котлованов с погрузкой грунта в транспортные средства или в отвал. Драглайн применяют для разработки котлованов, траншей и каналов, устройства насыпей из грунта резерва, а грейфер для разработки глубоких котлованов с вертикальными стенками или подачи грунта при засыпке в пазух. Одноковшовые экскаваторы могут быть также оборудованы стрелой с крюком и, использоваться в качестве подъемного крана, рыхления мерзлого грунта, захватом-корчевателем для корчевки пней, дизель-молотом (сваебойной установкой) для забивки свай.
Пространство, в котором размещается экскаватор и производится выемка грунта, называют забоем. Его форма и размеры зависят от рабочих параметров экскаватора и принятой схемы разработки грунта.
В зависимости от ходового устройства различают гусеничные (вместимость ковша 0,4-16 м3), пневмоколесные (0,4-0,65 м3), на шасси автомобилей и тракторов (0,15-0,4 м3) и шагающий ход применяют экскаваторах с ковшами большой вместимости (до 100 м3).
В тех случаях, когда характер работ не требует значительных перемещений машины между рабочими площадками или в пределах площадки, наилучшим выбором является гусеничные экскаваторы. Гусеничные экскаваторы обладают хорошим сцеплением с грунтом, проходимостью почти на всех типах грунтов. Неизменно высокое тяговое усилие обеспечивает отличную маневренность. Гусеничная ходовая часть также обеспечивает хорошую общую устойчивость машины. Если в процессе работы необходимо частое перемещение машины на новое место работы, гусеничный экскаватор является более оперативным, так как подъем и опускание выносных опор требуют дополнительных затрат времени.
В колесном экскаваторе сочетаются традиционные характеристики экскаваторов, такие как поворот на 360 градусов, большие вылет и глубина копания, большая грузоподъемность, мобильность экскаватора обеспечивает быстрое и независимое перемещение между рабочими площадками и в пределах рабочей площадки, позволяет более гибко планировать выполнение работ.
Колесный экскаватор средство для погрузки в грузовые автомобили в стесненных городских условиях, для вскрытия бетонных или асфальтовых покрытий, ямочного ремонта, работ на обочинах, ремонта бордюров и водостоков, благоустройства, распределения верхнего слоя грунта, установки смотровых колодцев и зачистки траншей.
Колесный экскаватор также является машиной для перегрузки материалов. Он может загружать или разгружать грузовые автомобили и перемещать грузы по рабочей площадке. На шасси могут быть установлены бульдозерный отвал и выносные опоры, что увеличивает устойчивость машины при грузоподъемных работах.
При выборе колесного экскаватора ключевым параметром является его масса. Вначале выбирают стрелу и рукоять, соответствующие требованиям к вылету, глубине копания и грузоподъемности. Устойчивость можно значительно повысить добавлением выносных опор и бульдозерного отвала. Минимальная устойчивость возникает при поперечном расположении рабочего оборудования, бульдозерный отвал и выносные опоры (если они есть) подняты, ковш содержит полный груз.
Прямая лопата представляет собой открытый сверху ковш с режущим передним краем, жестко насажанный на рукоять, которая шарнирно соединена со стрелой машины и выдвигается вперед с помощью напорного механизма. Опорожняется ковш путем открывания его днища. Разрабатывают грунт, когда экскаватор стоит на дне разрабатываемого забоя. На небольшую глубину он может отрывать грунт и ниже горизонта стояния.
Обратная лопата – это открытый снизу ковш с режущим передним краем, жестко насаженный на рукоять, шарнирно соединенную (без напорного механизма) со стрелой. По мере протягивания назад ковш заполняется грунтом. Затем при вертикальном положении рукояти ковш переводят к месту выгрузки и разгружают путем подъема с одновременным опрокидыванием. Рабочая зона расположена ниже горизонта стояния машины.
Ковш драглайна навешивают на канатах на удлиненную стрелу кранового типа. Ковш забрасывают в выемку на расстояние, несколько превышающего длину стрелы, его заполняют грунтом путем подтягивания по поверхности к стреле. Затем ковш поднимают в горизонтальное положение к стреле и поворотом машины переводят на место разгрузки. Опорожняется ковш при ослаблении тягового каната. Драглайном можно разрабатывать грунт не только сильно насыщенной влагой, но и находящийся под водой.
Грейфер представляет собой ковш с двумя или более лопастями и канатным приводом, принудительно смыкающими эти лопасти. Грейфер навешивают на такую же стрелу, что и драглайн. С помощью грейфера можно разрабатывать выемки с вертикальными стенками. При повороте стрелы ковш перемещается к месту разгрузки и опорожняется при принудительном раскрытии лопастей. Грейфер погружается в грунт только за счет собственной массы ковша. Грейфер применяют обычно для разработки грунтов малой плотности (I и II группы) и находящихся под водой.
Выемка, образующаяся в результате последовательной разработки грунта при периодическом передвижении экскаватора в зоне, называется проходкой. По характеру разработки грунта проходки могут быть лобовыми (торцевыми) и боковыми. При лобовой проходке экскаватор двигается по оси выемки и разрабатывает грунт впереди себя и по обе стороны от оси, а при боковой – с одной стороны по ходу движения. Характер проходки зависит от глубины и ширины котлована и условий его разработки.
Эксплуатационная производительность экскаватора зависит от длительности цикла, а также продолжительности использования экскаватора в течение смены и определяется по формуле:
П э = Т*60*q*n*Ке*Кв,
где Т – продолжительность смены, ч;
q – геометрический объем ковша, м³;
n – количество циклов в минуту 60/tц;
tц – время одного цикла;
Ке – коэффициент наполнения ковша;
Кв – коэффициент использования экскаватора по времени.
Коэффициенты Ке и Кв зависят от вида рабочего оборудования, группы грунта, емкости ковша и вида работ, а число циклов n определяется условиями работы экскаватора.
Пути увеличения производительности экскаваторов: это сокращение времени на элементы цикла и, следовательно, увеличение числа циклов. Элементами цикла работы экскаватора являются: набор грунта в ковш, поворот экскаватора на разгрузку, разгрузка грунта из ковша, поворот экскаватора к забою.
Длительность цикла можно уменьшить, выбрав рациональный вид забоя и определив его оптимальные параметры.
Продолжительность загрузки ковша уменьшается в результате сокращения пути резания (увеличения толщины стружки).
Производительность экскаваторов можно значительно увеличить путем применения в легких и средних грунтах сменных ковшей большей емкости; максимально возможного совмещения операций по времени; лучшего наполнения ковша; выбора транспортных средств, по емкости в 4-5 раз превышающих емкость ковша экскаватора.
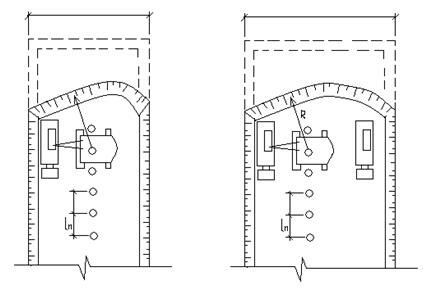
Наиболее характерными техническими характеристиками одноковшовых экскаваторов являются: Rст – радиус стоянки экскаватора (расстояние от оси вращения платформы до ближайшей линии начала резания грунта); Rраб – рабочий радиус резания грунта; принимается ровным 0,9 максимального радиуса резания (Rmax); Rв – радиус выгрузки грунта; hк – высота копания, обусловленная наполнением ковша при однократном его перемещении по образующей забоя, принимается равной 0,7-0,8 максимальной высоты копания (hк), но не менее трехкратной высоты ковша; lп –длина одной подвижки экскаватора вдоль проходки.
Одноковшовые экскаваторы, оборудованные прямой лопатой, разрабатывают грунт в котловане способами лобового (торцевого) и бокового забоев. Наибольшая глубина забоя должна быть не больше максимальной высоты резания экскаватора, а наименьшая – не менее трехкратной высоты ковша используемого экскаватора. Основными видами проходок для экскаваторов, оборудованных прямой лопатой являются лобовая (продольная) и боковая (поперечная). Лобовые проходки в зависимости от ширины подразделяют на узкие (ширина проходки 0.8...1.5, величины наибольшего радиуса резания R), нормальные (ширина 1.5…1.8R) и широкие (более 2R) – рисунок 1.
Узкие котлованы шириной до 1.5R разрабатывают лобовой проходкой с односторонней погрузкой в транспортные средства. При ширине 1.5-1.9R – с двухсторонней подачей в транспортные средства. Выемки шириной 2.0-2.5 R целесообразно разрабатывать уширенной лобовой проходкой с перемещением экскаватора по зигзагу (рисунок 1в) с двухсторонней или односторонней погрузкой, и при ширине до 3.5R – поперечно-лобовой проходкой с двухсторонней погрузкой грунта в транспортные средства (рисунок 1г).
Разработка выемок способом лобового забоя затрудняет работу транспортных средств. Поэтому способ лобового забоя используется лишь при разработке не широких выемок, планерных траншей (первых проходок). Если размеры котлована значительны (ширина больше 3.5R), рекомендуется применять боковые проходки (рисунок 2). Организация разработки грунта боковыми проходками с погрузкой его в транспортные средства позволяет наиболее полно использовать рабочие параметры экскаваторов и повысить их выработку за счет уменьшения угла поворота стрелы при погрузке.
а б

в г

a – лобовая проходка с односторонней погрузкой грунта в автосамосвалы; б – то же, с двусторонней погрузкой; в – то же, с перемещением экскаватора по зигзагу; г – то же, с перемещением экскаватора поперек котлована
Рисунок 1 – Разработка грунта экскаватором прямая лопата

Рисунок 2 – Разработка котлована боковой проходкой
экскаватором «прямая лопата»
Для ввода экскаватора в забой, выезда и въезда автомобильного транспорта устраивают въездные траншеи с уклоном 0,1-0,15. Ширину траншеи понизу принимают 3-3,5 м при одностороннем движении и 7-7,5 при двухстороннем.
Экскаваторы, оборудованные обратной лопатой, предназначены для разработки грунтов, расположенных ниже уровня стоянки экскаватора.
Этот вид экскаваторов преимущественно применяют для разработки грунта в траншеях и при разработке неглубоких котлованов. Разработку грунта осуществляют лобовыми и боковыми проходками. Лобовой вид забоя применяют в основном при разработке траншей осевой проходкой, а боковой при разработке котлованов. Экскаваторы с обратной лопатой могут передвигаться вдоль и поперек котлована, а также зигзагом (рисунок 3)
![]() |
а – вдоль; б – зигзаг; в – поперек котлована
Рисунок 3 – Схема проходки экскаватора «обратная лопата»
при разработке котлована
Экскаваторами-драглайнами, имеющими удлиненную стрелу и ковш, свободно подвешенный на тросе, разрабатывают грунт с отсыпкой его в отвал или на транспортные средства при устройстве глубоких котлованов, каналов, траншей.
Разработку грунта производят ниже уровня стоянки экскаватора с работой его «на себя», ковш заполняют в процессе проталкивания его по грунту. Драглайном разрабатывают выемки лобовыми и боковыми забоями с применением тех же видов, что и для экскаватора, оборудованного обратной лопатой.
Для повышения производительности экскаватора, оборудованного драглайном, при работе с автотранспортом в широких котлованах применяют челночные способы их разработки.
При поперечно-челночном способе набор грунта производят поочередно с каждой стороны автотранспорта, ковш разгружают без остановки поворота стрелы при положении ковша над кузовом автомашины. Автосамосвалы подают по оси дна выемки экскаваторной проходки.
При продольно-челночном способе набор грунта и его разгрузку производят со стороны автотранспорта. Ковш экскаватора при этом совершает только возвратно-поступательные движения, а платформа не поворачивается, что позволяет значительно сократить рабочий цикл экскаватора.

а – поперечно-челночный; б, в – продольно-челночный; 1 – автосамосвал; 2 – разгрузка ковша; 3 – окончание набора и подъем ковша; 4 – опускание ковша и набор грунта
Рисунок 4 – Способы разработки забоя экскаватором-драглайном
Разработка выемок одноковшовыми экскаваторами с грейдерным ковшом вместимостью 0,3…4 м3, свободно подвешенным на тросе, разрабатывают выемки в радиусе 8…24 м на глубине 7…15 м при подъеме грейдера на высоту 6…14 м. Обычно разрабатываются легкие грунты I и II групп, а более тяжелые – при их предварительном рыхлении. Такие экскаваторы чаще всего применяют для разработки глубоких выемок с вертикальными стенками, например при устройстве опускных колодцев водозабора, заглубленных насосных станций и т.п.
Выбор одноковшового экскаватора для устройства выемок.
Выбор экскаватора производят в зависимости от вида земляных работ на объекте. Первоначально тип экскаватора, требуемый для конкретного случая, устанавливают после изучения вида, размера и объема выемки, основных характеристик грунтов и трудоемкости их разработки; наличия и характера грунтовых вод и рекомендуемого способа понижения их уровня; технологических особенностей и условий выполнения земляных работ, а также с учетом области применения (вид и условия работы) сменного оборудования одноковшовых экскаваторов. Если окажется, что для выполнения одной и той же работы равнозначно подходят два, три и более типов сменного оборудования, то предпочтительно делать выбор в следующем порядке: прямая лопата, драглайн, обратная лопата, погрузчик и др.
Далее, исходя из требований максимальной выработки механизмов, определяют необходимый объем ковша экскаватора. Выработка механизма в основном определяется продолжительностью рабочего цикла и количеством грунта, разрабатываемого за один цикл. Следовательно, при выборе экскаватора объем ковша должен быть максимальным, а время его наполнения – минимальным. Выполнение этих требований в конкретных условиях обеспечивается, когда ковш определенного объема в процессе выработки грунта в откосе будет за одно движение наполняться с верхом в момент выхода его из забоя на поверхность. Такое наполнение ковша будет в основном зависеть от его объема, трудности разработки грунта и глубины копания (при послойном резании грунта вдоль откоса). Эта взаимосвязь установлена опытным путем и приведена в таблице 1 и 2.
Таблица 1 – Наименьшая высота забоя, обеспечивающая наполнение ковша с верхом
| Тип экскаватора | Группа грунта | При вместимости ковша, м³ | |||||||
| 0,4 | 0,5 | 0,8 | 1 | 1,6 | 2 | 3 | 4 | ||
| Прямая лопата | I, II | 1,5 | 1,5 | 2,5 | 3 | 3 | 3,5 | 3,5 | 4 |
| III | 2,5 | 2,5 | 3,5 | 4,5 | 4,5 | 4,5 | 5 | 5,5 | |
| IV | 3,0 | 3,5 | 5,5 | 6 | 6 | 6,5 | 6,5 | 7 | |
| - | I, II | 1,2 | 1,5 | 1,8 | 2,2 | 2,5 | 3 | - | |
| III | 1,8 | 2 | 2 | 3 | 3,5 | 4 | - | - |
Таблица 2 – Длина пути волочения ковша на откосе забоя, lн.м., обеспечивающая наполнение его с верхом
| Вместимость ковша драглайна, м³ | Для групп разрабатываемого грунта. | ||
| I-II | III | IV-V | |
| 0,4 | 3 | 4 | 4.5 |
| 0,8 | 4 | 5 | 5.5 |
| 1,0 | 4 | 5,5 | 6 |
| 1,5 | 5 | 6 | 6.5 |
| 2,5 | 5.5 | 7 | 8 |
Зная глубину разработки выемки (Н), группу грунтов и тип экскаватора, определяют наибольшую вместимость ковша. Учитывая особенности разработки грунта и наполнение ковша экскаватора с гидравлическим приводом, наименьшую высоту забоя можно принять выше на 30…40%. В этом случае требуемую вместимость ковша определяют по таблице 1 исходя из условий величины глубины разработки.
Для определения наибольшей емкости ковша экскаватора-драглайна можно воспользоваться данными таблицы 2.
Сначала длину откоса lн находят в зависимости от глубины выемки (Н) и угла естественного откоса для конкретной группы грунта. Затем для полученного значения lн по таблице 2 выбирают ковш наибольшей вместимости. После этого в зависимости от типа экскаватора и вместимости ковша по справочникам выбирают марку экскаватора с учетом требований к радиусу и высоте выгрузки грунта и условий проходимости экскаватора.
Рабочим органом многоковшового экскаватора являются ковши, насаженные через равные интервалы на беспрерывно движущуюся цепь или колесо (ротор). По характеру перемещения машины относительно направления движения рабочего органа различают многоковшовые экскаваторы, продольного черпания – цепные и роторные и поперечного черпания.
Экскаваторы продольного черпания используются для разработки траншей небольшого сечения, прямоугольного и трапециевидного профиля.
Экскаваторы поперечного черпания используются для разработки котлованов и траншей большого сечения, планировки откосов и разработки карьеров.
Рекомендуемая литература [1-5].
Контрольные задания по СРС [1-5] – 3 часа.
Рассчитать эксплуатационную производительность землеройно-транспортных машин. Произвести выбор схемы уплотнения грунта и трамбующих механизмов в зависимости от инженерно-геологических условий строительной площадки.
Тема 3. Разработка грунтов землеройно-транспортными машинами. Способы повышения несущей способности грунтов – 2 часа
План лекции:
1. Производство земляных работ с использованием скреперов.
2. Производство земляных работ с использованием бульдозера.
3. Работы по обратной засыпке, подсыпке, уплотнению грунтов.
4. Способы повышения несущей способности грунтов.
Скреперы и бульдозеры относятся к землеройно-транспортным машинам, предназначенным для послойного резания грунта, его перемещения, а также отсыпки с разравниванием и частичным уплотнением. Их используют при планировке площадок, разработке неглубоких выемок, обратной засыпке траншей с трубопроводами (после их гидравлического испытания) и на подобных других работах.
Разработка грунта скреперами.
Рабочим органом скрепера является ковш с ножевым устройством, который при движении осуществляет послойное резание (копание) грунта с одновременным набором его в ковш. Переход в транспортное положение осуществляется выглублением ковша с одновременным его закрытием. Разгружается грунт в процессе движения послойно при помощи наклона ковша или перемещения задней стенки ковша. Полный рабочий цикл включает: наполнение ковша, перемещение грунта к месту разгрузки и укладки ровным слоем заданной толщины. Толщина стружки срезанной при наборе, зависит от мощности двигателя тягача, типа скрепера и от вида грунта и может достигать 20…35 см для прицепных и 30…36 см для самоходных скреперов. Скреперами можно разрабатывать грунты 1 – 3 групп с каменистыми включениями до 300…600 мм.
Различают следующие способы срезания стружки при работе скрепера: стружкой постоянной толщины, стружкой переменного сечения, гребенчатой, клевками.
В зависимости от типа взаимосвязи рабочего оборудования с тягачами применяемые в настоящее время скреперы подразделяются на прицепные, полуприцепные и самоходные. Прицепные скреперы наиболее эффективно использовать при перевозке грунта: в зависимости от вместимости ковша на расстоянии до 1500 м, а самоходные – на расстояние до 5000 м.
При планировке площадок скреперами применяют следующие схемы разработок грунта: последовательная, через полосу и ребристо-шахматная проходка. Наиболее эффектными являются разработки проходками через полосу и ребристо-шахматной (рисунок 1). Разработка последовательной проходкой не рациональна из-за потерь грунта в виде баковых валиков.
При ребристо-шахматной последовательности проходок толщина стружки грунта остается постоянной, а для облегчения работы двигателя в конце набора ширина срезаемой стружки уменьшается вдвое, что снижает coпротивление резания и позволяет вести набор ковша бeз его выглубления.
Основная часть продолжительности рабочего цикла скрепера составляет его движение к месту разгрузки и обратно. Поэтому при проектировании разработки грунта этим механизмом особое внимание уделяется выбору наиболее рациональной схемы его движения, при которой достигаются наименьшие значения средней длины возки и количество поворотов.
При планировке площадок скреперами применяют поперечную и продольную возку и различают следующие схемы движения (рисунок 2):
по эллипсу — применяется, как правило, при планировке площадок и отсыпке насыпей из резервов при ограниченной длине захваток. При этом, чтобы избежать износа ходовых частей скрепера и транспорта, необходимо периодически изменять направление движения;
по восьмерке — применяют при выполнении тех же процессов, что и по эллипсу, но при большей длине фронта работ. Односторонний износ ходового оборудования при этом исключается;
по спиpaли – целесообразна при возведении низких насыпей, когда не требуется большие объемы работ по устройству съездов;
по зигзагу — применяют при возведении насыпи из односторонних резервов большей протяженности с применением колонны скреперов, двигающихся один за другим;


челночная – возможна при концентрированном перемещении трудовых масс и большем удалении их друг от друга.
Производительность скрепера при движении по восьмерке и спиральной схеме выше, чем по эллиптической.
Сменная эксплуатационная производительность скрепера определяется по формуле:

где Т — продолжительность смены, ч;
q — геометрическая емкость ковша, м
;
Кв — коэффициент использования сменного времени, равный 0,8-0,9;
Кн— коэффициент наполнения ковша;
Кр— коэффициент разрыхления грунта в ковше скрепера в зависимости от его состояния;
tц — продолжительность цикла работы скрепера, мин.
,
где lн — длина пути наполнения ковша грунтом, м;
Vn — скорость движении скрепера при наборе грунтa, м/с;
lг,lп — расчетная длина пути, проходимого груженным и порожним скрепером, м;
Vг — скорость движения груженного скрепера, м/с;
lр — длина пути, проходимого скрепером при разгрузке ковша, м

где Кн – коэффициент наполнения ковша скрепера;
q – объем ковша скрепера, м
;
h – толщина укладываемого грунта в рыхлом состоянии;
b – ширина захвата ковша скрепера, м;
Vр — скорость движения скрепера при разгрузке ковша, м/с;
tп — время затрачиваемое на повороты скрепера, мин.
Разработка грунта бульдозерами. Процесс разработки грунта бульдозером состоит из трех основных операций: набор, транспортирование и укладка грунта.
Наибольшая глубина резания бульдозерами колеблется от 20 до 60 см.
Бульдозеры применяют для: разработки неглубоких выемок (до 2 м), перемещения гранта в отвал или непосредственно в насыпи высотой до 1,5 м, грубой планировки площадок, откосов выемок и насыпей, обратной засыпки траншей и пазух котлованов; окучивания разработанного грунта в зоне работы погрузчиков. Бульдозер также широко используют на вспомогательных работах в комплексе с другими и при производстве подготовительных работ (расчистке участка от кустов, деревьев, пней, растительного слоя, камней).
Планировку площадок бульдозерами выполняют преимущественно двумя способами траншейным и послойным (рисунок 3)
Траншейный способ разработки применяют для уменьшения потерь при перемещении грунта на расстоянии до 50 м. Параллельные полосы — траншеи глубиной от 0,4 до 0,6 получают путем нескольких проходов бульдозера по одному и тому же месту. Ширину траншеи принимают равной длине отвала бульдозера, а перемычки, оставляемые между траншеями, шириной 0,4 м в связанных грунтах и 0,6 м — в малосвязанных. Перемычки разрабатывают после прохода каждой траншеи. При дальности перевозки свыше 50 м через 25 м устраивают промежуточные валы, которые затем перемещают двумя или тремя спаренными бульдозерами.

а — траншейным нарезанием: б — послойным; 1,2,3... — последовательность резания
Рисунок 3 – Схема разработки грунта бульдозером
При послойной схеме разработку грунтa производят параллельными полосами, причем каждая предыдущая перекрывается последующей на величину от 0.3 до 0,5 м. Как землеройно-транспортная машина в зависимости от мощности бульдозер эффективен на расстояние до 150 м.
Отсыпку грунта производят двумя способами: послойно с одновременным уплотнением и грудами без послойного его уплотнения
Сменная эксплуатационная производительность бульдозера определяется по формуле

где Т — продолжительность работы бульдозера в смену, ч;
q — объем грунта в плотном состоянии, перемещаемого бульдозером за рейс, м3;
a — коэффициент, учитывающий потери грунта в процессе перемещения;
Kв — коэффициент использования машины во времени (при перемещении разрыхленного скального грунта – 0,75; в других случаях – 0,8);
Тн — продолжительность набора грунта, мин;
Тп – время затрачиваемое на переключение скоростей, мин;
Lг, lп — расчетное расстояние перемещения с грузом и порожняком, м;
Vг, Vп — соответственно скорости бульдозера в груженом и порожнем состоянии, м/мин.
Значения q, Vг, Vn,, Tн, Tп — определяют по инструктивно-нормативной литературе.
Работы по обратной засыпке, подсыпке, уплотнению грунтов.
Укладку и уплотнение грунтов выполняют при планировочных работах, возведении различных насыпей, обратных засыпок траншей и пазух фундаментов.
Необходимо учитывать, что обратные засыпки траншей, приямков и пазух котлованов в большинстве случая служит основанием дорог, отмосток, а внутри зданий – основанием под полы, все они должны выполняться с обязательным уплотнением для обеспечения их несущей способности (прочность, устойчивость) и беспросадочность.
Необходимая степень уплотнения грунта и высокое качество обратных засыпок на практике обеспечиваются послойным уплотнением грунта при условии отсыпки его слоями одинаковой толщины.
Для отсыпки насыпи не следует применять пылеватые пески, легкие супеси, жирные глины, торф, меловые и трепельные грунты и грунты с примесью органических материалов и легкорастворимых солей. Отсыпку следует вести от краев насыпи к середине для лучшего уплотнения грунта, ограниченного отсыпными краевыми участками насыпи (рисунок 4).

а – отсыпка насыпи горизонтальными слоями; б – то же, при переувлажненных и слабых основаниях и на болотах; в – веерный способ; г – эстакадный способ, д – способ отсыпки «с головы»
Рисунок 5 – Способы отсыпки насыпей, направления отсыпки и уплотнения грунта
При возведении насыпей на переувлажненных, слабых основаниях отсыпку ведут в обратном порядке до высоты 3 м, чтобы выжимать воду из основания, а выше 3 м – от краев к середине. Отсыпку насыпи следует начинать с наиболее высоких точек рельефа и организовать движение землевозных машин так, чтобы они уплотняли предыдущий слой грунта. На промежуточных поверхностях по высоте насыпи, а также на ее верхней поверхности не должно быть замкнутых пониженных участков, в которых может скапливаться влага. Вблизи от нулевой линии вместо послойного способа возведения насыпи применяют веерный, а при засыпке глубоких оврагов – послойный способ возведения насыпи с эстакады. Насыпь следует отсыпать с запасом по высоте на естественную осадку, которую принимают при отсутствии уплотнения до 6 % для скальных грунтов и до 9 % для нескальных. Искусственные сооружения следует засыпать горизонтальными слоями по всей длине одновременно с обеих сторон.
Работы по уплотнению грунта ведут при их влажности, близкой к оптимальной, при которой достигается наибольший эффект.
Механические методы уплотнения в зависимости от характера воздействия рабочих органов на грунт и конструктивного решения средств механизации делятся в основном на следующие виды: укатка, вибрирование, трамбование и комбинированный метод.
Пневмокатками в зависимости от их типа и характеристики грунта могут уплотняться связные грунты с толщиной слоя (в рыхлом состоянии) 15 – 75см и несвязные – при толщине слоя 25 – 90см, число проходов катка по одному следу при опытном уплотнении соответственно равно 5 – 12 и 4 – 10 раз.
Кулачковыми катками уплотняют только связные грунты при толщине слоя 20 – 85 см и числе проходов 6 – 14 раз.
Катки с гладкими вальцами используют для уплотнения связных и несвязных грунтов при толщине слоя 10 – 15 см.
При уплотнении грунта укладкой различают две схемы движения катков: челночная и по кругу.
При уплотнении грунта вибрированием применяются вибрационные катки (виброкатки), виброплиты, вибротрамбовки и глубинные виброуплотнители. Этот метод рационален в основном для несвязных и малосвязных грунтов.
Информация в лекции "Отцы и дети" поможет Вам.
Виброкатки с гладкими вальцами применяют для уплотнения связных грунтов толщиной 15-50 см и несвязных – толщиной 15-70 см. Особый интерес представляют одновальцевые малогабаритные самоходные виброкатки с массой до 0,7 т, обеспечивающие ширину уплотняемой полосы 66 см. Ими производят уплотнения в стесненных условиях, в том числе в узких траншеях, вблизи трубопроводов, фундаментов и стен, где применение других машин затруднительно.
Уплотнение грунта методом трамбования осуществляется с помощью трамбовочных машин, навесных плит и механических трамбовок. Этот метод дает хороший эффект при уплотнении связных и несвязных, в том числе крупнообломочных грунтов, а также сухих комоватых глин.
Для уплотнения грунтов в стесненных условиях целесообразно использовать такие навесные средства, как гидравлические и пневматические молоты с уплотняющими плитами. Толщина уплотняемого слоя в зависимости от типа молота будет для связных грунтов 0,25 – 0,7 м и 0,25 – 0,4 м, для несвязных – 0,3 – 0,8 м и 0,3 – 0,5 м.
Рекомендуемая литература [1-5].
Контрольные задания по СРС [1-5] – 3 часа.
Рассчитать потребное количество автотранспортных средств при производстве земляных работ. Разработать и запроектировать технологические схемы движения землеройно-транспортных машин.
























