Технология монолитного бетона и железобетона
Лекция № 11: «Технология монолитного бетона и железобетона. Опалубливание и армирование конструкций»
| Литература: 1. Технология строительных процессов: Учебник для студ. ВУЗов, обуч. по направлению «Строительство»/А.А. Афанасьев, Н.Н. Данилов, В.Д. Копылов и др.; Под ред. Н.Н. Данилова, О.М. Терентьева. – 2-е изд., перераб. – М.: Высш. школа, 2001 - стр. 142-173. 2. Технология строительных процессов: В 2 ч. Часть 2: Учеб. для строит. ВУЗов/В.И. Теличенко, А.А. Лапидус, О.М. Терентьев. – М.: Высш. школа, 2002-2003 - стр. 4-55. 3. Белецкий Б.Ф. Технология и механизация строительного производства: Учебник. – Ростов н/Д: Феникс, 2003 - стр. 405-413. 4. Ясинецкий В.Г., Фенин Н.К. Организация и технология гидромелиоративных работ. –М.: Колос, 1986 - стр. 159-170. | Вопросы: 1. Назначение и устройство опалубки. Рекомендуемые материалыFREE Разработка проекта производства работ (ППР) на возведение здания FREE Основания и фундаменты FREE 16-этажный жилой дом с монолитным каркасом в г. Краснодаре FREE Проект строительства односекционного пятиэтажного пятнадцатиквартирного жилого дома FREE Технология возведения зданий FREE 14-этажный 84-квартирный жилой дом 2. Технология процессов опалубливания. 3. Назначение, виды и изготовление арматуры. 4. Соединение арматурных элементов. 5. Производство арматурных работ на объекте. |
1. Арматурные работы
Для армирования бетона в зонах растягивающих напряжений используют арматурную сталь круглого сечения или прокатные стальные профили (уголки , швеллеры, двутавры). А так же стеклопластиковая арматура в виде нитей d=3 ….6 мм, стержней d>6 мм плоских лент сечением 1,5…3x10мм.
В гидромелиоративном строительстве наиболее распространена стальная горячекатаная арматурная сталь гкласса А: гладкая диаметром 6...40 мм и периодического профиля- 6...90 мм с временным сопротивлением на разрыв 380…600 МПа.
Легкая арматура диаметром до 8... 14 мм выпускается в бухтах, а при большем диаметре - отдельными стержнями длиной по 9..12 м.
Содержание арматуры в железобетоне 40... 100 кг на 1 м3 кладки. Для гидротехнических сооружений, особенно массивных конструкций, характерна малая насыщенность арматурой в среднем 40...60 кг ня 1 м3 кладки.
Арматурные работы имеют предшествуют укладке бетона.
Арматурные конструкции при необходимости используют в качестве основы для крепления опалубки, закладных частей, а также для установки на них строительных механизмов.
По степени укрупнения арматурных конструкций различают арматуру:
- прутковую в виде отдельных стержней,
- штучные элементарные арматурные конструкции в виде сеток, балок, колонн пакетов
- арматурные конструкции второй степени укрупнения - пространственные конструкции , являющиеся частями или целыми арматурными каркасами строительных блоков.
Арматурные конструкции, которые используют только для армирования бетона, называются свободными. Арматурные конструкции используемые также для поддержания опалубки, закладных частей, бетона и размещения на них строительных машин, называются несущими.
В укрупненном виде в блок подают до 80...85 % массы всей арматуры, и только до 15...20% состявляют крепи соединения, устанавливаемые на месте в блоке.
Придание армоконструкциям прочности при использовании в качестве несущих конструкций требует перерасхода металла, который для свободных армоконструкций составляет 20…30% и для несущих – до 80% массы арматуры.
Все операции, связанные с арматурными работами, можно разделить на следующие группы: заготовительно-складские; заготовка отдельных стержней; сборка арматурных конструкции; транспортировка их к месту установки; монтаж арматурных конструкций.
Переработка арматурной стали требует специального станочного оборудования, заключается в выполнении следующих операций: правка стержней, очистка их от ржавчины, окалины, грязи; разметка, резка, гнутье ; транспортировка и. комплектование заготовок; сборка арматурных конструкций.
Состав операций и применяемые механизмы яри переработке арматурной стали
| Операция | Содержание процесса и способ выполнения | Механизмы и приспособления |
| Правка | Придание стержням прямолинейной формы: | Самотаски при диаметре d ≤ 14 мм; правильно-отрезные станки при d ≤ 16 мм; станки для гнутья арматуры при d ≤ 90 мм; вручную накидными ключами и на плитах со штырями при d = 10...40 мм. |
| Вытяжкой | ||
| Протяжкой через правиль ный барабан | ||
| Выпрямление | ||
| Чистка стержней | Удаление окалины, ржавчины | Стальные щетки - вручную, вращающимися электрощетками; специальные станки с вращающимися стальными щетками. |
| Разметка | Нанесение меток; продвижение стержня на заданную длину. | Мел до упора или по шаблону |
| Резка | Образование отрезков заданной длины. | Ручные ножницы при d ≤ 20 мм; механические ножницы при d ≤ 40 мм; ножницы с гидроприводом при d ≤ 70 мм; газопламенная резка при d ≥ 70 мм. |
| Гнутье | Изгиб стержней | Станки с ручным приводом при d ≤ 14 мм; станки с электроприводом при d ≤ 90 мм |
| Транспортировка заготовок и их комплектование | Перемещение заготовок | Платформы узкой колеи, тельферы, мостовые, козловые краны.
|
| Сборка арматурных конструкций | установка отдельных элементов в заданном положении в соответствии с рабочими чертежами. | Монтажные столы, стеллажи, плазы, кондукторы, шаблоны, инструменты для измерения линейных и угловых величин.
|
| Соединение отдельных элементов между собой | Электросварочные аппараты: контактные (стыковые, точечные); для сварки плавлением (электродуговая - точками или шовная - ванная, электрошлаковая, под слоем флюса). Приспособление для вязки проволокой вручную (при малых объемах и в труднодоступных местах). |
Арматуру собирают в укрупненные элементы на стендах. Соединение выполняют или связкой вязальной проволокой диаметром до 2 мм, или сваркой. Преимущественный способ соединения – дуговая контактная сварка.
Элементы соединяют: в нахлестку со швом между элементами или при помощи односторонних и двусторонних накладок со швами между элементами и накладками.

Рис. 96. Соединение арматурных элементов электросваркой:
а - основные типы стыков при сварке встык, ванным способом, внахлестку я с накладками;
б - сварные стыки стержневой арматуры с закладными частями;
в - схема контактной стыковой сварки;
г -схема контактной точечной сварки,
д - электродуговая сварка;
1 -свариваемые элементы,
2- зажимы,
3 - трансформаторы;
4 - контактные электроды;
5 - пневмоцилиндр;
6- сварочный трансформатор сварочный агрегат или сварочный преобразователь,
7 - кабели низкого напряжения;
8 - сварочный электрод. (Размеры в мм.)
Потребную сменную производительность можно найти по расчетному потоку бетонных работ (т в смену):

Применяют следующие типы предприятий: арматурные мастерские (сараи, площадки) при малых объемах работ; арматурные цехи производительностью до 30 т в смену; арматурные заводы производительностыо 30, 100, 200 т в смену и более.
Опалубка служит формой для бетонных и железобетонных блоков.
Рис. Классификация опалубки.

Рис. 99. Щит сборно-разборной опалубки:
1- палуба;
2- ребра;
3 - горизонтальные схватки;
4 - диагональные схватки;
5 - анкеры;
6 - узел крепления щита опалубки к наклонной тяге.
Стоимость опалубки в гидротехническом строительстве составляет в среднем 10….40% стоимости бетонных конструкций.
Применяют различные виды опалубки (рис. 98)
Опалубка имеет следующий части рабочую поверхность (палубу), ребра жесткости, систему горизонтальных и диагональных схваток, удерживающие конструкции в виде стоек, подкосов, прогонов, схваток.
Для изготовления элементов опалубки применяют: древесину в виде досок, брусьев и древесные материалы- δ ≥ 8…10%мм, древесноволокнистые и древесностружечные плиты δ = 4…50 мм, метел, железобетонные и бетонные сборные детали.
По характеру крепления и способу различают сборно-разборную щитовую многооборачиваемую, стационарную необорачиваемую, передвижную опалубку.
Стационарную необорачиваемую опалубку изготавливают индивидуально для данного блока из досок и брусьев. По окончании разбирают и используют на других блоках до 3…5 раз.
Сборно-разборную щитовую многооборачиваемую опалубку монтируют из готовых щитов и крепей. Оборачиваемость такой опалубки зависит от прочности материала , из которого она сделана (деревянная до 30…40, металлическая до 125 раз).
Подвижную применяют для однообразных по форме частей сооружений, развитых в высоту и длину.
Крепления щитов опалубки бывают: наружные – не связанные с бетонируемыми блоками и внутренние – закладываемые в забетонированные части сооружения. Наружные способы только для невысоких блоков бетонирования (до 2…3 м). При бетонировании блоков свыше 3..6 м переходят на внутренние крепления с использованием металлических стяжек, растяжек анкерных петель, закладываемых в бетонированные части сооружения. Применяют либо одноярусное крепление на высоту одного щита, либо двухъярусное. Одноярусную опалубку крепят одним из трех способов: основным, консольным и комбинированным.
Для бетонирования вытянутых по длине элементов применяют катучую опалубку портального, тоннельного или одностороннего, несущие рамы, установлены на тележках, перемещающихся по рельсам. Рабочие щиты крепят так, что бы их можно было перемещать вдоль бетонируемой части сооружения.

Рис. 100 Основные способы крепления вертикальных стенок опалубки.
а - при высоте плит и фундаментов до 0,2 м;
б -то же. до 0,5 м,
в - схема инвентарных наружных креплений при высоте не более 5...6 м;
г - крепление стяжками и растяжками;
д - анкеры для крепления наклонных ,тяжей;
е, ж, з - основной, консольный и комбинированный способы крепления щитов опалубки в один ярус,
и -основной способ крепления щитов опалубки в два яруса со скользящей стойкой,
1 - кол или штырь;
2 - инвентарные подмости,
3 - стяжки;
4 - анкерные болты,
5 - тяжи,
6 - скользящая стойка.
Для бетонирования сооружений, развитых в высоту; применяют скользящую опалубку, которая поднимается вверх за счет перемещения рамы 1 шагающими домкратами 5, опирающимися на стержни несущей арматуры 6.

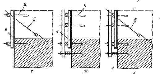
Рис. 101. Схемы крепления опалубки массивных блоков и эпюры боковых давлений бетонной смеси:
а - при высоте блоков до 3 м;
б - при высоте до 6 м;
в - при близком расположении откоса котлована;
г, д -для наклонных поверхностей;
е - поддерживающие леса для опалубки балок, ригелей перекрытий;
ж- эпюра действительных боковых давлений бетонной смеси на вертикальные стенки опалубки;
з- расчетная эпюра боковых давлений бетонной смеси;
и - расчетная эпюра боковых давлений с учетом динамических нагрузок при сбрасывании бетонной смеси;
1-эпюра гидростатического бокового давления бетонной, смеси как жидкого тела, 2 - фактическая эпюра давления. (Размеры и м.)

Рис. 102. Передвижная опалубка:
а, б - катучая портального и тоннельного типов;
в, г - сочетания опалубок портального и тоннельного типов для труб, коллекторов, водоводов;
д - скользящая для тонкостенных блоков;
е - то же, для массивных блоков;
1 - передвижные опорные конструкции и рамы;
2 - тележки;
3 - опалубочные щиты;
4 - винтовые домкраты или устройства для установки щитов в заданное положение;
5 - шагающий домкрат;
6 - опорные арматурные стержни;
7 - помост с перилами.
Опалубку рассчитывают на прочность от воздействия внешних нагрузок. На вертикально установленные щиты опалубки действуют горизонтальные нагрузки.

Боковое давление бетонной смеси определяют по формуле гидростатического давления жидкости:
, где
γб.с- сила тяжести 1 м3 бетонной смеси (для тяжелых бетонов 25 кН);
Нmax - максимальная глубина слоя бетона, в котором он находится в не схватившемся состоянии, м.
В лекции "Закономерности научения" также много полезной информации.
Опалубку изготовляют на специализированных предприятиях - в опалубочных цехах. В состав опалубочного цеха входят: склад сырья (досок, брусьев, фанеры); заготовительное отделение; разметочное, сборочное отделения и отделение ремонта опалубки; склад готовой продукции.
На месте установки опалубку обычно монтируют при помощи кранового оборудования, которое применяют для перемещения армоконструкции и бетона бадьях.
Снимать опалубку следует сразу же после набора минимально необходимой по условиям прочности.
При температуре 15°С такую прочность бетон набирает за 2...3 сут. Для таких конструкций, как балки, прогоны, перекрытия, работающие на изгиб, для которых опалубка служит несущим элементом, прочность до опалубки должна быть до 70…100% расчетной , в зависимости от размеров пролетов.
В летних условиях для набора 70% расчетной прочности требуется 10…15 суток, а для набора 100%- 28 суток.
Уменьшение сцепления бетона с опалубкой достигается обстругиванием досок, очисткой от налипшего цемента и смазкой рабочей поверхности специальными составами. Смазки-суспензии на основе минеральных порошков (мел + вода; глина + машинное масло; цемент + масло + вода).























