Стены производственных зданий
Лекция 7.
Стены производственных зданий.
Стены промышленных зданий подвергаются более сложному комплексу внешних и внутренних силовых и несиловых воздействий, чем стены гражданских зданий.
Стены промзданий должны отвечать следующим основным требованиям:
§ Обеспечивать нормальный температурно-влажностный режим в здании;
§ Обладать прочностью и устойчивостью под воздействием статических и динамических нагрузок;
§ Обладать долговечностью и стойкостью к агрессивным воздействиям;
Рекомендуемые материалы
§ Быть экономичными и иметь малый вес;
§ Быть индустриальными в изготовлении;
§ Быть ремонтопригодными и удобными при эксплуатации;
§ Иметь высокие эстетические качества.
Стены промзданий классифицируются по следующим основным признакам:
§ По местоположению стены подразделяются на наружные и внутренние;
§ По характеристике статической работы стены подразделяются на несущие, самонесущие и навесные;
§ По конструкции стены подразделяются на крупноэлементные, мелкоэлементные и монолитные;
§ По структуре стены подразделяются на однородные и неоднородные.
Стены промзданий могут выполняться из кирпича или мелких блоков, из крупных блоков, из сборных крупных панелей. Последняя конструкция стен в настоящее применяется наиболее широко и такие стены выполняются как из железобетонных, так и стальных элементов.
Крупные панели на основе тяжелых и легких бетонов применяются для стен отапливаемых и неотапливаемых производственных зданий. Они могут быть как навесными, так и самонесущими.
По местоположению в стене здания панели подразделяются на рядовые, угловые, перемычечные, парапетные, карнизные и простеночные.
Размеры панелей: высота 900, 1200, 1500, 1800мм; длина 6 и 12м; толщина 200, 250, 300 и 350мм.
Применяют как однослойные панели из легких или тяжелых бетонов, так и многослойные с внутренним утеплителем.
Унифицированные размеры стеновых панелей тесно связаны с унификацией основных конструктивных элементов промзданий.
Крепление панелей к железобетонному каркасу одноэтажных промзданий осуществляется через опирание их на опорные столики из стальных уголков, а также установкой в швах гибких стержневых связей или сцепов из уголков. Все элементы соединений привариваются как к закладным деталям колонны, так и стеновых панелей.
В самонесущих крупноразмерных стенах перемычечные панели опираются на простеночные, с которых нагрузка передается на цокольные панели и затем на фундаментные балки.
Вертикальные и горизонтальные швы между панелями заполняют упругими синтетическими прокладками из пороизола или гернита и герметизирующими мастиками, а также прокладками из утеплителя и цементно-песчаным раствором. Утеплитель используется в средней части трехслойных навесных и самонесущих панелей, а цементно-песчаный раствор – во внутренней части горизонтального шва при самонесущих панелях любого конструктивного типа.
Торцовые стены производственного здания решаются с применением фахверковых колонн, которые устанавливаются по торцам здания с шагом 6 или 12м. Крепление торцевых панелей к колоннам фахверка осуществляется аналогично креплениям панелей продольных наружных стен.
Стены производственных зданий из металлических листов значительно снижают их вес и убыстряют процесс монтажа. Металлические листовые панели обычно выполняют с вертикальной их разрезкой с опиранием на дополнительные продольные ригели, которые крепятся к колоннам каркаса.
Металл в виде плоских или профилированных листов (обычно из оцинкованной стали или алюминия) применяется как самостоятельно – для неотапливаемых зданий, так и в виде трехслойных панелей типа «сэндвич» бескаркасного типа или с дополнительным внутренним каркасом.
Теплоизоляционную основу металлических стеновых элементов составляет эффективный утеплитель, располагаемый между двумя слоями металла.
Трехслойные стеновые панели типа «сэндвич» имеют ширину 1м, высоту до 12м и толщину от 50 до 150мм, в зависимости от климатических условий района строительства.
В современной практике строительства наибольшее распространение получили трехслойные стеновые панели типа «сэндвич» бескаркасного типа. Каркасные панели со внутренними элементами собственного каркаса применяются реже, т.к. они менее экономичны за счет повышения расхода металла.
В трехслойных панелей наружная и внутренняя выполняется, как правило, из стальных оцинкованных листов толщиной 0,8мм. Панели имеют боковые кромки в виде гребней и пазов, которые образуют стыки в форме шпунта.
Кроме основного типа рядовых панелей типа «сэндвич» существуют доборные панели меньшей ширины и угловые панели.
Рисунок 1.Пример решения фасада производственного здания из крупных панелей.

Рисунок 2.Пример решения фасада производственного здания из металлических панелей.

Рисунок 3. Схема раскладки крупных панелей для продольных стен одноэтажных промзданий.

Рисунок 4. Легкобетонные стеновые панели длиной 6м.

а – сечение панели;
б – фрагмент боковой грани;
в – общий вид панели;
г – доборный угловой элемент.
1 – закладная деталь; 2 – монтажная петля.
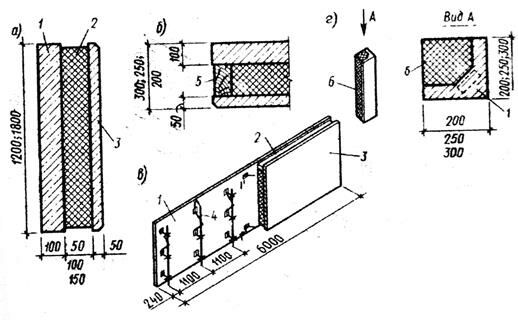
Рисунок 5. Трехслойная стеновая панель промздания.

а – сечение; б – фрагмент боковой грани; в – общий вид панели; г – доборный угловой блок.
1 – внутренняя ж/б плита; 2 – эффективный утеплитель; 3 – наружная ж/б панель; 4 – плоский арматурный каркас с монтажной петлей; 5 – антисептированный деревянный брус; 6 – вкладыш из эффективного утеплителя.
Рисунок 6. Легкобетонные стеновые панели длиной 12м.

а – рядовая панель; б – перемычечная панель, усиленная ребрами со стороны оконных проемов; в – детали панелей.
1 – паз для растворной шпонки; 2 – монтажная петля; 3 – закладные крепежные элементы.
Рисунок 7. Железобетонные стеновые панели для неотапливаемых.

а – общий вид; б – сечение панелей; в – узел стыка.
1 – паз панели;
2 – гребень панели;
3 – стенка опорного горизонтального ригеля;
4 – крепежный болт;
5 – герметизирующая прокладка.
Рисунок 8. Металлическая стеновая панель типа «сэндвич».

Рекомендуем посмотреть лекцию "2 Введение (установочная лекция)".
а – общий вид; б – сечение панели; в – узел стыка.
1 – паз панели;
2 – гребень панели;
3 – стенка опорного горизонтального ригеля;
4 – крепежный болт;
5 – герметизирующая прокладка.



















