Неразрушающие методы испытаний
ЛЕКЦИЯ 12. Неразрушающие методы испытаний (продолжение)
Магнитные, электрические и электромагнитные методы
Дефектоскопия металла
Сущность метода заключается в том. что магнитный поток, проходящий в металле и пересекающий трещину или иной дефект, встречает большое магнитное сопротивление в виде прослойки воздуха или неферромагнитного включения, а силовые линии, искривляясь, выходят на поверхность, что обусловливает возникновение местных потоков рассеяния.
На рис.1а показано такое искажение потока, выходящее за контур исследуемого элемента. Рассеивание будет тем значительнее, чем больше вызывающий его дефект. В одинаковых условиях наибольшим является влияние дефекта, расположенного перпендикулярно к направлению силовых линий (рис.16).

а б
Рис.1. Выявление дефектов по рассеиванию магнитного потока:
Рекомендуемые материалы
а - образование местного магнитного потока рассеивания у трещины;
6 - влияние ориентировки дефекта;
1 - исследуемый элемент; 2 - трещина; 3 - силовые линии магнитного поля; 4 - местный магнитный поток рассеивания; 5 - дефект, ориентированный перпендикулярно магнитим силовым линиям; 6 - то же, параллельно им
Намагничивание производится с помощью электромагнитов с использованием индукционных токов, циркулярным намагничиванием (т.е. с пропуском тока непосредственно через исследуемый элемент) и т.д. Необходимость намагничивания в двух взаимно перпендикулярных направлениях для выявления различным образом ориентированных дефектов отпадает при применении комбинированного метода - с одновременным воздействием как постоянного поля электромагнита, так и циркулярного поля переменного тока, что обусловливает переменное направление намагничивания. Выявление дефектов производится различными методами.
Порошковый метод является самым простым и наиболее доступным. В нем применяют мелкоразмолотые ферромагнитные порошки - железный сурик, окалину и т.п., выбирая цвет порошка контрастным по отношению к цвету предварительно зачищенной проверяемой поверхности. Порошок наносится или сухим способом (напылением) либо в виде водной суспензии, что предпочтительнее при контроле строительных конструкций, ил керосино-масляной (этот прием целесообразен при контроле смазанных маслом деталей механизмов).
Над местами расположения дефектов порошок оседает в виде хорошо заметных скоплений. Четче всего выявляются поверхностные дефекты. Неровности сварных швов не мешают выявлению поверхностных дефектов, но затрудняют исследование расположенных в глубине. Так, например, в швах толщиной 10 мм удовлетворительно в виде прямых линий выявляются непровары, расположенные на расстоянии 2...4 мм от поверхности и идущие вглубь на 3...5 мм.
Магнитографический метод широко применяется при контроле сварных швов металлических трубопроводов. Намагничивание производится соленоидами, охватывающими или всю трубу или часть ее периметра при больших диаметрах. Витки соленоида располагаются параллельно шву по обеим его сторонам. Для фиксации потоков рассеивания на шов накладывается магнитная лента, аналогичная применяемой в магнитной звукозаписи, но несколько большей ширины. Использованные ленты размагничиваются и становятся вновь пригодными к употреблению.
Для расшифровки записи используют звуковые индикаторы или устройства для визуального наблюдения импульсов на экране электроннолучевой трубки и сопоставления их с импульсами от эталонированных дефектов. Имеются устройства, дающие и видимые изображения выявленных дефектов.
Указанным методом может производиться сплошная проверка швов. Для контроля наиболее серьезные из отмеченных дефектов дополнительно просвечиваются ионизирующими излучениями. Такое комбинированное использование разных методов оказывается весьма эффективным.
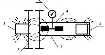
Применение магнитоскопов. В качестве примера на рис.2 схематически показан принцип действия одного из наиболее известных приборов такого типа - дефектоскопа К.Х. Хренова и СТ. Назарова. Сигналы о наличии дефекта в производственных условиях преобразуются обычно в звуковые, но могут быть использованы как показывающие, так и регистрирующие приборы (измерители тока или напряжения, осциллографы и т.п.).

Рис. 2. Схема дефектоскопа К. X. Хренова и С. Т. Назарова:
1 - электромагнит; 2 - электромагнитный датчик; 3 - проводка к сета переменного тока; 4 - то же к усилителю; 5 - проверяемый элемент; 6 - дефект
Основным недостатком приборов рассматриваемого типа является довольно значительная длина базы их чувствительных элементов (в данном случае сердечника 2), что затрудняет уточнение границ и протяженности дефектов, поскольку регистрируются усредненные данные по длине базы искателя.
Эти затруднения в значительной степени устраняются при пользовании феррозондами в виде малогабаритных линейных сердечников сечением до 1...3 мм с катушками.
Магнитные толщиномеры
С помощью магнитных и электромагнитных приборов толщина элементов из ферромагнитных металлов определяется с точностью до нескольких процентов, требуя доступа лишь с одной стороны. При этом используется существующая зависимость между регистрируемой величиной магнитного потока и толщиной исследуемого материала. Приборы такого типа просты и надежны в работе.
При доступе с двух сторон магнитными и электромагнитными методами могут быть определены толщины и неферромагнитных материалов, что и используется для управления технологическим процессом на поточной линии. В качестве примера на рис.3 приведена схема магнитного толщиномера, где пара феррозондов 4 смонтирована вместе с постоянным магнитом 3 в «щупе» 2, С другой стороны элемента к нему прижат аналогичный магнит. Положение магнита в щупе регулируется так, чтобы при заданной толщине стенки ток от обоих феррозондов был равен нулю. Шкала измерительного прибора 5 отградуирована на отклонения от заданной толщины.

Рис.3. Схема магнитного толщиномера для немагнитных материалов: 1 - проверяемый элемент; 2 – «щуп»; 3 - постоянные магниты; 4 - феррозонды;5 -регистрирующий прибор
Магнитными и электромагнитными методами с большой точностью могут быть измерены также толщины защитных покрытий на металлических элементах.
Определение напряжений с помощью магнитоупругого тестера
Метод, основанный на возникновении магнитной анизотропии под действием приложенных напряжений. Из числа приборов, работающих по данному принципу, следует отметить прибор конструкции Н. Н, Максимова, схема преобразователя которого (три сердечника с пятью катушками) показана на рис.4.
В центре сердечника расположена питающая катушка 1, а по диагоналям его - две пары измерительных катушек (2 и 3). Магнитный поток из средней катушки, попадая в исследуемый материал, рассредоточивается в основном по четырем направлениям. При одинаковой магнитной проницаемости потоки будут равны, а при наличии же магнитной анизотропии – различны, что и измеряется прибором.

Рис. 4. Схема чувствительного элемента прибора Н. Н. Максимова для определения остаточных напряжений: 1- питающая катушка; 2 и 3 - измерительные катушки; 4 - исследуемый элемент. Пунктиром со стрелками показано направление магнитных потоков исследуемом элементе.
Измерительная схема построена таким образом, что электродвижущая сила катушек может определяться как в каждой диагонали в отдельности, так и по их разности и сумме. При измерениях «на разность», поворачивая сердечник в плане, по экстремумам отсчетов выявляется направление главных напряжений в металле. По повторным измерениям при одинаковом положении сердечника можно судить о постоянстве напряженного состояния в данной точке или об его изменении. При измерениях «по сумме» можно судить о величине главных напряжений.
Необходимо иметь в виду следующее:
• магнитный поток, проходя в поверхностном слое металла, характеризует напряженное состояние лишь у поверхности элемента;
• на результаты измерений оказывает значительное влияние начальная магнитная анизотропия металла;
• при последовательных нагрузках и разгрузках появляются петли магнитного гистерезиса, не связанные с механическими напряжениями.
Другим перспективным направлением оценки напряженного состояния металла по его магнитным характеристикам является метод «магнитных меток». Сущность его заключается в наведении внешним магнитным полем остаточной намагниченности в отдельных локализованных зонах исследуемого металла. При изменении напряженного состояния последнего меняется и намагниченность этих «меток», являющихся таким образом своеобразными индикаторами механических напряжений.
Наведение и индикация намагниченности меток производятся с помощью специальных переносных приборов.
Рассматриваемый метол предложен для контроля натяжения арматуры в железобетонных конструкциях. Как наведение, так и индикация состояния гранитных меток, могут осуществляться на оголенной арматуре до ее бетонирования и в уже забетонированных деталях и конструкциях - через защитный слой бетона.
Необходимо подчеркнуть следующее:
• данным методом выявляется лишь изменение напряженного состояния по сравнению с имевшим место при нанесении меток;
• переход от измерения остаточной намагниченности меток к механическому напряжению в арматуре может быть произведен лишь при наличии экспериментально установленной зависимости для данной арматуры, поскольку для разных меток металла эта зависимость не является стабильной;
• чередование нагрузок и разгрузок сопровождается появлением петель магнитного гистерезиса. Для исключения их влияния требуется повторное нанесение меток перед переменой знака изменения напряжений.
Возможны и другие методы оценки напряженного состояния металла, например, по изменению электрического сопротивления (проводимости) и токовихревой, успешно разрабатываемые в настоящее время.
Приборы рассматриваемого типа надежны и удобны в применении.
Приборы магнитно-индукционного типа
Для выявления положения и глубины залегания арматуры предложены магнитометрические приборы, состоящие из двух постоянных магнитов, в центральной части магнитного поля, которых расположен на оси небольшой магнит, соединенный со стрелкой-указателем. При приближении к арматуре напряженность магнитного поля в средней точке изменяется, что обусловливает возникновение магнитного момента, поворачивающего магнитик со стрелкой. Экстремум отклонения указателя соответствует расположению прибора на поверхности контролируемого изделия над осями арматурных стержней, а отклонение стрелки указывает на толщину защитного слоя бетона.
Принцип действия одного из наиболее распространенных приборов индукционного типа схематически показан на рис. 5.
Индуктивный преобразователь 1 передвигается по поверхности исследуемой железобетонной конструкции или детали. Отдельно от него в корпусе прибора помещен аналогичный преобразователь с ферромагнитным смещаемым элементом 3, предназначенным для изменения индуктивного сопротивления при балансировке схемы. По мере приближения преобразователя 1 к арматурному стержню разбаланс, зависящий от толщины защитного слоя, диаметра стержня и ориентировки преобразователя по отношению к его направлению, будет уменьшаться.
Шкала отсчетного устройства прибора проградуирована в миллиметрах защитного слоя для арматурных стержней разного диаметра.
Люди также интересуются этой лекцией: Формирование и развитие индийской цивилизации.

Рис. 5. Индукционный прибор для проверки положения и диаметра арматуры и толщины защитного слоя: 1 - выносной индуктивный преобразователь; 2 - преобразователь в корпусе прибора: 3 - стержень для регулирования индуктивного сопротивления; 4 - проводка к источнику переменного тока; 5 - проводка к отсчетному устройству; 6 - железобетонный элемент; 7 - арматурный стержень
Установив расположение стержней, передвигают преобразователь вдоль контролируемого стержня до положения, соответствующего минимальному отсчету, следя за тем, чтобы преобразователь находился между пересечениями арматуры. Записав толщины защитного слоя по шкалам всех диаметров, повторяют отсчет, поместив между бетоном и преобразователем прокладку, толщиной, например, 10мм из оргстекла, дерева или другого диамагнетика. Диаметр арматуры будет соответствовать той из шкал, разность отсчетов по которой окажется равной именно 10мм.
Определение влажности древесины
По замеренному электрическому сопротивлению можно судить о состоянии материала в конструкции, пользуясь соответствующими зависимостями между электропроводимостью и влажностью для данного сорта дерева.
Измерения производятся с помощью игольчатых электродов, заглубляемых в древесину на 5..10мм, что характеризует электросопротивление ее поверхностного слоя. Для элементов, эксплуатируемых в течение длительного времени при постоянном температурно-влажностном режиме (например, для внутренних несущих конструкций в сооружениях), по этим данным можно судить о влажности по всей толщине сечений элементов.


























