Конструирование и расчет базы внецентренно-сжатой колонны
8.5. Конструирование и расчет базы внецентренно-сжатой колонны
8.5.1. Общие требования к базам колонн
База является опорной частью колонны, служит для передачи и распределения сосредоточенного усилия от стержня по определенной площади фундамента, а также обеспечивает закрепление нижнего конца колонны в фундаменте в соответствии с принятой расчетной схемой. База закрепляется с фиксацией проектного положения колонны на фундаменте анкерными болтами.
Размеры опорной плиты в базах внецентренно-сжатых колонн назначаются из расчета ее на нагрузку от отпора фундамента. Наибольшее сжимающее напряжение под плитой определяется от нормальной силы N и изгибающего момента M.
Анкерные болты подлежат расчету от специальной комбинации усилий N и M, вызывающих максимальное растягивающее усилие в анкерных болтах; постоянные нагрузки при этом определяются с коэффициентом надежности по нагрузке равным γf = 0,9, так как они разгружают анкерные болты, прижимая опорную плиту базы колонны к фундаменту. Диаметры анкеров рекомендуется принимать до 76 мм, так как более толстые болты сложны в изготовлении.
Анкерные болты выносятся за опорную плиту, чтобы во время монтажа колонну можно было двигать во все стороны (примерно на 20 мм), устанавливая по оси. Они работают на выдергивание и закрепляются в фундаменте за счет сцепления их с бетоном (чем определяется глубина заделки болта) или с помощью опорных шайб, воспринимающих давление бетона по площади шайбы.
Анкерная пластина принимается толщиной 20 – 40 мм и шириной, равной не менее четырем диаметрам отверстий под болты.
Для сплошных и легких сквозных колонн при ее ширине до 1 м применяют общие базы, если ширина сквозной колонны более 1 м устраивают базы раздельными под каждую ветвь колонны, рассчитывают такие базы аналогично базам центрально-сжатых колонн.
При сравнительно небольших расчетных усилиях в ветвях колонны (до 4000 – 5000 кН) применяются базы с траверсами, передающими усилие от стержня колонны через сварные швы на плиту, опирающуюся непосредственно на фундамент. Для более равномерной передачи давления жесткость плиты при необходимости может быть увеличена постановкой дополнительных ребер и диафрагм.
Рекомендуемые материалы
Пример 8.3. Рассчитать и законструировать базу внецентренно-сжатой сквозной колонны при жестком сопряжении ее с фундаментом (рис. 8.7).
Рис. 8.7. База внецентренно-сжатой сквозной колонны
Размеры сечения колонны и наибольшие сжимающие усилия в ветвях колонны на уровне обреза фундамента приняты по данным прередущего примера: для подкрановой ветви Nв1 = – 2245,6 кН; для наружной – Nв2 = – 2818 кН. Комбинация усилий, вызывающая растягивающее усилие в анкерных болтах: подкрановой ветви N′в1 = – 1081,3 кН и M′в1 = + 2295,1 кН·м; наружной ветви N′в2 = – 189,4 кН и M′в2 = – 637 кН·м.
Материал фундамента – бетон класса В12,5. Материал конструкций –
сталь класса С255 с расчетным сопротивлением Ry = 24 кН/см2 при толщине листов t до 20 мм и Ry = 23 кН/см2 при толщине 20 < t ≤ 40 мм.
Сварка механизированная с использованием проволоки Св-08Г2С по ГОСТ 2246-70*: Rwf = 21,5 кН/см2; Rwz = 16,65 кН/см2; βf = 0,9; βz = 1,05; γс = 1,0; γwf = γwz = 1,0.
8.5.2. Определение размеров опорной плиты в плане
Давление под плитой принимается равномерно распределенным. Размеры плиты в плане определяются из условия прочности материала фундамента.
Рассчитываем базу под наиболее нагруженную наружную ветвь колонны.
Требуемая площадь опорной плиты
Апл = BL = Nв2/(ψRb,loc) = 2818 / (1 · 0,9) = 3131 см2,
где y – коэффициент, зависящий от характера распределения напряжений под плитой (при равномерном распределении напряжений y = 1);
Rb,loc – расчетное сопротивление бетона смятию, определяемое по формуле

где a = 1 – для бетона класса ниже B25;
Rb = 7,5 МПа – расчетное сопротивление бетона (см. табл. 4.3);
jb – коэффициент, учитывающий повышение прочности бетона сжатию в стесненных условиях под опорной плитой и определяемый по формуле

здесь Aф – площадь верхнего обреза фундамента, незначительно превышающая площадь опорной плиты Aпл; jb принимается не больше 2,5 для бетонов классов выше B7,5 и не больше 1,5 для бетонов классов B7,5 и ниже.
Предварительно задаемся jb = 1,2.
Размеры плиты (ширина B и длина L) назначаются по требуемой площади Aпл, увязываются с контуром колонны (свесы опорной плиты должны быть не менее 40 мм) и согласуются с сортаментом.
Назначаем ширину плиты конструктивно:

где b2 = 300 мм – высота сечения стержня колонны;
tтр = 12 мм – толщина траверсы (принимается в пределах 10…20 мм);
с = 50 мм – вылет консольной части плиты (предварительно принимается равным 40 – 120 мм и уточняется в процессе расчета толщины плиты).
Принимаем B = 450 мм.
Требуемая длина плиты

Принимаем плиту стандартных размеров 700×450 мм с площадью
Aпл = 3150 см2. Размеры верхнего обреза фундамента устанавливаем на 20 см больше размеров опорной плиты.
Площадь 
Коэффициент 
Перерасчет расчетного сопротивления бетона смятию не требуется.
8.5.3. Определение толщины опорной плиты
Толщина опорной плиты назначается из условия ее прочности на изгиб как пластинки, опертой на торцы колонны, траверс и ребер, от отпора фундамента, равного среднему напряжению под плитой:

Толщину плиты не рекомендуется назначать больше 40 мм. Для рас-чета плиты выделяются участки пластинки, опертые по четырем, трем и одной (консольные) сторонам, соответственно обозначенные цифрами 1, 2, 3 на рис. 8.8.

Рис. 8.8. К расчету базы колонны
На каждом участке определяются максимальные изгибающие моменты, действующие на полосе шириной 1 см, от расчетной равномерно распределенной нагрузки

Момент на участке 1, опертом по четырем сторонам:

где a1– коэффициент, учитывающий уменьшение пролетного момента за счет опирания плиты по четырем сторонам, определяется в зависимости от отношение большей стороны участки b к меньшей a (см. табл. 4.4).
Значения b и a определяются по размерам в свету:
b = bк = 470 мм; а = (b2 – tw)/2 = (300 – 11) / 2 = 144,5 мм;
b/а = 47 / 14,45 = 3,25 > 2.
При b/а > 2 плита работает как балка на двух опорах пролетом а, изгибающий момент определится по формуле
M1 = qa2/8 = 0,89 · 14,452 / 8 = 23,23 кН·см.
На участке 2, опертом по трем сторонам:

где b – коэффициент, принимаемый в зависимости от отношения закрепленной стороны пластинки b1 к свободной а1 (см. табл. 4.5)
Отношение сторон b1/a1 = 10 / 30 = 0,33; при отношении сторон b1/a1 < 0,5 плита рассчитывается как консоль длиной b1. Изгибающий момент

Момент на консольном участке 3

При значительном отличии моментов по величине на различных участках плиты необходимо внести изменения в схему опирания плиты, чтобы по возможности выровнять значения моментов. Это осуществляется постановкой диафрагм и ребер.
По наибольшему Mmax из найденных для различных участков плиты изгибающих моментов определяем требуемый момент сопротивления плиты шириной 1 см:
откуда

Принимаем лист по ГОСТ 82-70* толщиной 36 мм.
8.5.4. Расчет траверсы
Высота траверсы hтр определяется из условия размещения вертикальных швов крепления траверсы к стержню колонны. В запас прочности предполагается, что все усилие в ветви передается на траверсы через четыре угловых шва (сварные швы, соединяющие стержень колонны непосредственно с плитой базы, не учитываются).
Сравниваем:

следовательно, сварные швы рассчитываем по металлу границы сплавления.
Катетом шва задаемся в пределах 8 – 16 мм, но не более 1,2tmin.
Принимаем kf = 10 мм. Определяем длину одного шва, выполненного механизированной сваркой в среде углекислого газа, по наибольшему усилию в наружной ветви колонны Nв2:


Принимаем высоту траверсы с учетом добавления 1 см на дефекты в начале и конце сварного шва hтр = 420 мм. Проверяем прочность траверсы как однопролетной двухконсольной балки, опирающейся на ветви (полки) колонны и воспринимающей отпорное давление от фундамента (рис. 8.9, а), и как консольной балки, воспринимающей усилие отрыва ветви (усилие в анкерах) Fa (рис. 8.9, б).
а) б)

Рис. 8.9. Расчетные сжемы траверсы:
а – от отпора фундамента ; б – от усилия в анкерных болтах
Равномерно распределенная нагрузка на одну траверсу

Определяем усилия:
– на опоре


– в пролете


– растягивающее усилие в анкерных болтах в базе подкрановой ветви колонны
Fa1 = N′в1y2/ho + M′в1/ho = –1081,3 · 0,455 / 1,1 + 2295,1 / 1,1 = 1639,2 кН;
– растягивающее усилие в анкерных болтах в базе наружной ветви колонны
Fa2 = N′в2 y1/ho + M′в2/ho = –189,4 · 0,645 / 1,1 + 637 / 1,1 = 468 кН;
– изгибающий момент в одной консольной части траверсы от максимального усилия в анкерных болтах
Mк1 = Fa1bо/4 = 1639,2 · 15 / 4 = 6147 кН·см,
где bо = z – bк/2 = 400 – 500 / 2 = 150 мм;
z = L/2 + 50 = 700 / 2 + 50 = 400 мм;
– поперечная сила
Qk1 = Fa1/4 = 1639,2 / 4 = 409,8 кН.
Момент сопротивления траверсы

Проверяем прочность траверсы:
– в пролете по нормальным напряжениям

– по касательным напряжениям

– по приведенным напряжениям

где σ = Моп/Wтр = 1001,5 / 352,8 = 2,84 кН/см2;
τ = Qпр/(tтрhтр) = 500,75 / (1,2 · 42) = 9,94 кН/см2.
– в консольной части от усилия в анкерных болтах по нормальным напряжениям

– по касательным напряжениям

– по приведенным напряжениям

где 
τ = Qk1/(tтрhтр) = 409,8 /(1,2 · 42) = 8,13 кН/см2.
Все условия выполняются.
Требуемый катет горизонтальных швов для передачи усилия (Nтр = qтрL) от одной траверсы на плиту

где ålw = (L – 1) + 2(b1 – 1) = (70 – 1) + 2 · (10 – 1) = 87 см – суммарная расчетная длина горизонтальных швов.
Принимаем kf = 10 мм < 1,2 tтр = 12 мм.
8.5.5. Расчет анкерных болтов и пластин
Пример 8.4. Рассчитать анкерные болты для закрепления базы сквозной внецентренно-сжатой колонны по данным примера 8.3. Болты выполняются из стали марки ВСт3кп2 по ГОСТ 535-88 с расчетным сопротивлением Rba = 185 МПа = 18,5 кН/см2 (см. табл. 8.5).
Максимальное растягивающее усилие в анкерных болтах в базе подкрановой ветви колонны Fa1 = 1639,2 кН.
Требуемая площадь нетто анкерных болтов
∑Aa1 = Fa1/(Rbaγc) = 1639,2 / (18,5 · 1) = 88,6 см2.
По табл. 8.6 принимаем 4 болта диаметром dб = 64 мм с площадью сечения нетто одного болта Abn = 26,4 см2.
Общая несущая способность четырех болтов
[N] = 4 · 488,4 = 1953,6 кН > Fa1 = 1639,2 кН.
Максимальное растягивающее усилие в анкерных болтах в базе наружной ветви колонны Fa2 = 468 кН.
Требуемая площадь нетто анкерных болтов
∑Aa2 = Fa2/(Rbaγc) = 468 / (18,5 · 1) = 25,3 см2.
Принимаем 2 болта диаметром dб = 48 мм с площадью сечения нетто одного болта Abn = 14,72 см2.
Таблица 8.5
Расчетные сопротивления растяжению фундаментных болтов Rba
| Диаметр болтов, мм | Расчетные сопротивления, МПа, болтов из стали марок | ||
| ВСт3кп2 по ГОСТ 380–71** (с 1990г. ГОСТ 535-88) | 09Г2С по ГОСТ 19281–73* | 10Г2С1 по ГОСТ 19281–73* | |
| 12, 16, 20 | 185 | 235 | 240 |
| 24, 30 | 185 | 230 | 235 |
| 36, 42, 48, 56 | 185 | 225 | 225 |
| 64, 72, 80 | 185 | 220 | 215 |
| 90,100 | 185 | 215 | 215 |
| 110, 125, 140 | 185 | 215 | – |
Таблица 8.6
Предельные усилия на растяжение одного фундаментного болта Fnр
| Сталь и Fnр | dб, мм | ||||||||||
| 16 | 20 | 24 | 30 | 36 | 42 | 48 | 56 | 64 | 72 | ||
| Abn, см2 | |||||||||||
| 1,57 | 2,45 | 3,52 | 5,60 | 8,16 | 11,20 | 14,72 | 20,2 | 26,4 | 33,70 | ||
| ВСт3кп2 | Fnр, кН | 29,0 | 45,3 | 65,1 | 103,6 | 160,0 | 207,2 | 272,3 | 373,7 | 488,4 | 623,5 |
| 09Г2C | Fпр, кН | 36,9 | 57,6 | 81,0 | 128,8 | 183,6 | 252,0 | 331,2 | 454,5 | 580,8 | 741,4 |
Общая несущая способность двух болтов
[N] = 2 · 272,3 = 544,6 кН > Fa2 = 468 кН.
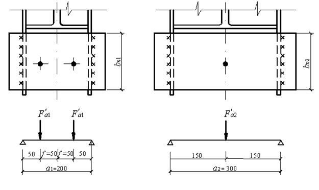
Анкерные пластины опираются на траверсы и работают как балки на двух опорах, нагруженные усилием в анкерных болтов (рис. 8.10).
Рассчитываем анкерную пластину в базе подкрановой ветви.
Усилие, приходящееся на один болт:
F′a1 = Fa1/n = 1639,2 / 4 = 409,8 кН.
Изгибающий момент
Ma1 = F′a1(a1/2 – f) = 409,8 · (20 / 2 – 5) = 2049 кН·см,
где f = 35 – 80 мм – привязка анкерных болтов.
а) б)

Рис. 8.10. К расчету анкерных пластин:
а – для базы подкрановой ветви; б – для базы наружной ветви
Диаметр отверстия под анкерный болт dо = dб + 8 = 64 + 8 = 72 мм.
Анкерная пластина изготавливается из листовой стали.
Ширина пластины составляет:
bа1 = 4 · 72 = 288 мм.
Принимаем bа1 = 300 мм.
Расчетная ширина анкерной пластины с учетом ослабления отверстием под болт
bnа1 = bа1 – dо = 300 – 72 = 228 мм.
Определяем требуемый момент сопротивления нетто анкерной пластины:
Wna1 = Ma1/(Ryγс) = 2049 / (23 · 1) = 89,1 см3.
Толщина пластины

Толщина листов более 40 мм не рекомендуется.
Принимаем ta1 = 40 мм и определяем ширину анкерной пластины:
bnа1 = 6Wna1/ta12 = 6 · 89,1 / 42 = 33,4 см.
Выполняем анкерную пластину из листа сечением 340×40 мм.
Рассчитываем анкерную пластину в базе наружной ветви.
Усилие, приходящееся на один болт:
F′a2= Fa2/n = 488,4 / 2 = 244,2 кН.
Изгибающий момент
Ma2 = F′a2a2/4 = 244,2 · 30 / 4 = 1831,5 кН·см.
Диаметр отверстия под анкерный болт dо = dб + 8 = 48 + 8 = 56 мм.
Ширина пластины
bа2 = 4 · 56 = 224 мм.
Принимаем bа2 = 240 мм. Расчетная ширина анкерной пластины
bnа2 = bа2 – dо = 240 – 56 = 184 мм.
Определяем требуемый момент сопротивления нетто анкерной пластины:
Wna2 = Ma2/(Ryγс) = 1831,5 / (23 · 1) = 79,63 см3.
Толщина пластины

Принимаем ta2 = 40 мм и определяем ширину анкерной пластины:
bnа2 = 6Wna2/ta22 = 6 · 79,63 / 42 = 29,86 см.
Выполняем анкерную пластину из листа сечением 300×40 мм.

Рис. 8.11. Крепление связевых колон на фундаменте
В том случае, когда отрыв базы колонны от фундамента невозможен или отрывающее усилие невелико, анкерные болты ставятся в зависимости от мощности колонны конструктивно (2 болта dб = 20 – 30 мм), толщина анкерной пластины принимается минимальной tа = 20 мм.
Подкрановые связи между колоннами передают на фундамент горизонтальные силы от продольного торможения мостовых кранов и ветровой нагрузки на торец здания. Опорные плиты баз, к которым крепятся эти свя-зи, привариваются к специальным швеллерам, заделанным в фундамент (рис. 8.11).
При проектировании базы для безвыверочного монтажа толщина опорной плиты должна быть на 2 – 3 мм больше полученной по расчету (для выполнения фрезеровки).
Базы колонн после установки в проектное положение обетонируются.
8.5.6. Особенности расчета общей базы внецентренно-сжатой колонны
База внецентренно-сжатой колонны развивается в плоскости действия изгибающего момента (рис.8.12, а).
Под плитой в бетоне фундамента возникают нормальные напряжения σб (рис. 8.12, б), определяемые по формуле внецентренного сжатия:
σб = N/Aпл ± M/Wпл= N/(BL) ± 6M/(BL2),
где Aпл и Wпл – площадь и момент сопротивления плиты;
B и L – ширина и длина плиты.
При определенном сочетании усилий N′ и M′ (при большом значении изгибающего момента M′) второй член формулы может оказаться больше первого и под плитой возникают растягивающие напряжения, в этом случае отрыву плиты будут препятствовать анкерные болты.

Рис. 8.12. К расчету базы колонны:
а – общий вид базы; б – распределение напряжений под опорноц плитой
Определение размеров плиты в плане выполняют на комбинацию усилий N и M, дающую наибольшее краевое сжатие бетона.
Шириной плиты задаются конструктивно:
B = b + 2(tтр + c),
где b – ширина сечения колонны;
tтр – толщина траверсы (принимают 8 – 16 мм);
с – вылет консольной части плиты (принимают 40 – 150 мм).
Из условия прочности бетона фундамента на сжатие σб,max ≤ Rb,loc определяют длину плиты:

где Rb,loc = φbRb (здесь Rb – расчетное сопротивление бетона сжатию; φb – коэффициент, учитывающий повышение прочности бетона сжатию в стесненных условиях под опорной плитой).
Установив окончательные размеры опорной плиты (размеры согласуются с ГОСТами на листовую сталь), вычисляют фактические напряжения в бетоне фундамента:
σб = N/(BL) ± 6M/(BL2).
Работа и расчет плиты аналогичны работе и расчету ее в базе центрально-сжатой колонны (см. п. 4.5).
Толщину опорной плиты определяют из условия ее прочности на изгиб от отпора фундамента, рассматривая отдельные участки пластинки, опертой по 1, 2… сторонам.
Так как напряжения в бетоне фундамента под плитой распределяются неравномерно, при определении моментов на различных участках величину σf принимают наибольшей в пределах каждого участка по эпюре напряжений в бетоне.
Траверсу рассчитывают как двухконсольную балку, шарнирно опертую на пояса колонны под действием отпора бетона фундамента и усилия в анкерных болтах.
Толщиной траверсы предварительно задаются, а ее высоту определяют из условия размещения сварных швов, рассчитанных на срез от реакции балки (траверсы) со стороны наибольшего сжатия. Траверсы приваривают к полкам колонны наружными угловыми швами.
Такие траверсы целесообразны при небольшой ширине колонны (до 500 – 700 мм).
Отрывающее усилие в анкерных болтах определяют в предположении, что сжатие под плитой воспринимается бетоном, а суммарная растягивающая сила Za, соответствующая растянутой зоне эпюры напряжений, полностью воспринимается анкерными болтами (см. рис. 8.12).
Исходя из уравнения равновесия сил относительно центра тяжести сжатой зоны бетона M′ – N′а – Zay = 0, усилие в анкерных болтах с одной стороны базы определится:
Za = (M′– N′а)y,
где а = L/2 – с/3 – плечо силы N′ относительно центра тяжести сжатой зоны бетона;
y = L – с/3 + zо;
c = σб,max L/(σб,max + σб,min) – длина сжатой зоны бетона.
Требуемую площадь сечения одного анкерного болта из условия его прочности на растяжение определяют по формуле
Ab = Za/(nRbaγс),
где n – количество анкерных болтов с одной стороны базы;
Rba – расчетное сопротивление анкерного болта (см. табл. 8.5).
8.5.7. Расчет соединения надкрановой и подкрановой частей
колонны
В ступенчатых колоннах подкрановые балки опираются на уступ колонны. На уровне опирания подкрановых балок, как правило, устраивается и монтажный стык верхней (надкрановой) и нижней (подкрановой) частей колонны.
Пример 8.5. Рассчитать и запроектировать узел сопряжения верхней и нижней частей колонны по данным пп. 8.3 и 8.4.
Расчетная комбинация усилий в сечении над уступом N2 = – 479,3 кН и М2 = – 326,5 кН∙м. Давление кранов Dmax = 2216 кН. Ширина опорного ребра подкрановой балки, опирающейся на уступ колонны, bр = 400 мм, толщина стенки подкрановой ветви колонны tw = 9,2 мм.
Сварка механизированная в среде углекислого газа. Марка свароч- ной проволоки Св-08Г2С: Rwf = 21,5 кН/см2; Rwz = 16,65 кН/см2; βf = 0,9; βz = 1,05; γwf = γwz = 1. Расчет сварных швов производится по границе сплавления.
Для передачи усилий от надкрановой части колонны и подкрановых балок на подкрановую часть колонны в месте уступа колонны устраивается траверса (рис. 8.13). Траверса работает на изгиб как балка-стенка на двух опорах.
Расчетными усилиями для расчета соединения являются максимальный отрицательный момент М2 и соответствующая нормальная сила N2.

Рис. 8.13. Узел соединения надкрановой и подкрановой частей колонны
Высота траверсы hТ принимается равной (0,5 – 0,8)hн = 625 – 1000 мм, где hн = 1250 мм – высота сечения нижней сквозной части колонны. Принимаем hТ = 900 мм.
Давление Dmax, передаваемое опорными ребрами подкрановых балок, воздействует на стенку траверсы через плиту толщиной t3 = 20 – 25 мм. Торцы траверсы и опорного ребра (поз. 2) фрезеруются.
Толщина траверсы t1 и опорного ребра t2 находится из условия смятия и принимается не менее 12 мм:
t1 = t2 = Dmax/(lef Rpγc) = 2216 / (45 ∙ 33,6 ∙ 1) = 1,47 см,
где l ef = bр + 2t3 = 400 + 2 ∙ 25 = 450 мм;
Rp = 336 МПа – расчетное сопротивление смятию торцевой поверхности (при наличии пригонки), принимаемое по табл. 2.4;
γc = 1 – коэффициент условий работы.
Принимаем t1 = 16 мм.
В запас прочности допустимо считать, что усилия N2 и М2 передаются только через полки верхней части колонны.
Усилие во внутренней полке верхней части колонны вычисляем по формуле
Ff = N2/2 + М2/hf = 479,3 / 2 + 326,5 / 0,672 = 725,5 кН,
где hf = hw + tf = 650 + 22 = 672 мм – расстояние между осями полок подкрановой части колонны. В формуле для расчета принимаются абсолютные значения N2 и М2.
Усилие Ff от верхней части колонны передается на траверсу через вертикальные ребра (поз. 4).
Назначаем сечение вертикальных ребер, к которым крепится внутренняя полка верхней части колонны. Суммарная площадь ребер А4 = 2b4 t4 из условия равнопрочности должна быть не менее площади внутренней полки Аf = bf tf, при этом толщина ребра принимается:
t4 = tf + 6 = 22 + 6 = 28 мм;
ширина ребра
b4 = bf /2 + 6 мм = 300 / 2 + 6 = 156 мм.
Принимаем сечение вертикальных ребер 160×28 мм.
Катет швов (Ш1), крепящих ребро к траверсе:
kf =
=
= 0,37 см.
Принимаем минимальный катет шва kf = 7 мм (см. табл. 3.5).
Проверяем по формуле
lw = 85bf kf = 85 ∙ 0,9 ∙ 0,7 = 66,1 см < (hТ – 1) = 89 см.
Расчетная длина сварного шва укладывается в пределах высоты траверсы.
Прочность траверсы проверяется как балки, опирающейся на ветви подкрановой части колонны и нагруженной усилиями N2, М2 и Dmax.
Сечение и расчетная схема траверсы приведены на рис. 8.14.

Рис. 8.14
Реакция от N2 и М2 вычисляется по формуле
F1 = (N2/2 + М2/hf)c/ho = (479,3 / 2 + 326,5 / 0,672) ∙ 0,533 / 1,1 = 351,5 кН,
где с = hw + 1,5tf – zo = 650 + 1,5 ∙ 22 – 150 = 533 мм;
zo = b2/2 = 300 / 2 = 150 мм;
ho = 1100 мм – расстояние между осями ветвей нижней части колоны.
Изгибающий момент у грани верхней части колонны (сечение α – α)
МТ = F1(ho – c) = 351,5 (1,1 – 0,533) = 199,3 кН∙м.
Расчетная поперечная сила в траверсе с учетом половины давления на траверсу от подкрановых балок
QТ = F1 + kDmax/2 = 351,5 + 1,2 ∙ 2216 / 2 = 1681 кН,
где k = 1,2 – коэффициент, учитывающий неравномерную передачу усилия
Dmax вследствие возможного перекоса поверхности опорных ребер подкрановых балок.
Ширину верхних горизонтальных ребер b5 назначаем не менее ширины вертикальных ребер: b5 = b4 = 160 мм, толщину – t5 = 12 – 25 мм. Принимаем t5 = 12 мм.
Ширина нижнего пояса траверсы (поз. 6)
b6 = 2b5 + t1 = 2 ∙ 160 + 16 = 336 мм.
Принимаем ребро сечением 340×12 мм.
Определяем геометрические характеристики траверсы.
Положение центра тяжести сечения траверсы


где а = 175 мм – по типовому проекту;
ув = h – yн = 91,2 – 42,5 = 48,7 см.
Момент инерции сечения
Ix = t1hТ3/12 + hТ t1(hТ /2 – yн)2 + 2b5t5(ув – a – t5/2)2 + b6t6(ун – t6/2)2 =
= 1,6 ∙ 903 / 12 + 90 ∙ 1,6 (90 / 2 – 42,5)2 + 216 ∙ 1,2 (48,7 – 17,5 – 1,2 / 2)2 +
+ 34 ∙ 1,2 (42,5 – 1,2 / 2)2 = 205145,1 см4.
Моменты сопротивления для верхней и нижней частей сечения траверсы:
Wв = Ix/yв = 205145,1 / 48,7 = 4212,43 cм3;
Wн = Ix/yн = 205145,1 / 42,5 = 4826,94 см3.
Производим проверку сечения траверсы на прочность:
– от изгиба

– от среза

Катет шва крепления траверсы к подкрановой ветви (Ш2) определяется расчетом на поперечную силу QТ:
kf =
=
= 0,79 см.
Принимаем kf = 8 мм < 1,2tmin = 1,2 ∙ 10 = 12 мм.
Крепление вертикального ребра подкрановой ветви (Ш3) производится с учетом неравномерности передачи давления (k = 1,2) на силу Dmax/2:
kf =
=
=
= 0,7 см.
Принимаем kf = 7 мм.
Проверяем стенку подкрановой ветви колонны в месте крепления траверсы и вертикального ребра на срез от поперечной силы
Q = F1 + Dmax = 351,5 + 2216 = 2567,5 кН:

Условие прочности не выполняется.
Принимаем высоту траверсы hТ = 1000 мм и производим повторную проверку:

Размеры накладки (поз.7) принимаем конструктивно:
t7 = tf = 22 мм; b7 = b + 2 ∙ 30 = 560 мм.
Длина накладки l7 = lн + lв, где lн = hТ + 50 = 1000 + 50 = 1050 мм;
lв назначается из условия размещения сварных швов, необходимых для крепления накладки к верхней части колонны. Швы, выполненные ручной сваркой, рассчитываются из условия равнопрочности шва основному сечению накладки.
Катетом шва kf задаются в пределах 8 – 16 мм. Принимая kf = 16 мм, определяем:
lb = lw + 1 = A7Ry /(2βf kf Rwf γwf γc) =
= 123,2 ∙ 23 / (2 ∙ 0,7 ∙ 1,6 ∙ 18 ∙ 1 ∙ 1) + 1 = 70 cм.
Длина накладки l7 = 1050 + 700 = 1750 мм.
8.5.8. Прикрепление подкрановой консоли к колонне
Подкрановые балки под мостовые опорные краны опираются на колонны постоянного сечения через консоли из сварного двутавра (одностенчатые консоли) или двух швеллеров (двустенчатые консоли).
Консоль рассчитывается на давление F, приложенное с эксцентриситетом е, от двух сближенных кранов, расположенных на подкрановых балках.
Швы, прикрепляющие одностенчатую консоль, рассчитываются на действие момента М = Fе и перерезывающую силу Q = F.
Швы прикрепляющие консоль, состоящую из двух швеллеров, обнимающих колонну, рассчитываются на реакции, найденные как в одноконсольной балке:
F1 = Fе/h; F2 = F(h + е)/h.
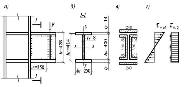
Пример 8.6. Проверить прочность сварного соединения одностенчатой консоли с колонной. Сталь класса С255. Сварка механизированная в среде СО2 сварочной проволокой марки Св-08Г2С диаметром 1,4 мм. Катет шва kf = 8 мм. К консоли приложена расчетная сосредоточенная сила F = 800 кН с эксцентриситетом (расстоянием от оси подкрановой балки до грани колонны) е = 350 мм. Размеры сечения консоли показаны на рис. 8.15.
Материал конструкций – сталь класса С255, имеющая расчетное сопротивление Ry = 24 кН/см2 при толщине свариваемых элементов от 10 до 20 мм (см. табл. 2.3);
Сварка механизированная с использованием проволоки Св-08Г2С по ГОСТ 2246-70*. Расчетные сопротивления сварных соединений при расчете: по металлу шва Rwf = 21,5 кН/см2; по металлу границы сплавления Rwz = 16,65 кН/см2 Коэффициенты проплавления, принимаемые для механизированной сварки при диаметре сварочной проволоки 1,4 мм и катетах швов 8 мм по табл. 3.4 равными βf = 0,9 и βz = 1,05. Коэффициенты условий работы соединения γwf = γwz = 1,0, конструкции γс = 1,0.
Сравниваем:
βfRwf = 0,9 ∙ 21,5 = 19,35 кН/см2 > βzRwz = 1,05 ∙ 16,65 = 17,48 кН/см2,
следовательно, сварные швы рассчитываем по металлу границы сплавления.
В месте прикрепления консоли действуют:
– изгибающий момент М = Fе = 800 ∙ 0,35 = 280 кН∙м;
– поперечная сила Q = F = 800 кН.

Рис. 8.15. Одностенчатая подкрановая консоль:
а – прикрепление консоли; б – геометрические характеристики сечения;
в – расчетные длины швов; г – эпюры напряжений в шве
Определяем геометрические характеристики сечения сварных швов в месте прикрепления консоли к колонне с учетом дефектов швов в начале и конце сварки 10 мм (рис. 8.15, в):
– суммарная расчетная длина швов, прикрепляющих один пояс:
∑l w,n = (bf – 1) + [bf – (tw + 2kf + 2 ∙ 0,5)] =
= (25 – 1) + [25 – (1 + 2 ∙ 0,8 +1)] = 45,4 cм;
– площадь сварного шва у пояса
Aw,n = βf kf ∑lw,n = 1,05 ∙ 0,8 ∙ 45,4 = 38,14 см2;
– суммарная расчетная длина швов, прикрепляющих стенку,
∑lw,ст = 2(hw – 1) = 78 см;
– площадь сварного шва у стенки
Aw,ст = βzkf ∑lw,cт = 1,05 ∙ 0,8 ∙ 78 = 65,52 см2;
– общая площадь всех сварных швов
Aw = Aw,ст + 2Aw,n = 65,52 + 2 ∙ 38,14 =141,8 см2;
– момент инерции всех сварных швов относительно оси х-х
Iw = [2βzkf (hw – 1)3] / 12 + 2[Aw.n (hf / 2)2] =
= [2 ∙ 1,05 ∙ 0,8 · (40 – 1)3] / 12 + 2 · [38,14 · (41,4 / 2)2] = 40989,9 см4;
– момент сопротивления швов
Ww = 2Jw /h = 2 ∙ 40989,9 / 42,8 = 1915,42 см3.
Срезающее напряжение в шве от М
τw,М = М/Ww = 28000 / 1915,42 = 14,62 кН/см2.
Срезающее напряжение в шве от Q
τw,Q = Q/Aw = 800 / 141,8 = 5,64 кН/см2.
Проверяем прочность сварного шва:

Прочность соединения консоли с колонной обеспечена.
Проверку напряжений в опорном сечении одностенчатой консоли допускается производить в предположении, что изгибающий момент воспринимается только полками, а поперечная сила – стенкой.
В этом случае угловые швы, прикрепляющие полки консоли, рассчитываются на усилие в полке:
Н = М/hf = 28000 / 41,4 = 676,33 кН,
где hf = h – tf = 42,8 – 1,4 = 41,4 см.
Проверяем прочность соединения:

Прочность соединения при катете шва kf = 8 мм не обеспечена.
Определяем требуемый катет шва
kf = Н/(βzlw,nRwzγwzγc) = 676,33 / 1,05 ∙ 45,4 ∙ 16,65 ∙ 1 ∙ 1 = 0,85 мм.
Принимаем катет шва, прикрепляющего пояса к колонне, kf = 9 мм.
Проверяем прочность сварных швов у стенки:

Условие выполняется.
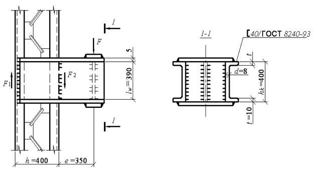
Пример 8.7. Рассчитать прикрепление консоли из двух швеллеров (рис. 8.16). Сталь класса С255. Сварка механизированная (условия сварки – по данным примера 8.6). К консоли приложена расчетная сила F = 600 кН с эксцентриситетом е = 350 мм.
Определяем изгибающий момент в основании консоли:
М = Fе = 600 ∙ 0,35 = 210 кН∙м.
Из условия прочности работы консоли на изгиб находим требуемый момент сопротивления одного швеллера:
Wx, min = M/(2Ryγc) = 21000 / (2 ∙ 24 ∙ 1) = 437,5 см3,
где Ry = 24 кН/см2 – расчетное сопротивление стали С255 при толщине
фасонного проката свыше 10 мм (за толщину фасонного проката принимается толщина полки швеллера).

Рис. 8.16. Двустенчатая подкрановая консоль
По сортаменту ГОСТ 8240-93 принимаем ближайший номер швеллера
[40, имеющего Wx = 761 cм3 > Wx, min = 437,5 см3, толщину стенки d = 8 мм, толщину пояса t = 13,5 мм.
Определяем усилия:
F1 = Fе/h = 600 ∙ 0,35 / 0,4 = 525 кН;
F2 = F(h + е)/h = 600 (0,4 + 0,35) / 0,4 = 1125 кН.
Катет шва для прикрепления консоли к наружной ветви колонны
kf1 = F1/(2βzlw1 Rwzγwzγc) = 525 / (2 ∙ 1,05 ∙ 39 ∙ 16,65 ∙ 1 ∙ 1) = 0,39 cм,
Рекомендация для Вас - Основные тенденции развития ИТУ.
где lw1 = l w2 = h – 1 = 40 – 1 = 39 см – расчетная длина одного шва.
Принимаем сварной шов с катетом kf = 5 мм, что менее d = 8 мм и более kf,min = 4 мм при механизированной сварке более толстого из свариваемых листов от 6 до 10 мм (см. табл. 3.5).
Катет шва для прикрепления консоли к внутренней ветви колонны
kf2 = F2/(2βz lw2 Rwzγwzγc) = 1125 / (2 ∙ 1,05 ∙ 39 ∙ 16,65 ∙ 1 ∙ 1) = 0,83 см.
Принимаем шов с катетом kf = 9 мм < kf,max = 1,2d = 1,2 ∙ 8 = 9,6 мм.
Прочность соединения консоли с колонной обеспечена.






















