Катодные станции
6. Катодные станции
6.1. Схемы соединений катодной станции
На рис.6.1 представлена схемы типичной станции катодной защиты (СКЗ), предназначенной для электрохимической защиты металлических сооружений. Основные признаки СКЗ, отличающие ее от других видов электрохимической защиты - наличие источника тока 1 и анодного заземлителя 2.
Электрическая энергия, необходимая для электрохимической защиты, поступает из сети переменного тока в преобразователь 1, где переменный ток выпрямляется и далее используется для защиты.

Рис.6.1. Схема соединений катодной станции. 1 - преобразователь переменного тока в постоянный; 2-анодный заземлитель; 3-защищаемый трубопровод; 4-контактные устройства; 5- кабельная линия.
Как следует из схемы соединений, выпрямленный ток от “+” источника 1 поступает на анодный заземлитель 2, затем по земле натекает на трубопровод 3, выполняя тем самым свои защитные функции, и возвращается на “-” своего источника. Контактные устройства 4 - разъемные болтовые соединения - предназначены для подключения кабельной линии 5 и для измерения потенциалов.
Кроме перечисленных узлов в катодную станцию могут входить:
- высоковольтный понижающий трансформатор для питания КС от сети напряжением более 220 В;
- ограждение из колючей проволоки вокруг преобразователя с трансформатором ( на магистальных трубопроводах);
- автоматическое отключающее устройство на питающей линии переменного тока;
Рекомендуемые материалы
- счетчик электрической энергии;
- защитный заземлитель корпуса преобразователя;
- блоки для совместной защиты ряда подземных сооружений.
На рис.6.2 показаны некоторые элементы схемы такой усложненной катодной станции.
6.2. Катодный преобразователь
Преобразователь катодной станции (рис.6.1, поз.1) часто для упрощения называют катодной станцией, что вряд ли может вызвать серьезную путаницу. Кроме того его можно назвать регулируемым выпрямителем или же по имени, присвоенному ему заводом-изготовителем.
Преобразователь в основном предназначен для
- выпрямления сетевого переменного тока;
- регулирования величины тока и его измерения.
-

Рис.6.2. Схема подключений катодной станции. 1- преобразователь катодный; 2 - шкаф вводно-учетный; ЗЗ - защитный заземлитель; АП- автоматический выключатель; Wh - счетчик электрической энергии.
Этих двух функций большей частью достаточно для задания нормального режима работы катодной станции.
На рис.6.3 приведена электрическая схема типового неавтоматического преобразователя, широко распространенного в практике электрохимической защиты.
Понижающий трансформатор Т предназначен для согласования напряжения сети 220 В с рабочим напряжением катодной станции, которое у разных типов установок колеблется от 24 до 96 В. Трансформатор имеет ряд промежуточных отводов, которые при использовании переключателя S2 позволяют ступенями изменять выходное напряжение. Трансформатор связан с выпрямителем D, собраным из силовых диодов, например, по мостовой схеме. На выходе выпрямителя включают амперметр А с внешним шунтом - калиброванным сопротивлением - на ток до 100 А.

Рис.6.3. Схема типичного преобразователя катодной станции. S1 - выключатель двухполюсный; F - плавкие предохранители; T - трансформатор понижающий с отводами; S2 - переключатель многопозиционный; D - выпрямитель мостовой; А - шунт с амперметром.
Но некоторые преобразователи могут выполнять ряд дополнительных функций:
- поддерживать в автоматическом режиме неизменным поляризационный или общий защитный потенциал на выходе катодной станции;
- снижать уровень радиопомех, возникающих при работе электронных цепей автоматической катодной станции;
- отсчитывать время работы катодной станции в режиме защиты, т.е. при обеспечении разности потенциалов труба-земля отрицательнее -0,8 В;
- работать в прерывистом режиме включение-отключение с целью использования эффекта последействия катодной поляризации.
Схема преобразователя, позволяющего плавно и автоматически регулировать ток нагрузки, приведена на рис.8.4.

Рис.8.4. Схема управляемого выпрямителя на тиристорах (а) и временнáя диаграмма тока нагрузки тиристора (б).
Напомним, что тиристор - полупроводниковый прибор, так же как и диод, имеющий одностороннюю проводимость, т.е. обратный ток его очень мал и им пренебрегают. Но в отличие от диода, который открывается практически при нулевом напряжении (при U = 0,4...0,7 В), тиристор не работает до тех пор, пока на его управляющий электрод не будет подан сигнал. Чем больше задержка во времени (по фазе) с подачей управляющего сигнала, тем меньше количество электричества, прошедшее через тиристор. На рис.8.4,б заштрихованная область - интегральное значение выпрямленного тока. При a = 0 тиристор работает в режиме обыкновенного диода.
Формирование управляющего импульса и обеспечение его сдвига по фазе выполняется автоматически в зависимости от заданного уровня защиты трубопровода. Кратко этот процесс можно описать следующим образом.
А) Заданная при пуске катодной станции величина защитного потенциала как эталона беспрерывно сравнивается с фактическим значением потенциала на измерительном электроде (в точке дренажа). Как только нарушается их равновесие, возникает сигнал рассогласования.
Б) Сигнал рассогласования включает фазосдвигающее устройство, меняющее в ту или иную сторону угол отсечки a, т.е. устанавливает момент подачи управляющего импульса на тиристор.
В) Подается команда о формировании управляющего импульса, который тут же поступает на управляющий электрод тиристора.
Г) Ток катодной станции изменяется и равновесие восстанавливается.
Примерно так работают преобразователи типа ОПС-2 Гайского завода “Электропреобразователь”.
8.3. Конструкции анодных заземлителей
Ниже приведен ряд вариантов устройства анодных заземлителей, выбор которых определяется технико-экономическими соображениями при проектировании системы катодной защиты.
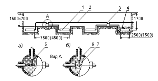
Наиболее простая и дешевая конструкция анодного заземлителя показана на рис.8.5. Стержни (электроды) анодного заземлителя 1 укладываются в траншею на глубину, превышающую глубину промерзания грунта. При этом стержень должен иметь постель и присыпку из коксовой мелочи 4, о назначении которой - несколько позже. Все электроды посредством тщательно изолированных от земли контактных зажимов 3 электрически подсоединяются к общему кабелю 2, выходящему к контактному устройству (КУ) анодного заземлителя.

Рис.8.5. Устройство горизонтального заземлителя из графитопластовых электродов типа ЭГТ-2500 (1500). 1- трубчатый электрод; 2- кабель одножильный в виниловой оболочке АВВГ 1х25; 3- разветвительная коробка со скруткой (а) или плашечным зажимом (б); 4- коксовая засыпка в приямке 3000 х 400; 5- кабельная или битумная заливка; 6- пластмассовый корпус коробки; 7- плашечный зажим.

Рис.8.6. Вертикальный анодный заземлитель из графитопластовых электродов ЭГТ-2500(1500). Обозначения - на рис.8.5.
Если нет возможности провести открытые земляные работы по устройству траншеи, например, из-за стесненных городских условий, имея ввиду, что расстояние между электродами может превышать 7 м, то изготавливают вертикальный анодный заземлитель, показанный на рис.8.6, где не требуется траншейные, но необходимы уже более дорогие работы - бурение скважин.

Рис.8.7. Варианты а и б глубинного анодного заземлителя из электродов типа ЭГТ-2500. 1- направляющий оголовок; 2- ворот для опуска колонны; 3- кабель к “+” преобразователя; 4- стальной провод ПСО-4; 5- электрод ЭГТ-2500; 6- межэлектродная перемычка кабелем АВВГ 1х25; 7- болтовое соединение на стыке двух электродов; 8- соединительный ниппель на резьбе из графитопласта.
Более сложный анодный заземлитель - глубинный, выполненный из тех же электродов типа ЭГТ, представлен на рис.8.7. Глубинные анодные заземлители - их длина обычно не превышает 100 м - применяют в стесненных условиях городов, когда приповерхностные заземлители разместить нет возможности. Это диктуется в основном тем, что анодный заземлитель должен быть удален от всех подземных коммуникаций на достаточно большое расстояние.
Трубчатые графитопластовые электроды 5 свинчивают посредством графитопластовых ниппелей 8 в колонну, которую по мере наращивания длины опускают в скважину с помощью троса 4 и лебедки 2. Электроды при этом электрически соединяют между собой отрезками кабелей 6, а контактные узлы 7 тщательно изолируют. Ниппель 8 имеет плоскую проушину с отверстием для болтового контактного соединения электрода с наконечниками кабелей.

Рис.8.8. Глубинный анодный заземлитель из стальной трубы. 1-крышка; 2- клеммник; 3- хомут; 4- направляющая труба; 5- стальная труба; 6- кабель; 7- накладки приварные; 8- контактный узел; 9- кабель питания.
После опуска колонны до проектной отметки L скважину заполняют коксовой мелочью. Иногда в скважину перед этим опускают перфорированную пластмассовую трубку с выходом на дневную поверхность, предназначенную для отвода газообразных продуктов коррозии, которые образуются при растворении графита. С той же целью верхнюю часть скважины часто заполняют гравием.
Если скважина глубокая (более 50 м), то для бурения устанавливают направляющий оголовок 1 по варианту рис.8.7,б.
Возможно применение приповерхностных и глубинных заземлителей из стальных электродов. Вариант такого анодного заземлителя приведен на рис.8.8. Одновременно с бурением в скважину опускают обсадную колонну 5, которая предназначена служить электродом заземлителя. Трубы колонны соединяют между собой привариваемыми накладками 7. В двух-трех местах на внутренней поверхности труб колонны устраивают контактные узлы 8, от которых на общий клеммник 2 выводят питающие кабели 6. Узлы 8 тщательно изолируют от воды, которая в конце концов попадет внутрь трубы.
Возможен еще ряд вариантов анодных заземлителей. Так, в силу некоторых хозяйственных причин часто в качестве электродов используют различный металлолом, в частности, рельсы, трубы (сталь-ные и чугунные) , уголковую сталь и т.д.
8.4. Материал анодных заземлителей
Основное требование, предъявляемое к анодному заземлителю, - малая скорость анодного растворения. В соответствии с законом Фарадея (см.формулу 2.8) 1 ампер анодного тока за 1 год растворяет около 10 кг железа. Так, 750 катодных станций г.Волгограда со средним током 20 А каждой из них и суммарным 15000 А за один лишь только год превратят в ничто 150000 кг железа. Поэтому наряду со сталью, которая изначально применялась при катодной защите и все еще применяется сейчас, был создан ряд материалов, специально предназначенных для изготовления слаборастворимых анодов катодных станций.
В табл.8.1 приведен перечень основных материалов, используемых для анодных заземлителей, а ниже даны комментарии по каждому из них.
8.4.1. Cталь и чугун
По своей долговечности сталь - наихудший из всех применяемых материалов. Однако, к сожалению, стальные анодные заземлители широко распространены в отечественной практике. Причем причина здесь единственная - относительная доступность материала.
Таблица 8.1
| Анодный материал | Скорость растворения, q , кг/(А.год) |
| Сталь | 10 |
| Чугун | 4...5 |
| Графит | 0,8...1,5 |
| Ферросилид | 0,1...0.3 |
| Свинец+серебро | 0,04...0,08 |
| Магнетит | 0.002 |
| Платина | ~ 0 |
Проблема применения стальных электродов усугубляется еще и тем, что через 1...2 года стальной заземлитель может прекратить свою работу, далеко еще не растворившись полностью. Особенно это касается вертикальных электродов из труб. Если труба при ее установке плотно вбивается в пробуренную скважину, то твердые продукты коррозии, беспрерывно образующиеся в процессе растворения, постепенно уплотняясь, создают слой высокого электрического сопротивления, который вызывает медленное, но верное уменьшение рабочего тока электрода до полного его прекращения. Все попытки выдернуть электрод из земли для ремонта, как правило, безуспешны, чему препятствует мощный и далеко не гладкий слой ржавчины. Это и понятно, если учесть, что объем ржавчины более чем в 3 раза превышает первоначальный объем растворившегося стального изделия.
Эра стальных анодных заземлителей все же заканчивается, тем более что существует ряд альтернативных материалов. Но если все же есть обоснованная необходимость применения стальных заземлителей хотя бы в малой степени приемлемым сроком службы, то их устраивают с коксовой засыпкой.
Целесообразность применения коксовой засыпки для продления срока службы анодных заземлителей в зарубежной практике давно не обсуждается и эта технология используется повсеместно.
Кокс - твердый остаток с высоким содержанием углерода, образующийся при нагревании различных видов ископаемого топлива до высоких температур без доступа кислорода. Кокс из каменоугольного и нефтяного пека является сырьем для изготовления электродов плавильных печей.
Для обсыпки заземлителей используется коксовая крошка размером до 8 мм, которая послойно утрамбовывается вокруг электрода. Плотность коксовой крошки примерно 0,6 т/м3.
Эффект снижения скорости растворения стального электрода объясняется следующим. Благодаря углероду, кокс - проводник с электронной проводимостью. Поэтому в точке контакта электрической пары кокс-сталь нет электролитического растворения. Растворение имеет место при контакте сталь-вода и кокс-вода. Но кокс, как и уголь растворяется в 10 раз медленнее стали (см.табл.8.1). Слой из коксовой крошки должен уменьшить долю тока, непосредственно стекающего со стальной поверхности в электролит. Большая часть тока, перетекая с электрода на контактирующие с ним зерна кокса, стекает в электролит уже не со стальной поверхности, а с поверхности зерен слаборастворяющегося кокса, что и является причиной увеличения срока службы анодного заземлителя.
Однако в отечественной практике до последнего времени бытовала иная точка зрения: техническими нормами коксовую засыпку разрешается заменять глинистым раствором.
Но эта замена далеко не равноценная и даже напротив. Действительно, плотный слой глины будет способствовать возникновению плотного слоя ржавчины, приводящего, как это сказано выше, к запиранию электрода и прекращению тока. Коксовая крошка, к тому же, способствует образованию рыхлого слоя ржавчины, заполняющего пустоты между зернами и не препятствующего протеканию тока. Увеличение стоимости анодного заземлителя при применении коксовой засыпки компенсируется увеличением срока службы как за счет уменьшения скорости растворения, так и за счет повышения работоспособности заземлителя.
Чугунные трубы как аноды имеют более низкую скорость растворения, чем стальные. Типовыми рабочими чертежами альбома серии 5.905-6 они рекомендуются для применения.
Выпускаются специальные стальные анодные заземлители в комплекте с коксовым наполнителем. Так, анодный заземлитель типа АК-1 состоит из стального стержня диаметром 50 мм, длиной 1500 мм, массой 21 кг, опрессованного коксовым наполнителем, который помещен в кожух из жести. Диаметр электрода в кожухе -185 мм, длина -1420 мм, масса - 60 кг. Такой заземлитель не желательно применять во влажных грунтах.
Коксобетонный заземлитель типа АКЦ, напротив, предназначен для грунтов с повышенной влажностью. Стальной стержень диаметром 50 мм замоноличен в бетон, наполнителем которого является коксовая крошка. Габариты электрода 150х150х1700 мм, масса - 77 кг.
8.4.2. Графит
Графитовые электроды в свое время были названы “ нерастворимыми”, но позже, как это следует из табл.8.1, потеряли свой приоритет, однако все еще широко применяются.
Графит имеет электронную проводимость с удельным электрическим сопротивлением (2...5)10-5 Ом.м, плотностью 1600...2100 кг/м3. Скорость растворения графита, как это видно из рис.8.9, слабо зависит от плотности анодного тока.
Слабая растворимость графита, а также других рассмотренных ниже “нерастворимых” электродов, объясняется тем, что при окислительно-восстановительном процессе на аноде происходит образование газов по реакциям
2Н2О - 2е= О2 + 4Н+; (8.1)
2Сl- +2е = Cl2 .
Пропорциональное соотношение объемов выделяющихся газов - кислорода, хлора и углекислоты - определяется химическим составом окружающей среды. Так, в морской воде расход графита меньше, чем в грунте, поскольку графит C реагирует с кислотой НClО в соответствии с уравнениями
Cl2 + H2O = HCl + HСlO; (8.2)
C + 2HClO ® CO2 + 2HCl.
А поскольку значительная часть хлора отводится с проточной водой, то количество хлорноватистой кислоты НСlО невелико и поэтому невелик материальный ущерб от непосредственной коррозии анода по сравнению с коррозией в пресной воде и грунте, где преобладает прямое окисление с участием кислорода по уравнению
C + O2 ® CO2. (8.3)
Обычно используются графитовые и угольные электроды, предназначенные для дуговых печей в электрометаллургии. Для увеличения стойкости во влажных грунтах и в средах с высоким содержанием сульфат-ионов графитовые электроды пропитывают связующим веществом, например, фенолформальдегидной смолой, а также помещают в коксовую крошку.
Коксовая засыпка дает особо ощутимый эффект - скорость растворения графита снижается в несколько раз. Так, если без коксовой засыпки потеря массы составляет q =1,2кг/(А.год), то с засыпкой q = 0,2 кг/(А.год).
Коксовая засыпка в паре с графитовыми или угольными электродами проявляет еще одно свое важное свойство: способствует отводу газообразных продуктов коррозии. Если их не отводить организованно, то могут возникнуть пазухи, пустоты, приводящие к неравномерности растворения электрода, увеличению его сопротивления и даже к прекращению работы.
Можно ожидать образование кислорода со скоростью 1,83 м3/(А.год). Образующийся хлор - ядовитый и агрессивный газ, ускоряющий разрушение анода и других элементов заземлителя, в том числе, пластмассовых изолирующих оболочек питающих кабелей. Его тем более надо поскорее удалить.
При растворении стальных электродов газ практически не выделяется и поэтому материальные затраты на коррозию соответствуют закону Фарадея.

Рис.8.9. Скорость коррозии анодных заземлителей. 1- графитовый электрод без коксовой засыпки; 2- ферросилидовый электрод без коксовой засыпки; 3- ферросилидовый электрод с коксовой засыпкой.
Отечественной промышленностью выпускаются и нашли широкое применение в стране графитопластовые электроды марки ЭГТ, которые выполняются в виде трубы с внешним диаметром 115 мм, внутренним -90мм, длиной от 1,5 до 3 м. Средний вес 3-х метрового электрода составляет 22 кг.
Основым компонентом графитопласта является искусственный графит (82%), связующим служит синтетическая смола в виде пресс-порошка. Смесь перемешивают, плавят при температуре 140оС и изготавливают трубу с внутренней резьбой на концах (см.рис.8.7, а также альбомы типовых чертежей серии 5.905-6 и 8.402-5 “Узлы и детали электрохимической защиты”).
Графитопласт имеет удельное электрическое сопротивление (8...13)10-5 Ом.м, что несколько больше, чем у графитовых электродов. Предельный нагрузочный ток электрода длиной 3 м составляет 5 А или 4,5 А/м2, в то время как графитовые электроды допускают плотность тока 20 А/м2 и более.
Основной недостаток графитовых и, особенно, графитопластовых электродов - хрупкость. Образующиеся при монтаже трещины и повреждения в графитопластовой трубе проявляются затем как очаги механических разрушений и локальной коррозии. К тому же графитопласт “разваливается” при большой плотности тока, т.е. пластмассовая матрица в этом случае уже не в состоянии удержать частички графита.
8.4.3. Ферросилид
Наиболее широкое распространение получили анодные заземлители из железокремнистых (ферросилидовых) электродов. В состав железокремнистых сплавов С14...С17 входит 14...17% кремния (Si) из кварцевого песка. Плотность ферросилида 7000...7200 кг/м3. Он очень хрупок и трудно поддается механической обработке резанием.
Малая скорость растворения электрода объясняется образованием на его поверхности защитной пленки, состоящей из окисла SiO2, который способствует выделению кислорода взамен выделения ионов железа. В морской воде и солончаковых грунтах образование пассивирующей пленки SiO2 затруднено. В этом случае больший эффект дают ферросилиды с добавкой молибдена (до 4%) или хрома.
Скорость растворения ферросилида более существенно зависит от плотности тока, чем графита. Так, из рис.8.9 следует, что скорость растворения ферросилида растет с увеличением плотности анодного тока. Как для графита, так и для ферросилида скорость растворения заметно снижается при использовании коксовой засыпки. Рекомендуемая плотность анодного тока - 10...50 А/м2 .
Ввиду малой скорости растворения, ферросилидовые аноды можно было бы укладывать непосредственно в грунт, но при обязательной организации отвода газообразных продуктов.

Рис.8.10. Контактный узел ферросилидового электрода.1- кабель в двойной виниловой оболочке; 2- электрод ферросилидовый; 3- герметизирующая кабельная заливка; 4- полиэтиленовая трубка; 5- фторопластовая шайба; 6- эпоксидная смола; 7- свинцовая зачеканка; 8 - место пайки; 9- стальной вкладыш, заделанный в тело электрода; 10- виниловая трубка; 11- полиэтиленовая лента.
В отечественной практике применяют готовые для установки комплекты ферросилидовых электродов. Так, в комплект анодного заземлителя АЗМ-2 входят 24 электрода, 4 контактные коробки и 60 м соединительного кабеля. Электрод диаметром 65 мм и длиной 1500 мм с двух концов имеет кабельные выводы, тщательно изолированные от окружающей среды. На рис.8.10 даны варианты подсоединения кабелей к ферросилидовым электродам. При этом узел а используется в анодах типа АЗМ-2 и пригоден для сборки колонн глубинного заземлителя, узлы б и в - для индивидуального применения.
Кроме анодного заземлителя АЗМ-2 выпускаются комплектные ферросилидовые заземлители в кожухе с коксовым наполнителем типа АК-3, АК-1Г, АК-2Г и другие. Габариты электрода АК-3 в сборе: диаметр - 185 мм, длина - 1420 мм, масса - 53 кг, масса ферросилидового стержня -12 кг, его диаметр - 40 мм.
8.4.4. Свинец
Свинец чистый растворяется со скоростью в три раза большей, чем сталь. Действительно, если для стали по формуле (2.7) q = 9,12 кг/(А.год), то для свинца при его атомной массе М = 207,2 имеем
q = 3600 . 207,2 / (2 . 96500) = 3,8673 г/(А.ч) или
q = 3,8673 . 365 . 24.0,001 = 33,8 кг/(А.год).
Однако совсем небольшое количество серебра делает такой сплав практически “нерастворяющимся”. Действительно, сплав на основе свинца, содержащий всего лишь 1% серебра и 6% сурьмы, снижает скорость растворения до 0,05 кг/(А.год). Причем допускаемая токовая нагрузка таких электродов весьма существенна и может достигать 350 А/м2.
Этот эффект объясняется образованием на поверхности анода плотного хорошо проводящего окисного слоя PbO2, который и является токоотдающей поверхностью. При отсутствии легирующих добавок в виде серебра этот слой становится пористым и в работу включается нижележащий металлический свинец, который быстро растворяется.
Основное требование к условиям работы свинцового анода Pb+Ag - среда должна быть с большим содержанием хлора, что далеко не всегда выполнимо для условий подземных трубопроводов. Эти электроды не нашли применения для подземных трубопроводов.
8.4.5. Магнетит
Магнетит, формула которого Fe3 O4 , можно отнести к окислам железа, т.е. к ржавчине - конечному продукту коррозии. Поэтому как можно от такого вещества ожидать еще какой-либо потери массы при анодной нагрузке, если уже все потеряно? К тому же магнетит не диэлектрик, имеет электронную проводимость и может использоваться в электрических цепях. Его удельное электрическое сопротивление велико, но сравнимо с удельным сопротивлением графита, т.е. порядка r = (5...10).10-5 Ом.м.
Магнетит встречается в виде минерала и добывается как железная руда. Гора Магнитная у г.Магнитогорска - теперь уже бывшая - состояла из магнетита.
Изделия из магнетита отливают при высокой температуре со специальными добавками. Литой электрод гладкий, твердый и плотный как стекло.
Расход материала под токовой нагрузкой чрезвычайно мал и составляет 1...2 г / (A.год), т.е. в 1000 раз меньше, чем у графита и в 10000 раз меньше, чем у железа. Рабочая плотность тока - 90...200 А/м2.
Область применения - повсеместно. К сожалению, отечественной промышленностью магнетитовые электроды пока не освоены.
8.4.6. Платина
Несмотря на кажущуюся экзотичность такого материала, особенно при защите коммунальных трубопроводов, этот материал находит применение, например, для защиты морских судов и портовых сооружений, а также при катодной защите всевозможных резервуаров, аппаратов, насосов и пр. Однако применяют скорее не платиновые, а платинированные электроды.
Электроды на основе платины изготавливают из титана, ниобия или тантала, на которые, как на пассивные держатели, наносят электрохимическим или другим способом тонкий слой платины ( толщиной 2,5...10 мкм), который и является рабочей частью поверхности электрода. Причем этот слой может быть в виде обособленных островков, лент или поясков на держателе.
Расход платины весьма мал, а эффект чрезвычайно велик. Действительно, предельно допустимая плотность анодного тока с островков платины может достигать 2000 А/м2, а потеря массы платины - всего лишь 4...10 мг/(А.год). При этом титан и особенно ниобий, благодаря непроводящим окисным пленкам, возникающим при их работе, функционируют как абсолютно нерастворяющиеся части такого электрода. Лишь только при напряжении 10...14 В для титана или при 50...100 В для ниобия происходит пробой пассивирующего слоя на держателе и электрод, к сожалению, после этого быстро разрушается. Однако это легко контролировать и недопустить.
Анодные заземлители на основе платинированного титана ждут своего применения при защите коммунальных трубопроводов.
Известны попытки создания и других комбинированных анодов на основе вентильных металлов типа титан с разнообразными окисными покрытиями, вплоть до окислов железа. Такие аноды как окисно-рутениевые (окисел рутения на титановом держателе) с успехом применяются в электролитических ваннах в гальванических цехах. К сожалению, эти электроды не терпят загрязненных сред, и тем более, грунтовых условий.
8.5. Расчет катодной защиты
8.5.1. Постановка задачи
Современный метод расчета электрохимической защиты, в том числе катодной, приведен в главе 6, а также изложен в работах В.Н.Остапенко, В.В.Луковича, В.Т.Иванова, Ю.Я.Иосселя, их учеников и последователей. Наряду с этим можно использовать при необходимости в оценочных расчетах простейшие аналитические соотношения.
Трубопровод с катодной защитой теория относит, как известно, к активным проводникам с утечкой. Для бесконечно длинного проводника с утечкой - аналога магистрального трубопровода - с сосредоточенной токовой нагрузкой имеем
U(L) =U(0)e--aL , (8.4)
где L - координата исследуемой точки вдоль оси трубопровода с началом отсчета в точке подключения токовой нагрузки; U(L) - разность потенциалов труба-земля в исследуемой точке; U(0) - разность потенциалов в начале координатной оси; a - коэффициент затухания или коэффициент утечки.
На рис.8.11 показан характер изменения экспоненциальной функции e -aL. Экспонента с отрицательным аргументом - это затухающая функция, описывающая в технике множество аналогичных процессов. В теории электрохимической защиты зависимость (8.4) широко применялась ранее. При ее использовании следует иметь ввиду соотношения:
________
a = Ö Rпр / Rпер ; (8.5)
U(0)= a I Rиз ; (8.6)
Rпер = Rиз + br , (8.7)
где Rпр - удельное продольное сопротивление трубопровода, Ом/м; Rпер - удельное переходное сопротивление трубопровода, Ом.м; Rиз - удельное (линейное) сопротивление изоляции, Ом.м; r - удельное сопротивление грунта, Ом.м; I - ток катодной станции; b - коэффициент, приближенно учитывающий поле, вызванное токами трубопровода в земле (b = 1,4...2,0 при d = 100...1000 мм).

Рис.8.11. Эпюра разности потенциалов труба-земля U(L) и плотности тока j(L) при экспоненциальном изменении затухающей функции; Lзащ - плечо защиты катодной станции; Uзащ.min - минимальный защитный потенциал.
Следует подчеркнуть, что все другие проявления поля, например, от анодного заземлителя или соседнего трубопровода, игнорируются, т.е. везде полагают j з = 0.
Несмотря на то, что формула (8.4) весьма привлекательна по своей простоте, ею следует пользоваться лишь для оценочных расчетов. Все расчеты катодной защиты будем выполнять с использованием программ комплекса АРМ ЭХЗ-6П.
8.5.2. Расчет влияния анодного заземлителя на пассивный трубопровод
Положение анодного заземлителя существенно влияет на распределение защитного потенциала вдоль трубопровода и протяженность защитной зоны катодной станции.
Ток анодного заземлителя, стекая в землю от “плюса” своего источника, направляется в конечном счете к заземленному“минусу”, каковым в обычных условиях является защищаемый трубопровод. Однако в поле данного анодного заземлителя может оказаться и другой, не включенный в систему катодной защиты, трубопровод. Такой трубопровод будем называть пассивным или соседним, в то время как трубопровод, находящийся в системе катодной защиты, - активным.
Для анализа влияния поля токов анодного заземлителя на пассивный трубопровод мысленно отнесем защищаемый или активный трубопровод в бесконечность. Этим мы - для чистоты анализа - отделим исследуемый заземлитель от всех других активных, т.е. нагруженных током, элементов в земле.
Поле токов обособленного заземлителя (нам пока ничто не мешает заменить реальный заземлитель точечным, расположенным на поверхности земли) было бы строго радиальным, т.е. линии тока, как лучи светящейся точки, были бы направлены из центра заземлителя по прямой в бесконечность. Но это верно лишь при отсутствии в земле каких-либо препятствий и неоднородностей. Наиболее “мощная” неоднородность - соседний, пассивный трубопровод .
Пусть обособленный анодный заземлитель установлен вблизи пассивного трубопровода (рис.8.12). Такая ситуация не может не встретиться на практике: катодно защищается газопровод и одновременно подвержен влиянию токов анодного заземлителя соседний водопровод. Как только что условились, влиянием поля газопровода на водопровод пока пренебрежем.
Конфигурацию эпюры смещения потенциала DU(L), представленной на рис.8.12, можно в какой-то степени предугадать, даже не зная аналитической записи этой кривой.

Рис.8.12. Эпюры смещения потенциала трубопровода (1) при близко расположенном (а) и удаленном (б) анодном заземлителе (2).
Действительно, ток натекает на трубопровод вблизи анодного заземлителя, а стекает - вдалеке. При этом, во-первых, наоборот быть не может, и, во-вторых, если ток натекает, то он где-то и стекает. Отсюда и поведение DU как функции продольной координаты L :
- вблизи заземлителя всегда DU < 0, поскольку плотность натекающего из земли тока ( j ) имеет отрицательный знак и к тому же DU = Rиз. j;
- вдалеке от заземлителя на трубопроводе возникает анодная зона, т.е. j > 0 и DU > 0;
- общая площадь эпюры DU(L), вернее, эпюры j(L), должна быть равной нулю, что означает баланс токов: сколько натекает, сколько же стекает (сравни заштрихованные части “+” и “-” рис.8.12). Следовательно,
ток анодного заземлителя разрушает пассивный трубопровод на некотором удалении от заземлителя.
Это первый практически важный вывод.
Сравним, далее, эпюры а и б рис.8.12 с точки зрения влияния расстояния анодного заземлителя от трубопровода. Из графиков видно, что с удалением анодного заземлителя:
- протяженность катодной зоны или зоны натекания увеличивается и “нулевая” точка Lo удаляется;
- пик потенциала DUmax в ближайшей к заземлителю точке уменьшается.
Действительно, если взять предельный по своей малой вероятности случай - горизонтальный заземлитель уложен в одной траншее с трубопроводом -, то ток заземлителя, стекая с него, будет тут же натекать на ближайший участок трубопровода. Зона натекания будет предельно мала, а пик потенциала, естественно, максимальный.
Если же заземлитель начать удалять в бесконечность (ya ® ¥ ), то фронт натекания, т.е. протяженность катодного участка, будет явно увеличиваться. При этом увеличение зоны натекания приведет к уменьшению плотности тока натекания, если, разумеется, мы экспериментируем с заземлителем, ток которого неизменен по величине. Именно поэтому потенциал DUmax с увеличением ya уменьшается.
При удалении заземлителя в бесконечность поле токов, вызванное заземлителем, исчезнет и, следовательно, везде будет DU ® 0.
На рис.8.13 показан характер изменения пикового потенциала DUmax в зависимости от расстояния между заземлителем и трубопроводом ya. Расчет выполнен при I = 10 А, r = 40 Ом.м, d = 200 х 6 мм, Rиз = 50 Ом.м.
При уа > 200 м влиянием анодного заземлителя можно пренебречь и считать его удаленным в бесконечность.
Этот вывод относится к типичному случаю с протяженным, несетевым трубопроводом. Для реальной трубопроводной сети количественной анализ влияния анодного заземлителя можно провести с помощью программы EZR комплекса АРМ ЭХЗ-5П.
Расстояние от анодного заземлителя до любого трубопровода в пределах ya = 150...250 м давно выбрано практикой как оптимальное для магистральных трубопроводов. Для сетевых трубопроводов удовлетворить этому требованию не удается ввиду стесненных условий городов.
Другая кривая рис.8.13 дает представление о протяженности катодной зоны на трубопроводе. Расстояние до границы раздела катодной и анодной зон ( Lo ) в трубопроводных сетях обычно Lo = 200...300 м, в то время как для магистральных трубопроводов Lo = 600...800 м.

Рис.8.13. Влияние расстояния между анодным заземлителем и трубопроводом уа на величину смещения потенциала в ближайшей к заземлителю точке трубопровода DUmax и на протяженность плеча натекания Lo.
8.5.3. Расчет влияния анодного заземлителя на активный трубопровод
Рассмотрим далее задачу с анодным заземлителем вблизи катодно защищенного или активного трубопровода. Разобьем общую задачу на две и представим себе расчетные схемы:
а)“+” катодной станции подключен к анодному заземлителю, “-” отнесен в бесконечность;
б)”-” катодной станции подключен к трубопроводу, “+” отнесен в бесконечность.
Используя принцип суперпозиции или наложения, можно записать
DU = DUк +DUa , (8.8)
где DUа, DUк - смещение потенциала трубопровода, вызванное токовой нагрузкой, приложенной соответственно к анодному заземлителю и к трубопроводу; DU - действительное защитное смещение потенциала трубопровода.


Кривая DUа на рис.8.14,а по характеру ничем не отличаются от кривых рис.8.13, а кривая DUк (б) может быть и экспонентой, как это упоминалось выше. Третья кривая (в) получена суммированием соответствующих ординат первых двух.
Сопоставляя эпюры, следует сделать, два вывода. Близко расположенный анодный заземлитель:
- увеличивает пик потенциала в ближайшей точке трубопровода;
- уменьшает защитный потенциал вдали от заземлителя.
Эти особенности являются дополнительными причинами малой протяженности зоны действия катодных станций в трубопроводных сетях по сравнению с магистральными трубопроводами.
Основная причина, следует напомнить, связана с низким переходным сопротивлением сетевых трубопроводов за счет естественных заземлений.
Однако на практике - при защите магистральных трубопроводов- уа увеличивают до 300 м, что объясняют желанием снизить до предела пик потенциала вблизи заземлителя. Но, как отмечалось выше, при уа >200 м влиянием анодного заземлителя вообще можно пренебречь.
Из рис.8.15 видно, что чем хуже качество изоляции, а также чем ближе анодный заземлитель, тем меньше плечо защиты. Так, при плохой изоляции Rиз = 50 Ом.м и расстоянии ya =10 м плечо защиты недопустимо мало и составляет всего лишь Lзащ = 65 м, в то время как при Rиз = 500 Ом.м и том же значении ya зона действия примерно в 10 раз больше.
На рис.8.15 показано, как влияет ya - в совокупности с качеством изоляции - на протяженность плеча защиты. Расчет выполнен при r = 40 Ом.м, d = 200x6 мм при условии, что в точке дренажа - она расположена против анодного заземлителя - защитный потенциал равен максимальному защитному, т.е. Uзащ = Uзащ.max = -2,5 В, а в конце плеча защиты - минимальному защитному Uзащ = Uзащ.min = -0,85 В.
Для городских сетей, где трубопроводы с Rиз = 50 Ом.м - обычная практика, было бы очень хорошо, как это следует из графика рис.8.15, относить заземлитель на расстояние уа >60 м.



Отсюда и несравнимые по величине фактические (они же теоретические) значения плеча защиты для сетевых и магистральных трубопроводов:
- сетевые при уа= 30...100 м Lзащ = 150...1500 м;
- магистральные при уа=150...250 м Lзащ = 4000...20000 м.
Для стесненных городских условий реально ориентироваться на интервал уа =30...50 м.
Для магистральных трубопроводов, для которых реально значение Rиз = 500 Ом.м, напротив, вполне приемлемо расстояние уа = 100 м, поскольку при дальнейшем увеличении уа плечо Lзащ уже увеличивается слабо.
Приведенные значения Lзащ используют при ориентировочных оценках параметров катодной защиты и затем уточняют расчетом.
И еще одно немаловажное замечание: чем меньше удельное сопротивление грунта r, тем ближе можно устанавливать анодный заземлитель. Действительно, в предельном случае, когда r ® 0, поле в земле исчезает (j з ® 0) и, следовательно, исчезает составляющая DUa в формуле (8.8). Так, при r < 10 Ом.м можно допустить даже уа = 10 м.
8.5.4. Анодный заземлитель в трубопроводной сети
Пусть вблизи анодного заземлителя находятся как активный (защищаемый), так и пассивный (соседний) трубопроводы. Расположим анодный заземлитель произвольно относительно точки дренажа так, как показано на рис.8.16.

Рис.8.16. Активный Та и пассивный Тп трубопроводы в поле токов анодного заземлителя Ан катодной станции Iскз.
Часть тока анодного заземлителя, обозначенная на схеме jп , попадает на пассивный трубопровод, а другая часть jа идет транзитом на защиту активного. Ток jп, стекая затем с трубопровода Тп , создает на нем вблизи точки дренажа анодную зону. При этом имеется ввиду точка дренажа на защищаемом (активном) трубопроводе.
Разумеется, ток jп , после своего разрушительного действия, по земле возвращается на активный трубопровод и, реабилитируя себя, участвует в его защите.
Итак, как и следовало ожидать, на пассивном трубопроводе возникают вблизи анодного заземлителя - катодная зона, вблизи точки дренажа - анодная.
Эффект появления анодной зоны, вызываемой анодным заземлителем, встречается на практике часто и ликвидируется, как правило, путем включения дренажной перемычки Rдр (рис.8.16). В этом случае ток отводится “организованно”, т.е. не через землю, а по кабелю.
В реальных условиях могут сложиться более сложные ситуации и их анализ проводят, чередуя численные методы расчета (с применением компьютерных программ АРМ ЭХЗ-5П ) с полевыми измерениями.
8.6. Расчет анодного заземлителя
Расчет выполняется при условии, что ток катодной станции известен, а также известны типоразмеры выпускаемых промышленностью катодных преобразователей.
8.6.1. Сопротивление растеканию электрода
Под сопротивлением растеканию R понимают частное от деления потенциала заземлителя j относительно бесконечно удаленной точки земли на величину его тока I. Фактически это входное сопротивление “по далекой земле” Z (см.формулу (6.37)), если заземлитель рассматривать как эквивалентный трубопровод.
Пусть, например, электрод имеет сферическую форму радиуса r и наполовину погружен в землю с удельным электрическим сопротивлением r . Электрод создает радиальное электрическое поле, напряженность которого Е на радиусе r определяется законом Ома
E = r j = - dj(r) / dr , (8.9)
где j - плотность тока в земле. При токе I электрода плотность тока на поверхности полусферы будет равна
j = I / S = I / (2 p r2) . (8.10)
Потенциал земли - это напряжение между точкой с координатой r и бесконечно удаленной точкой земли, где поле отсутствует, т.е.
(8.11)
Потенциал электрода j будет отличаться от потенциала земли j(r) в ближайшей к нему точке падением напряжения U на приграничном слое между металлом и электролитом, т.е. - при отсутствии изоляции на поверхности электрода - на поляризационном сопротивлении металла электрода
j = j(r) + Uпол . (8.12)
При расчете анодных заземлителей составляющей Uпол пренебрегают ввиду малости величины удельного анодного поляризационного сопротивления (Ра = 0,05...0,5 Ом.м2). Поэтому для сопротивления току на участке между поверхностью электрода и бесконечно уделенной точкой земли или сопротивления растеканию полусферического электрода радиуса r - после интегрирования (8.11) с учетом (8.10) - получим
R = j(r) / I = r / (2pr) . (8.13)
Сопротивление растеканию более сложных электродов вычисляют по приближенным формулам:
- вертикальный стержень
__________________
R = r / (2pL) ln (2L / dÖ (4 h + L) / (4 h + L) ); (8.14)
- горизонтальный стержень
R = r / (2pL) ln(L2 / ( hd)) (8.15)
при d<< L, h<<L ,
где L - длина стержня, м; h - глубина заложения до верха, м; d - диаметр стержня, м.

Рис.8.17. Эпюры плотности тока вдоль анода с демонстрацией “краевого эффекта”. Указаны числовые значения плотности тока в характерных точках.
На рис.8.17 приведены результаты сравнительного расчета величины R по формулам (8.14) и (8.15). Очевидно, что от положения стержня величина сопротивления растеканию мало зависит.
Для дальнейшего следует еще раз отметить, что сопротивление растеканию прямопропорционально удельному сопротивлению грунта.
На этом же рисунке приведены эпюры плотности тока вдоль стержней. Отмечается известный в теории поля “краевой эффект”, когда на концах заряженного стержня плотность зарядов существенно больше, чем в средине. В ситуации с анодным заземлителем это означает, что стержень растворяется на концах активнее и благодаря этому будет в процессе работы заостряться.
Расчет поля токов выполнен в соответствии с методикой главы 6 по программам EZR и EZA.
8.6.2. Сопротивление растеканию группы электродов
При объединении электродов в общий заземлитель “краевой эффект” переносится на крайние электроды, сопротивление растеканию которых оказывается меньше, чем средних, вследствие чего крайние электроды будут более нагружены. Поэтому, если Rзаз - общее сопротивление заземлителя, состоящего из n стержней, а R - сопротивление отдельного стержня, то кажущаяся верной формула Rзаз= R / n требует поправочного коэффициента, т.е.
Rзаз = FR / n , (8.16)
где F - коэффициент экранирования или взаимовлияния; Rзаз - сопротивление растеканию всего анодного заземлителя; R - сопротивление растеканию обособленного стержня; n - количество стержней.
В.Бекман с соавторами предлагают коэффициент взаимовлияния вычислять по приближенной формуле
F = 1 + r.ln( 0,66 n ) / (psR), (8.17)
где s - шаг размещения стержней.
Обычно значение F лежит в пределах 1,2....1,8.
8.6.3. Экономичное число стержней заземлителя
Количество стержней заземлителя (n) можно определять исходя из требований минимума суммарных затрат на капитальное строительство (Ск) и эксплуатацию (Сэ) катодной станции, т.е.
С = Ск + Сэ = min ;
Ск = Е k n + К2 ; (8.18)
Cэ = I2(FR / n) (эt / h) + С2 ,
где k - удельные строительно-монтажные затраты на один стержень анодного заземлителя, руб/шт; К2 - приведенные капитальные затраты на строительство катодной станции за вычетом затрат на строительство анодного заземлителя, руб./год; э - удельная стоимость электроэнергии, руб/кВт.ч; С2 - годовые эксплуатационные затраты на содержание катодной станции за вычетом стоимости электроэнергии, руб./год; Е - нормативный коэффициент эффективности капитальных вложений, Е = 0,11...0,15; I - ток катодной станции,А; t - число часов работы катодной станции в году, t = 8750 ч; h - коэффициент полезного действия катодной станции, h = 0,5...0,6.
Для минимизации суммарных затрат продифференцируем С по n и решим уравнение dC /dn = 0, в результате чего получим
_________________
n = I Ö 8,76 F R э / (Е k h) (8.19)
Пример расчета 1
При сметной стоимости работ и материалов равной k = 260 тыс.руб/шт. на один ферросилидовый стержень длиной 1500 мм, при удельной стоимости электроэнергии э = 220 руб/кВт.ч, а также I = 10 А, R = 3,6 Ом ( при r = 10 Ом.м ), F = 1,4, E = 0,15, h = 0,6 получим n = 6,44 или, округляя, n = 6.
Годовые затраты на электроэнергию при n = 6 составят
С1= 1,4 . 3,6 / 6 . 102 . 8,76 . 220 / 0,6 = 269 тыс.руб. в год.
Приведенные капитальные затраты на анодный заземлитель равны
К1 = 0,15 . 260 . 6 = 234 тыс.руб. в год.
Прочие эксплуатационные затраты (на ремонт и обслуживание) могут составить
С2 = 1000 тыс. руб. в год.
Прочие приведенные капитальные затраты (на преобразователь, кабели и пр.) могут быть равны
К2 = 0,15 . 5500 = 820 тыс.руб. в год.
Тогда общие годовые затраты на катодную станцию составят
С = Ск + Сэ = (234 + 820) + (269 + 1000) = 2323 тыс.руб. в год.
Увеличение или уменьшение числа стержней анодного заземлителя относительно своего оптимума вряд ли повлияет существенно на суммарные годовые затраты С. Так, если взять не n = 6, а n = 12 , то придем примерно к тому же результату:
С = (468 + 820) + (135 + 1000) = 2423 тыс.руб. в год.
Поэтому количество стержней следует, вероятно, определять по зданному сроку службы заземлителя, т.е. исходить из требуемой массы заземлителя, а расчет экономичного числа стержней по формуле (8.19) проводить в спорных случаях.
Для удобства формулу (8.19) можно представить в виде
_
n = 0,21.I Ö r , (8.20)
где коэффициент 0,21 соответствует использованным в примере исходным данным, которые практически можно считать постоянными.
8.6.4. Срок службы анодного заземлителя
В соответствии с законом Фарадея G = qIT срок службы анода ( T ) прямопропорционален массе ( G ) и обратнопропорционален току ( I ). Отсюда следует формула для расчета количества электродов (n) по массе анодного заземлителя
n = q I T / ( Gэл h ) , (8.21)
где q - электрохимический эквивалент анодного материала (см.табл.8.1); Gэл - масса одного стержня заземлителя, кг/шт; h = 0,4...0,6 - коэффициент полезного действия или коэффициент неравномерности растворения заземлителя.
Пример расчета 2
Анодный заземлитель на ток I = 10 А выполнен из ферросилидовых электродов АЗМ-2 массой Gэл = 12 кг каждый на срок службы Т=15 лет при скорости растворения ферросилида в коксовой мелочи q = 0,2 кг/(А.год) и к.п.д. h = 0,5. По формуле (8.21) требуемое число электродов будет равно
n = 0,2 . 10 . 15 / (12 .0,5) = 5 шт.
Число электродов по массе ( n = 5 ) не противоречит числу электродов, определенному выше экономическим путем ( n = 6 ). Однако независимо от этого результаты нас могут все же не удовлетворить. Дело в том, что может иметь место несовместимость с рабочим напряжением преобразователя.
Действительно, если сопротивление растеканию одного электрода равно R = 3,6 Ом при r = 10 Ом.м и коэффициент взаимовлияния F = 1,4, то напряжение на анодном заземлителе, вычисляемое по закону Ома, составит
U = I . Rзаз = I . F . R / n = 10 . 1,4 . 3,6 / 5 = 10 В.
Для этого заземлителя любой отечественный преобразователь пригоден, поскольку рабочее напряжение преобразователей обычно не менее Uн = 48 В.
Но если удельное сопротивление грунта в четыре раза больше, т.е. r = 40 Ом.м, то R возрастет в 4 раза и, следовательно, напряжение на заземлителе должно быть равным U = 40 В, что уже на пределе возможного для преобразователя.
Заменим ферросилидовый электрод весьма стойким электродом из магнетита, для которого скорость растворения 100 раз меньше. Тогда - при расчете по массе - достаточно будет ограничиться лишь одним электродом (n = 1). В этом случае напряжение на заземлителе будет в 5 раз больше, чем при n = 5, т.е. U = 50 В ( при r = 10 Ом.м) или U = 200 В (при r = 40 Ом.м), что совершенно нас не устраивает, если в нашем распоряжении преобразователь на Uн = 48 В. Т.е. слишком стойкий электрод нам не нужен? Безусловно, торопиться с таким выводом не следует. Необходимо вернуться к технико-экономическим расчетам и, возможно, заменить преобразователь.
8.7.Вспомогательное оборудование
Рассмотренное ниже оборудование имеет отношение к системам электрохимической защиты вообще, но все же преимущественно к катодным станциям. Поэтому решено объединить эти сведения в данной главе.
8.7.1. Дренажная и питающая линии
Дренажная линия соединяет преобразователь с анодным заземлителем и трубопроводом, обеспечивая работу цепи постоянного тока. Питающая линия соединяет преобразователь с источником переменного тока.
Как дренажная, так и питающая линии могут выполняться в виде кабельной или воздушной линий.
Дренажная линия
Как известно (см.рис.8.1), в цепь нагрузки преобразователя входят:
- анодный заземлитель;
- трубопровод;
- дренажная линия;
- земля.
Напряжение на выходе преобразователя, таким образом, уравновешивается четырьмя составляющими
Uн = Ua + Uк + Uт + DUз, (8.22)
где Uн - номинальное выходное напряжение преобразователя катодной станции; Uа - напряжение на сопротивлении растеканию анодного заземлителя; Uк - потеря напряжения в дренажной линии; Uт - напряжение на сопротивлении растеканию трубопровода (на входном сопротивлении Z); DUз - напряжение в земле как некоторая поправка, учитывающая конфигурацию поля токов в земле, и которой, как показывает анализ, можно пренебречь.
Дренажная линия может вызвать неприемлемую потерю напряжения, если руководствоваться стандартными нормами расчета электрических линий, не учитывая специфики катодной станции. Поэтому подбор сечения кабеля или провода для цепи постоянного тока катодной станции имеет особенность. Рассмотрим это на примере.
Пример расчета 3
Трехжильный кабель с алюминиевой жилой сечением 2,5 мм2 может выдержать по стандартным нормам нагрузку до 30 А на одну жилу или 90 А, если жилы соединить параллельно и использовать этот кабель как дренажный. Т.е. такой кабель был бы достаточен по току для любой катодной станции. Однако, проектировщик катодной станции выбрал бы для тока от 50 до 100 А кабель с общей площадью сечения 95...120 мм2, т.е. в 40 раз больше. Только потому, что он будет руководствоваться не стандартными нормами, а величиной экономически приемлемой потери напряжения, которая, как правило, составляет Uк = 1...2 В.
Пусть, далее, длина кабеля L = 100 м, ток I = 50 А, сечение трех алюминиевых жил, включенных параллельно S = 16.3 = 48 мм2. Сопротивление такой линии при удельном электрическом сопротивлении алюминия r = 0,03 Ом.мм2/м равно
R = 0,03L / S = 0,03 . 100 / 48 = 0,06 Ом.
Потеря напряжения в кабельной линии составит
Uк = IR = 50 . 0,06 @ 3 В ,
что в общем уже на экономическом пределе. Действительно, поскольку на долю анодного заземлителя - при номинальном напряжении преобразователя Uн = 48 В - останется, имея ввиду соотношение (8.22), лишь Uа = 44 В ( при Uт @ 1 В и DUз =0). К тому же на катодной станции не плохо иметь запас по напряжению порядка 30% или 15 В, поскольку сопротивление анодного заземлителя со временем растет и рабочее напряжение катодной станции приходится в какой-то момент увеличивать. Тогда на анодный заземлитель останется всего лишь 29 В.
Сечение дренажного кабеля для катодной станции можно выбирать из табл.8.2, где даны параметры трехжильного кабеля с алюминиевыми жилами. При этом предполагается, что все жилы кабеля будут включены параллельно.
Таблица 8.2
| Ток катодной станции, А | Площадь сечения жилы кабеля, мм2 |
| 0...12 | 4 |
| 12...18 | 6 |
| 18...25 | 10 |
| 25...35 | 16 |
| 35...50 | 25 |
| 50...100 | 35 |
Обычно применяют кабели марки АВВГ с двойной виниловой изоляцией, а при тяжелых механических нагрузках - бронированные кабели типа АВРБ, АВБШ и др.

Рис.8.18. Устройство кабельной (дренажной) линии катодной станции. 1- преобразователь; 2-клеммник; 3-кабель; 4-стальная труба; 5-красный кирпич; 6-асбестоцементная труба; 7-грунт земляной; 8-песчаная подушка; 9-дорога.
Дренажный кабель или укладывают в землю, или закрепляют на стенах зданий. При устройстве воздушных линий на железобетонных опорах подвешивают голый алюминиевый провод.
В городах не желательна прокладка на опорах из эстетических соображений, в то время как для катодных станций магистральных трубопроводов, напротив, воздушные линии предпочтительнее.
Кабельная линия сооружается по нормам и правилам для низковольтных сетей. На рис.8.18 показаны основные элементы кабельной линии катодной станции.
Кабель укладывают в песчаную постель и закрывают от механических повреждений красным кирпичем, а под автомобильными и прочими дорогами используют асбестоцементную трубу.

Рис.8.19. Подключение катодной станции к питающей сети переменного тока. а - с питанием от сети напряжением 220 В; б,в - с питанием от воздушной линии напряжением 6/10 кВ. 1 - преобразователи; 2 - однофазный понижающий трансформатор; 3 - разъединитель и предохранитель высоковольтный; 4 - провода 220В в трубе; 5 - ручной привод разъединителя; 6 - конечная опора воздушной линии; 7 - высоковольтный блок СКЗ; 8 - низковольтный блок СКЗ; 9 - ограждение.
Питающая линия
Для питания катодных станций городских трубопроводов используют ближайшие трансформаторные подстанции, сетевые вводы в здания и сооружения, распределительные воздушные линии напряжением 220 В.
При устройстве низковольтной двухпроводной линии для стандартной катодной станции сечение провода достаточно взять равным 6 мм2 по алюминию.
Некоторые типы катодных станций позволяют использовать источники напряжением 6 или 10 кВ с последующим понижением с помощью стандартного или специального трансформатора (рис.8.19). Такие катодные станции устраиваются на магистральных трубопроводах и требуют прокладки высоковольтной линии 6/10 кВ, что, безусловно, существенно повышает стоимость катодной станции.
Не так давно делались попытки использовать для питания катодных станций ветроэлектрогенераторы, использующие энергию ветра для получения электроэнергии. В пору ветрового затишья для работы катодной станции предполагалось использовать буферные аккумуляторы, которые бы подзаряжались в период нормальной работы ветроустановки. Не исключено, что к этой идее мы вернемся снова, поскольку в последнее время заметно вырос интерес к нетрадиционным возобновляемым источникам энергии.
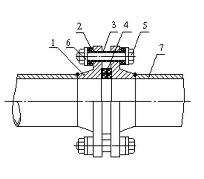
8.7.2. Изолирующее фланцевое соединение
На рис.8.20 показано устройство изолирующего фланцевого соединения (ИФС), которое в общем случае предназначено для электрического рассечения трубопровода.
ИФС прежде всего устанавливают на вводах защищаемого трубопровода в здание или сооружение с естественными и искусственными заземлениями. При этом ИФС выполняет две функции:
- содействует снижению скорости коррозии и
- увеличивает зону действия катодной станции.
Воздействие на коррозию объясняется тем, что происходит разделение катода и анода коррозионной макропары и, следовательно, прекращение ее функционирования (о макропарах см.пп.2.2.3).
Эффект увеличения зоны действия катодной станции связан с тем, что возрастает переходное сопротивление между трубой и землей за счет отсечения заземлений, каковыми являются неизолированные от земли подземные сооружения.


По существующим нормам ИФС должны обязательно устанавливаться на вводах газопроводов в жилые дома, и тем более на вводах в производственные здания и сооружения. ИФС ставят на магистральных трубопроводах на выходе из насосной или компрессорной станции, для отделения подземного участка трубопроводной сети от надземного, уложенного по стальной эстакаде и, следовательно, заземленного. Иногда изолирующими фланцами отделяют вновь построенный участок трубопровода от существующего - с изношенной изоляцией -, если здесь можно ожидать возникновение коррозионной макропары или если один из участков требует локальной электрохимической защиты, а другой можно по каким-то причинам не защищать электрохимически.
ИФС устанавливают:
- на воздушном участке трубопровода при выходе его из земли;
- непосредственно в земле;
- в колодце.
Часто в ИФС переоборудывают обыкновенное фланцевое соединение задвижки или какого-либо линейного устройства на трубопроводе.
При эксплуатации следует иметь виду, что если ИФС установлено в колодце или непосредственно в земле, то при катодной защите можно ожидать ухудшения коррозионного состояния на отсекаемой (не защищаемой) части подземного сооружения в непосредственной близости от ИФС. Действительно, для отсекаемого трубопровода токи катодной станции есть блуждающие токи со всеми своими неприятностями. Поэтому участки трубопровода по обе стороны ИФС более тщательно изолируют. К тому же ИФС, предназначенные для установки непосредственно в земле, имеют другую конструкцию, позволяющую изолировать от земли все металлические элементы ИФС.

Рис.8.21. Устройство контрольно-измерительного пункта в ковере (а), в колонке (б) и контактное устройство на трубопроводе (в).1- ковер; 2 - медносульфатный электрод сравнения с датчиком поляризационного потенциала; 3 - стальной электрод сравнения в пластмассовой трубке; 4 - стальная полоса, приваренная к трубопроводу; 5 - защищаемый трубопровод; 6 - бетонная подушка на песчанном основании; 7 - железобетонная колонка; 8- клеммник; 9 - малый колодец с крышкой; 10 - узел подключения кабеля к трубопроводу.
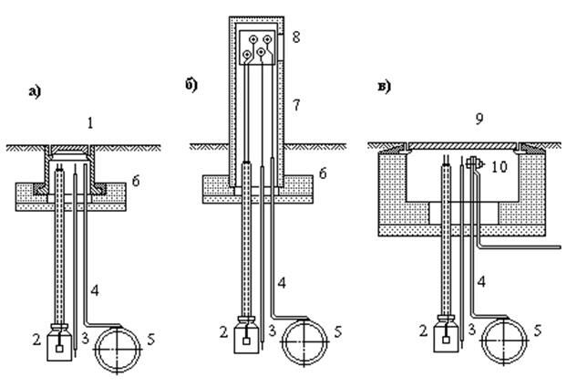
8.7.3. Контактные устройства
На рис.8.21 приведены варианты контрольно-измерительных пунктов ( КИП ), предназначенных для контроля зоны действия катодной станции, и контактное устройство ( КУ ) для подключения дренажного кабеля.
КИПы устанавливают так, чтобы можно было бы измерять потенциалы с шагом не более 200 м - в городских сетях и 500 м - на магистралях. В городских условиях используют КИПы с ковером, на магистралях - с колонкой.
Стальной электрод 3 устанавливают на тот случай, когда медносульфатный электрод сравнения (МЭС) 2 потребует замены. Дело в том, что электролит МЭС, несмотря на его желеобразное состояние, постепенно вытекает и электрод приходит в негодность. Поэтому на период замены стационарного МЭС обычно используют или переносной МЭС, или стационарный стальной электрод, хотя следует напомнить, что стальной электрод в цивилизованном мире не применяют.
8.7.4. Блоки совместной защиты
Совместная защита - электрохимическая защита ряда разнородных подземных сооружений с помощью одной или нескольких согласованно работающих установок ЭХЗ.
Комплексная защита - активная защита в сочетании с пассивной. Она предусматривает применение в том или ином сочетании:
- совместной или раздельной электрохимической защиты;
- изолирующих покрытий;
- изолирующих фланцевых соединений, диэлектрических прокладок, футляров, вставок;
- мероприятий на источниках блуждающих токов;
- мероприятий по снижению агрессивности окружающей среды.
Для реализации требований по совместной защите как оптимальном и часто единственном методе защиты в сложных сетевых условиях, когда включение катодной станции на одном сооружении ведет - из-за перетеканий токов защиты - к ухудшению коррозионного состояния на другом, применяют ряд мер, в том числе включают в систему защиты следующие устройства и оборудование:
- глухие потенциалвыравнивающие перемычки между влияющим и подверженным влиянию сооружениями;
- регулируемые перемычки между сооружениями;
- вентильные перемычки между сооружениями;
- дополнительные катодные преобразователи с собственными анодными заземлителями (вспомогательные катодные станции);
- дополнительные анодные заземлители с одним общим катодным преобразователем (распределенные заземлители).
Глухие перемычки между двумя соседним трубопроводами, а также шунтирующие перемычки на задвижках и стыках, обеспечивают надежную проводимость и выполняют, как правило, стальными шинами. Однако неизолированная перемычка при хорошей изоляции трубопровода может существенно ухудшить уровень защиты в районе перемычки, что показано расчетом ниже.
Регулируемая перемычка включает в себя блок с переменным резистором. Характеристики универсальных блоков совместной защиты типа УСБЗ представлены в табл.8.3.
Таблица 8.3
| Технические характеристики | УСБЗ-10 | УСБЗ-50 |
| Номинальный ток, А | 10 | 50 |
| Максимальный ток, А | 30 | 100 |
| Максимальное сопро- тивление, Ом | 0,3 | 0,24 |
| Шаг регулирования, Ом | 0,01 | 0,05 |
| Габариты, мм | 180х140х95 | Обратите внимание на лекцию "Национальные программы Билим и Кадры XXI века". 305х320х150 |
| Масса, кг | 2 | 6,2 |
В типовых чертежах серии 7.402-5 “Узлы и детали установок ЭХЗ” предусмотрено применение регулируемых сопротивлений типа СДЗ.
В вентильной перемычке в блок совместной защиты добавлен полупроводниковый диод. К вентильным блокам относятся, например, блоки дренажной защиты БДЗ-10 и БДЗ-50, регулировочные характеристики которых соответствуют данным табл.8.3. Они обычно устанавливаются в перемычках между трубопроводами и кабелями связи.





















