Методика расчёта потребности тепловой энергии на горячее водоснабжение
Методика расчёта потребности тепловой энергии на горячее водоснабжение
Максимальный часовой расход тепла на горячее водоснабжения вычисляется по следующей формуле:
П · gср · ρв · (tг - tх.з.) · β
Qг.в. = ——————————— , где
1000 · Т
| П | – | расчётное число потребителей горячей воды; |
| gср | Рекомендуемые материалыFREE Газоснабжение жилого дома FREE Теплоснабжение и вентиляция FREE Водоснабжение и канализация жилого здания FREE Насосная станция FREE Инженерная графика FREE Монолитный 10-тиэтажный жилой дом – | средняя норма расхода горячей воды, л/сут, за период со средней суточной температурой наружного воздуха, равной или меньшей 8ºС; |
| ρв | – | плотность воды, кг/м3, по Таблице 4; |
| tг | – | средняя температура горячей воды в водоразборных стояках, ºС (для жилых домов принимается равной 55ºС); |
| tх.з | – | температура холодной воды в водопроводе в зимний период, при отсутствии данных принимается равной 5ºС; |
| β | – | коэффициент, учитывающий отношение максимальной нагрузки горячего водоснабжения к её среднему значению, принимается равным 2,0 – 2,4; |
| Т | – | период потребления горячей воды, ч., для жилых и административно-общественных зданий принимается равным 24 ч., для промышленных зданий и коммунальных предприятий – по числу часов работы в сутки. |
Таблица 4
Плотность воды при температурах от 40ºС до 100ºС
| Температура, ºС | Плотность, ρв кг/м3 | Температура, ºС | Плотность, ρв кг/м3 |
| 40 | 992,24 | 75 | 974,84 |
| 45 | 990,25 | 80 | 972,45 |
| 50 | 988,07 | 85 | 968,65 |
| 55 | 985,73 | 90 | 968,34 |
| 60 | 983,75 | 95 | 961,92 |
| 65 | 981,13 | 100 | 958,38 |
| 70 | 977,81 |
Из-за отсутствия подробных данных о суточном водопотреблении (при конкретных условиях эксплуатации), часто используют суточные расходы из СНиП 2.04.01-85* «Внутренний водопровод и канализация зданий», приложение 3. В указанной формуле следует использовать эти данные при отсутствии местных норм потребления ГВС.
Следует учитывать, что в указанном СНиП регламентируются не «нормы» (в смысле необходимого количества воды на все нужды), а расчётные расходы, позволяющие запроектировать систему горячего водоснабжения.
В Таблице 5 приведены нормы расходов [2] по многолетним фактическим замерам в г.Москве. Нормы расхода горячей воды в средние сутки определены при конкретных условиях эксплуатации; они не соответствуют суточным нормам горячей воды из СНиП .
Нормы СНиП приведены для средних по стране условий водопользования (этажность – 9 этажей, среднее давление – 0,45 МПа, средняя заселённость жилых зданий – 4 чел./квартиру) и включают потери воды (25%).
Таблица 5
Нормы расхода воды потребителями для г.Москвы
|
|
| Норма расхода горячей |
| Жилые дома квартирного типа | ||
| оборудованные умывальниками, мойками и душами | 1 житель | 67,87 |
| с сидячими ваннами, оборудованными душами | 1 житель | 71,87 |
| с ванными длиной от 1500 до 1700 мм, оборудованными душами |
|
|
| при высоте зданий более 12 этажей и повышенных требованиях к их благоустройству |
|
91,83 |
| Общежития | ||
| с общими душевыми | 1 житель | 39,93 |
| с душами при всех жилых комнатах | 1 житель | 47,91 |
| с общими кухнями и блоками душевых на этажах при жилых комнатах в каждой секции здания |
|
63,88 |
Пример: Подобрать котельное оборудование для отопления жилого дома с наружным объёмом 19 тыс. м3, расположенного в г.Москве. Средняя температура в помещениях +18ºС.
По таблице 1 находим удельную тепловую характеристику здания объёмом до 20 тыс. м3 : q0 =0,36.
По Приложению 8 СНиП 2.04.05-91*: расчётная температура наружного воздуха по параметрам Б для Москвы -26ºС.
Вычисляем поправочный коэффициент: а = 0,54 + 22 / 18 – (-26) = 1,04
Таким образом, теплопотери дома составят:
Qу.п = 1,04 · 0,36 · 19.000 · [18 – (-26)] = 312998,4 Вт ≈ 313 кВт
Учитывая тот факт, что фактические удельные теплопотери здания (см. выше) могут быть выше нормативных на 5(10%, теплопроизводительность отопительного оборудования должна составлять: 313 + 7,5% = 336 кВт
Широкий типоразмерный ряд котлов Mighty Therm модели НН LAARS позволяет выбрать максимально соответствующее расчетной тепловой нагрузке оборудование, чем достигается наиболее рациональный и экономичный режим потребления тепловой энергии. В таблице 6 представлены теплогидравлические характеристики всего ряда котлов. Исходя из принципа резервирования, делим полученную теплопроизводительность пополам, получаем 168 кВт; по таблице 6 находим типоразмер котла, ближайший к данному значению: нам требуется 2 котла НН0715 производительностью 170 кВт каждый. Эта же таблица позволяет подобрать котловой насос к котлу для рабочего перепада температуры воды через котёл (рекомендуемый перепад Δt = 14°C). Указанный перепад определяется условиями скоростного режима котла.
Подбор котловых насосов по скорости. Гидронные котлы требуют определенной скорости потока воды через теплообменник (в среднем 2,1 м/сек). Это достигается путем подбора котлового насоса по параметрам котла (расход воды через теплообменник и гидравлическое сопротивление котла), которые приведены в паспорте к каждому котлу и в таблице 6.
Строгое соблюдение скоростного режима котла определяется:
во-первых, малоемкостной конструкцией теплообменника, при которой важно обеспечить требуемый темп отбора тепла от котла в систему;
во-вторых, необходимостью обеспечения эффекта «самоочищения» труб теплообменника, т.е. предотвращения процесса образования накипи и механических отложений на внутренних поверхностях теплообмена.
Более подробно о принципах подбора насосов – см. в соответствующем разделе настоящего пособия.
Таблица 6
Таблица расходов и потерь напора в котлах LAARS модели НН
|
|
Теплопроизводтельность котла, кВт | Повышение температуры воды при однократном проходе через котёл | |||||||
| Δt = 11°C | Δt = 14°C | Δt = 17°C | Δt = 19°C | ||||||
| Расход м³/час | Напор, | Расход м³/час | Напор, | Расход м³/час | Напор, | Расход м³/час | Напор, | ||
| 0175 | 42 | 3,2 | 0,2 | 2,5 | 0,2 | 2,2 | 0,2 | 1,8 | 0,1 |
| 0250 | 60 | 4,7 | 0,6 | 3,6 | 0,4 | 2,9 | 0,2 | 2,5 | 0,2 |
| 0325 | 77 | 5,8 | 1,0 | 4,7 | 0,6 | 4,0 | 0,4 | 3,2 | 0,3 |
| 0400 | 95 | 7,2 | 1,6 | 5,8 | 1,0 | 4,7 | 0,7 | 4,0 | 0,5 |
| 0500 | 119 | 8,6 | 0,4 | 7,2 | 0,3 | 5,8 | 0,3 | 5,0 | 0,2 |
| 0600 | 143 | 10,8 | 0,5 | 8,3 | 0,4 | 7,2 | 0,4 | 6,1 | 0,2 |
| 0715 | 170 | 12,6 | 0,8 | 10,1 | 0,6 | 8,3 | 0,5 | 7,2 | 0,3 |
| 0850 | 202 | 15,1 | 1,0 | 11,9 | 0,8 | 10,1 | 0,6 | 8,6 | 0,4 |
| 1010 | 240 | 18,0 | 1,4 | 14,4 | 1,0 | 11,9 | 0,8 | 10,1 | 0,6 |
| 1200 | 285 | 21,2 | 2,0 | 16,9 | 1,5 | 14,0 | 1,1 | 11,9 | 0,8 |
| 1430 | 339 | 25,6 | 2,7 | 20,2 | 2,0 | 16,9 | 1,5 | 14,4 | 1,1 |
| 1670 | 396 | - | - | 23,2 | 2,7 | 19,3 | 2,0 | 16,6 | 1,4 |
| 1825 | 433 | - | - | 25,9 | 3,1 | 21,6 | 2,4 | 18,4 | 1,7 |
| 2000 | 480 | 37,2 | 3,2 | 29,8 | 2,3 | 24,8 | 1,5 | 21,3 | 0,9 |
| 2450 | 589 | 45,6 | 5,0 | 36,6 | 3,1 | 30,4 | 2,4 | 26,1 | 1,7 |
| 3050 | 733 | 56,8 | 7,1 | 45,4 | 5,0 | 37,9 | 3,8 | 32,5 | 2,6 |
| 3500 | 841 | 64,5 | 9,2 | 52,2 | 6,6 | 42,9 | 5,1 | 37,2 | 3,2 |
| 4050 | 973 | 75,4 | 13,1 | 60,4 | 9,1 | 50,4 | 7,3 | 43,2 | 4,9 |
| 4500 | 1081 | 83,8 | 16,6 | 67,0 | 10,1 | 55,9 | 7,6 | 47,9 | 6,1 |
| 5000 | 1201 | 93,1 | 20,6 | 74,5 | 12,8 | 62,0 | 9,9 | 53,1 | 6,9 |
К вопросу о КПД котлов и КПД системы в целом (опыт США)
Российские нормативные документы, определяющие технические требования к котлам, (ГОСТ 20219-74, ГОСТ 11032-80, ГОСТ 10617-83) предписывают определять тепловую нагрузку газовых котлов по формуле:
N=B Qн, ккал/ч (Вт),
где В - часовой расход газа, куб.м/час,
Qн - низшая теплота сгорания газа, приведенная к нормальным условиям, ккал/куб.м
В отличие от Российских, стандартами США на газовые котлы, при расчете нагрузки, применяется высшая теплота сгорания (Qв), которая в 1, 11 раза превышает Qн. для природного газа и на 6% - для легкого жидкого топлива.
В результате величина тепловой нагрузки, расчитанная по высшей теплоте сгорания природного газа, на 11% больше, чем принятая по Российским нормам.
(Как известно, высшая и низшая теплота отличаются на величину скрытой теплоты парообразования, т.е. на количесво теплоты, выделяющейся при полной конденсации водяных паров, образующихся при горении газа).
Так как величина кпд является функцией тепловой нагрузки (и, соответственно, теплоты сгорания газа), то величины кпд, расчитанные в соответствии со стандартом США на 11% ниже, чем расчитанные по Российским стандартам.
Например, для котла НН5000, по расчету, принятому в США, номинальная нагрузка по высшей теплоте составляет 1465 кВт, а полезная мощность котла - 1201 кВт, при этом величина кпд составит:
1201 =0,82
1465
При пересчете на низшую теплоту (по требованиям Российских норм), величина номинальной нагрузки на горелки котла уменьшится на 11% и составит:
1465 х 0,89=1303 (кВт),
таким образом кпд, приведенное к Российским стандартам :
1201 =0,92
1303
Следует отметить, что величина кпд, расчитанная по высшей теплоте для любых котлов никогда не бывает более 100%, в то время как кпд котлов конденсационного типа, расчитанный по низшей теплоте (применяющейся в России, странах СНГ и многих странах Европы), превышает 100%.
В США кпд котла не придают столь решающего значения, какое оно имеет в России и странах СНГ. Это связано с тем, что величина кпд является характеристикой котла только в режиме непрерывной работы (при номинальной производительности), а такой режим является чисто теоретическим.
В реальности тепловая нагрузка системы представляет собой величину переменную. Наименее эффективный режим работы котла (вне зависимости от теоретической величины его кпд) имеет место в переходные периоды отопительного сезона.
В 1978 году Министерство энергетики США ввело в действие стандарт для оценки сезонного энергопотребления отопительных устройств. Установленный этим стандартом показатель AFUE (Annual Fuel Utilization Efficiency - годовая эффективность использования топлива) в настоящее время широко применяется в США для оценки работы системы в целом.
Величина AFUE выражается, как и кпд в процентах, но, в отличие от кпд,
она учитывает влияние многочисленных переходных периодов на протяжении всего отопительного сезона (т.е. всех периодов времени, когда котел работает в режиме неноминальной нагрузки).
Таким образом показатель AFUE используется для оценки реальных стоимостных затрат отопительного сезона.
Для этого Министерство энергетики США предлагает следующую формулу:
Примерное сезонное =Суммарные теплопотери здания за сезон
потребление топлива Показатель AFUE (десятичный)
Пример 1. Снижение сезонной эффективности работы системы по мере того, как номинальная производительность котла увеличивается по отношению к расчетной тепловой нагрузке системы ( По замерам на здании в г.Сиракузы, штат Нью-Йорк):
| Соотношение: | Сезонная |
|
|
|
Пример 2. Суммарные теплопотери здания в течение всего отопительного сезона равны
60 млн.БТЕ. Здание оборудовано газовым котлом, имеющим показатель AFUE равным 82%.
Расчитать энергопотребление здания в течение отопительного сезона (Е).
60
Е = ------- = 73,2 млн.БТЕ
0,82
Важно отметить, что реальная сезонная эффективность работы котла в исключительной мере зависит от системы, в которой сам котел является лишь элементом, а также от того, насколько котельное оборудование соответствует тепловой нагрузке здания (преимущественно в переходные периоды отопительного сезона).
Концепция многокотловой двухконтурной системы, предложенная корпорацией Лаарс является реальным инструментом повышения показателя AFUE системы отопления в целом.
Обратите внимание на лекцию "40 Право постоянного бессрочного пользования".
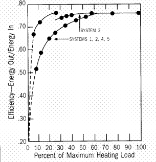
Национальное Бюро по Стандартам США произвело независимое исследование эффективности концепции Лаарс по сравнению с традиционными котловыми системами. Результат исследования выражен следующим графиком:

Где: кривая 3 характеризует работу многокотловой двухконтурной системы
(в соответствии с концепцией Лаарс)
кривые 1,2,4,5 - характеристики традиционно применяемых котловых схем.
Кривая 3 показывает наивысшее значение общей эффективности системы в переходные периоды отопительного сезона (т.е. когда тепловая нагрузка составляет от 5% до 65% номинальной производительности котельной установки).





















