Зубофрезерование
4. Зубофрезерование
1. Принцип образования зубьев червячной фрезой
В производстве зубчатых колес нарезание зубьев на зубофрезерных станках червячными фрезами методом обката является наиболее распространенным и трудоемким. Этим методом можно нарезать цилиндрические зубчатые колеса внешнего зацепления с прямыми и косыми зубьями стандартной, конической и бочкообразной формы, блочные колеса, червячные колеса, шлицевые валы, звездочки цепных передач и др.
Одной червячной фрезой одинакового нормального модуля и угла профиля можно нарезать большое количество прямозубых и косозубых колес с различным числом и углом наклона зубьев, но с одинаковым модулем и углом профиля. Двухвенцовые зубчатые колеса с различным числом зубьев у венцов нарезают за один установ заготовки.
При зубофрезеровании методом обката инструмент и заготовка, находясь в зацеплении, вращаются вокруг своих осей, как червяк и червячное колесо (червяк представляет собой червячную фрезу). Продольные стружечные канавки фрезы образуют отдельные зубья с прямолинейным профилем, которые в результате затылования получают задние углы, необходимые для обработки резанием. По методу обката профиль зубьев цилиндрического колеса образуется прямолинейными режущими кромками червячной фрезы. Процесс резания заготовки червячной фрезой можно рассматривать подобно зацеплению зубчатой рейки 2 (червячная фреза) и зубчатого колеса 1 (заготовки) на рис. 1, а.
На рис. 1, б показано, как следующие один за другим зубья 3 червячной фрезы входят в контакт с зубом 4 обрабатываемого колеса и формируют эвольвентный профиль. Эвольвентная форма зуба колеса, образованная прямолинейными режущими кромками одной червячной фрезой, обладает такими свойствами, которые позволяют зубчатым колесам с любым числом зубьев правильно зацепляться между собой и с зубчатой рейкой.
Другим важным преимуществом эвольвентного зацепления является то, что зубчатые колеса с эвольвентным профилем менее чувствительны к неточностям монтажа. Прямолинейный профиль зубьев червячной фрезы прост в изготовлении и контроле.
На рис. 1, в показана кинематическая схема зубофрезерного станка. Червячная фреза 2 и обрабатываемое колесо 1 получают от главного электродвигателя 6 через шкивы и систему зубчатых колес вращательные движения, которые относятся друг к другу, как число зубьев колеса к числу заходов червячной фрезы, т.е. червячная фреза и обрабатываемое колесо кинематически точно связаны между собой.
Рекомендуемые материалы

Рис. 1.Зубофрезерование цилиндрических колёс:
а – зацепление червячной фрезы с колесом; б – образование эвольвентного профиля;
в – принципиальная схема зубофрезерного станка.
Главным механизмом в кинематической цепи для передачи вращательного движения обрабатываемому колесу является делительная червячная передача 8/9. Эту передачу изготовляют с высокой точностью и собирают с минимальным боковым зазором.
Аналогичную роль в передаче вращательного движения червячной фрезе выполняет косозубая цилиндрическая пара 5/4. Червячная фреза кроме вращения имеет возможность перемещаться вдоль своей оси относительно косозубого колеса 5 и осуществлять движение подачи параллельно оси обрабатываемого колеса 1 по шлицевому валу 3. Зубчатые колеса для изменения скорости резания, подачи, деления находятся в узле 7.
2. Методы и способы нарезания зубьев
Нарезание цилиндрических зубчатых колес. Цилиндрические прямозубые и косозубые колеса нарезают двумя основными методами: копирования и обката.
Метод копирования, при котором профиль режущей части инструмента соответствует профилю впадины зуба нарезаемого колеса (рис. 2, в), имеет в основном малую производительность и невысокую точность, поэтому его применяют ограниченно, обычно в единичном производстве для обработки неответственных зубчатых передач (например, дисковыми модульными фрезами на универсально-фрезерных станках с использованием делительной головки). Метод копирования пальцевыми модульными фрезами применяют для обработки крупномодульных цилиндрических и шевронных колес, а также когда изготовление червячными фрезами неэкономично.

Метод обката, обладающий более высокой производительностью и точностью, широко применяется в различных отраслях промышленности. В настоящее время наибольшее распространение получили следующие способы зубофрезерование методом обката.
Зубофрезерование с осевой подачей осуществляется при подаче червячной фрезы параллельно оси обрабатываемого колеса (рис. 2, а). Этот универсальный способ имеет наибольшее применение в промышленности для нарезания цилиндрических колес и шлицевых валов на обычных зубофрезерных станках. К недостаткам этого способа относится большая длина врезания l, которая возрастает с увеличением диаметра червячной фрезы и угла наклона линии зуба.
3убофрезерование с радиальной осевой подачей заключается в том, что подача червячной фрезы в начале резания и до получения полной высоты зуба осуществляется радиально к оси обрабатываемого колеса, затем она прекращается и включается осевая подача (рис. 2, б). Этот способ осуществляется на специальных зубофрезерных станках обычными червячными фрезами. Производительность при радиально-осевой подаче выше, чем при осевой, за счет сокращения времени на врезание. Из-за повышенного износа зубьев червячной фрезы радиальная подача выбирается в пределах 0,7-0,9 мм/об. Этот способ рекомендуется применять там, где это необходимо по условиям обработки, например при зубофрезеровании зубчатых колес с большим наклоном линии зуба и закрытых зубчатых венцов, при зубофрезеровании двумя рабочими ходами и работе червячными фрезами большого диаметра. В обычных условиях способ с осевой подачей является более экономичным.
Зубофрезерование с диагональной подачей осуществляется на специальных зубофрезерных станках, где осевая подача сочетается с тангенциальной. Фреза перемещается по диагонали параллелограмма, составленного из двух подач - осевой и тангенциальной (рис. 2, г).
Зубофрезерование с диагональной подачей по сравнению с осевой улучшает сопрягаемость профилей зубьев прямозубых колес при обкате благодаря скрещиванию огибающих резов. Это особенно важно для зубчатых колес, которые в дальнейшем не подвергаются окончательной обработке (например, зубчатые колеса насосов). Уменьшается также шероховатость поверхности на профилях зубьев. Существенно повышается период стойкости червячных фрез из-за более равномерного износа зубьев по всей рабочей длине фрезы.
Этот способ целесообразно применять для обработки колес с широкими зубчатыми венцами, пакета колес или колес с повышенной твердостью, когда необходимо иметь большой период стойкости инструмента в процессе обработки. При диагональном зубофрезеровании экономически оправдано применять длинные и точные червячные фрезы.
Зубофрезерование с переменной осевой подачей основано на увеличении подачи при входе и выходе червячной фрезы из заготовки. Фрезерование зубчатого колеса начинается на максимальной подаче, затем она постепенно уменьшается до постоянной величины. На постоянной подаче станок продолжает работать до начала выхода фрезы из заготовки. В этот момент подача снова автоматически повышается до установленного максимального значения.
Увеличение подачи вызывает увеличение шероховатости поверхности на зубьях, поэтому этот способ применяют для зубчатых колес до т=5 мм под последующие чистовые операции - шевингование или шлифование, а также в случае нарезания зубчатых колес с большим углом наклона линии зуба, где путь врезания достаточно велик. Зубофрезерование с переменной осевой подачей позволяет повысить производительность на 20-35 %.
Сущность метода зубофрезерования за два рабочих хода состоит в том, что первый и второй рабочие ходы осуществляются последовательно, за один установ заготовки (рис. 2, д), причем второй рабочий ход производится при минимальном припуске - глубина резания составляет 0,5-1,0 мм. Первый рабочий ход, как правило, производят на попутной подаче, второй - на встречной. Из-за малого припуска при втором рабочем ходе скорость резания и осевая подача выше, чем при первом.
При зубофрезеровании за два рабочих хода, которое применяют для колес с модулем свыше 4 мм помимо повышения производительности достигается высокая стабильная точность параметров зубьев, особенно по направлению зуба, создаются благоприятные условия для автоматизации процесса зубофрезерования, увеличивается период стойкости инструмента и производительность на последующей операции зубошевингования.
При встречном зубофрезеровании срезаемая стружка имеет форму запятой, в начале ее толщина минимальная, а в конце - максимальная. При этом режущие кромки, особенно когда они затуплены. В начале врезания не режут, а скользят по поверхности, уплотняют ее, сами подвергаются повышенному износу. Условия резания значительно затруднены.
При попутном зубофрезеровании наоборот, толщина стружки в начале резания максимальная, а в конце - минимальная. В этом случае незначительное скольжение в начале резания создает более благоприятные условия резания. Станок менее нагружен и работает более спокойно. Период стойкости инструмента повышается на 10-30 %, достигается хорошая (матовая) поверхность, уменьшаются выхваты на профилях зубьев, возможные при встречном зубофрезеровании, образуется меньше заусенцев на торцах. Особенно эффективно попутное фрезерование при обработке вязких материалов. При обработке чугуна оно не имеет преимуществ. При попутной подаче винт с гайкой для перемещения суппорта с фрезой практически не должен иметь зазора.
Совмещенное зубофрезерование и зубодолбление - новое направление в расширении технологических возможностей зубофрезерных станков. Созданы станки, на которых можно выполнять одновременно зубофрезерование и зубодолбление двух или трех зубчатых венцов, а также только зубофрезерование или зубодолбление наружных или внутренних венцов. Станки изготовлены на базе зубофрезерного станка, зубодолбежная головка установлена вместо задней колонны.
Основные преимущества совмещенного зубофрезерования и зубодолбления: более короткое время изготовления одной детали благодаря одновременной обработке двух-трех зубчатых венцов; для обработки двухвенцового колеса необходим один станок, одно зажимное приспособление, при этом сокращается стоимость оборудования, производственная площадь и т. д.; повышается точность обработки в отношении концентричности обоих зубчатых венцов, так как они нарезаются за одну установку.
3. Инструмент для нарезания цилиндрических зубчатых колес
Червячная фреза представляет собой одно- или многозаходный червяк, который имеет определенный исходный контур зубчатой рейки, а расположенные вдоль оси продольные стружечные канавки образуют зубья с режущими кромками, необходимые для обработки резанием.
Конструктивные элементы червячной фрезы приведены на рис. 3. Модуль и угол профиля фрезы должны быть равны модулю и углу профиля нарезаемого колеса. Зубья 1 червячной фрезы затылованы по архимедовой спирали, благодаря чему при переточке фрезы по передней поверхности 2 задние углы при вершине зуба ав= 10--12о и на боковой режущей кромке аб = 2--4о, а также толщина зуба практически не изменяются. Для чистовых червячных фрез передний угол γ=0, для черновых фрез γ=5-100. Стандартный профиль зубьев фрезы в осевом сечении имеет прямые стороны (рис. 3, б). Червячные фрезы под шлифование и шевингование имеют модифицированный профиль (рис. 3,в). Утолщение, так Называемый «усик» 4 на головке зуба фрезы, служит для поднутрения ножки зуба колеса, фланк 3 срезает фаску на вершине зуба колеса. Для повышения прочности зубьев колеса головка зуба фрезы скругляется и высота ее увеличивается (рис. 3,г), при этом необходимо соответственно увеличить полную высоту зуба колеса.
В зависимости от вида производства и требуемой точности наиболее широкое применение имеют четыре основные группы червячных фрез: цельные фрезы со шлифованным профилем, сборные фрезы с поворотными вставными рейками, цельные затылованные фрезы с нешлифованным профилем повышенной точности и твердосплавные червячные фрезы.

Рис. 3. Червячная фреза цельная:
а - общий вид фрезы; б, в, г - профиль зуба фрезы в нормальном сечении; De- наружный диаметр; Dt - делительный диаметр; t - осевой шаг; tn- нормальный шаг; tокр - окружной шаг фрезы; Sх - толщина зуба; h - высота зуба; h' - высота головки; Dr - диаметр контрольного буртик
Цельные фрезы со шлифованным профилем применяют для обработки высокоточных цилиндрических колес с прямыми и косыми зубьями, червячных колес, шлицев и зубчатых колес в единичном и серийном производстве. Чистовые червячные фрезы изготавляют по ГОСТ 9324-80Е. Точность изготовления червячных фрез различная. Фрезы самой высокой точности класса АА предназначены для обработки зубчатых колес 7-й степени точности (ГОСТ 1643-81 ) с модулем 1-10 мм. Цельные чистовые червячные фрезы общего назначения классов точности А , В и С используют для обработки колес с модулем 1-14 мм. Черновые червячные фрезы изготовляют с пониженной точностью, в большинстве случаев с нешлифованным профилем зубьев. Цельные фрезы с модулем примерно до 10 мм имеют небольшие длину и наружный диаметр. У фрез этой группы длина фрезы практически равна наружному диаметру. Цельные фрезы, как правило, изготовляют однозаходными.


Рис. 4. Червячная фреза с поворотными вставными рейками
Червячные фрезы с поворотными вставными рейками применяют главным образом в условиях массового производства. Эти фрезы имеют большую длину реек (до 200 мм), количество заходов 2-3, повышенную твердость реек (HRC 66-68), ширина зуба рейки увеличена до 20--25 мм, количество реек колеблется в пределах 10-17. Наблюдается тенденция к увеличению наружного и внутреннего диаметров.
4.Зажимные приспособления
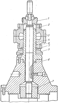
Основное назначение зажимных приспособлений удерживать зубчатое колесо точно и устойчиво во время зубообработки и контроля. Поэтому зажимные приспособления должны иметь достаточную жесткость, высокую точность размеров установочных поверхностей (отверстий, шеек и опорных торцов), не иметь чрезмерного вылета (консоли), свободно сидящих втулок и множества посадок. Если позволяет форма и размер заготовки, при зубонарезании нужно использовать те базовые поверхности, которые обеспечивают надежный зажим заготовки в процессе резания. При установке на зубофрезерном станке (рис. 6) биение установочных поверхностей приспособления шейки В и торца Т не должно превышать 0,01-0,015 мм, а для прецизионных зубчатых колес - 0,005 мм.

Рис. 6 Приспособление для закрепления двух цилиндрических колёс на зубофрезерном станке
На рис. 6 показано зажимное приспособление, устанавливаемое на стол зубофрезерного станка, для нарезания одновременно двух цилиндрических зубчатых колес-дисков. Зубчатые колеса 3 базируют по отверстию и торцам зубчатого венца, а центрируют по втулке 4 с опорой на кольцо 5. Заготовки в приспособлении зажимают с помощью гидроцилиндра через соединительную муфту 7, тягу 2 и прижимную крышку 1. Крышка имеет шпоночные пазы; при зажиме ее надевают через шлицы тяги 2 и поворачивают на небольшой угол. При опускании тяги торцы шлицев, опираясь на крышку, зажимают заготовки. Втулка 4 закреплена на массивной чугунной тумбе б. Это зажимное приспособление универсального типа можно использовать для широкого диапазона зубчатых колес, заменяя втулку 4, кольцо 5 и прижимную крышку 1. Оно обеспечивает точное и жесткое крепление заготовок.
Зубчатые колеса-валы небольших размеров обрабатывают от центровых фасок, вращение заготовке передается от шпинделя станка через хомутик или специальные острые стержни, которые внедряются в торец заготовки и передают вращение.

Приспособление такого типа, показанное на рис. 7, применяют на горизонтальном зубофрезерном автомате. Заготовку 5 устанавливают в центрах 3, 6 на фаски центровых отверстий. Правый центр б перемещает заготовку 5 влево, ее торец внедряется в острые стержни 4, посредством которых осуществляется вращение заготовки в процессе резания червячной фрезой 7. Левый центр 3 подпружинен пружиной 2. Поверхность 1 служит для выверки правильности установки приспособления в шпиндель станка. Колеса-валы с модулем свыше 5 мм базируют и зажимают за шейку в цанговом или кулачковом патроне.
5. Зубофрезерные станки и их основные технические характеристики
Зубофрезерные станки выпускают двух типов: универсальные и продукционные.
Универсальные станки имеют широкие технологические возможности, при небольшой специализации на них можно изготовлять зубчатые колеса с конусными и бочкообразными зубьями и червячные колеса. Эти станки в основном используют в мелкосерийном и серийном производстве. Для сокращения времени на наладку современные зубофрезерные станки изготавляют с ЧПУ (числовым программным управлением).
Люди также интересуются этой лекцией: Сегментация рынка.
Продукционные станки используют для работы в крупносерийном и массовом производстве. Современные станки этой группы имеют высокую статическую и динамическую жесткость за счет повышенной массы (1 ,21,5 Т на модуль), точную и короткую кинематическую цепь, повышенную мощность главного электродвигателя (1,8-2,5 кВт на модуль). У этих станков длинные и широкие направляющие, гидростатические подшипники в ответственных узлах, шариковые винты с гайкой для осуществления подач, большая длина осевого перемещения фрезы (160-180 мм), обильное охлаждение (200400 л/мин), хорошие условия отвода теплоты и вытяжные устройства для отвода масляного тумана, образующегося при резании.
Станки позволяют работать на повышенных режимах
резания: и=60-80 м/мин и подаче S0=3-6 мм/об с применением многозаходных фрез.
В зависимости от расположения оси обрабатываемой детали зубофрезерные станки разделяют на станки с вертикальной и горизонтальной компоновкой. В современных станках с вертикальной компоновкой стол с заготовкой неподвижен, по горизонтальным направляющим перемещается левая стойка с червячной фрезой. Станки с неподвижным столом удобны и надежны для автоматизации и встраивания в автоматические линии. Обеспечивается высокая жесткость системы: стол, магазин, заготовка и постоянный уровень расположения заготовки при загрузке и разгрузке.
Горизонтальные станки имеют две модификации. Для обработки зубчатых колес малого модуля станки имеют замкнутую рамную конструкцию с широким фрезерным суппортом, хорошую доступность зажимных элементов и инструмента. Станки удобны для автоматизации, положение заготовки при загрузке и разгрузке постоянное. Другая группа станков предназначена для нарезания зубьев и шлицев на длинных и тяжелых валах. Для удобства загрузки и разгрузки заготовки суппорт с режущим инструментом расположен сзади детали.
При выборе нового зубофрезерного станка для массового производства необходимо создать резерв мощности и жесткости, выбирая станок с наибольшим модулем на 2-4 мм выше, чем модуль обрабатываемого колеса.























