Экранирование
2. Экранирование.
Подавление наводок практически сводится к устранению или ослаблению паразитных связей между источником и приемником наводок путем экранирования и развязывания цепей.
Экранирование – локализация электромагнитной энергии в определенном пространстве за счет ограничения распространения ее всеми возможными способами.
Между 2-мя электрическими цепями, находящимися на некотором расстоянии друг от друга могут возникнуть следующие виды связей:
- через электрическое поле,
- через магнитное поле,
- через электромагнитное поле,
- через провода, соединяющие эти цепи.
Полное экранирование может быть получено только под подавлением всех 4-х видов электромагнитных связей. Однако, требования к эффективности экранирования в ряде случаев могут быть снижены. Тогда задачей экрана может быть ослабление того или иного вида связи.
Напряженность электрического и магнитного полей в свободном пространстве обратно пропорционально квадрату расстояния от элемента, возбуждающего поля. Напряженность электромагнитного поля обратно пропорционально первой степени расстояния. Напряжение на конце проводной или волновой линии с расстоянием падает медленно. Следовательно, при малых расстояниях действую все четыре вида связей. По мере увеличения расстояния сначала исчезает связь через электрическое и магнитное поля, затем перестает влиять электромагнитное поле и на очень большом расстоянии влияет только связь по проводам и волноводам.
В зависимости от назначения различают экраны с внутренним возбуждением электромагнитного поля, в которых обычно помещается источник помех, и экраны внешнего электромагнитного поля, во внутренней полости которых помещаются чувствительные к этим полям устройства. В первом случае экран предназначен для локализации поля в некотором объеме, во втором – для защиты от воздействия внешних полей.
Экран, защищая цепи, детали, колебательные контуры от воздействия внешних полей, оказывает существенной влияние на параметры экранируемых элементов. Из-за перераспределения электромагнитного поля внутри экрана происходят изменения их первичных параметров, в результате чего, например, изменяются магнитные связи, уменьшается первичная индуктивность катушек, увеличивается емкость контуров, возрастает активное сопротивление, что ведет к изменению частоты. Относительные изменения параметров, экранируемых элементов можно учесть с помощью коэффициентов.
, (24)
Рекомендуемые материалы
где (1) Aэij – значение i-го параметра j-го экранируемого элемента при наличии экрана, A0ij – без экрана.
Задаваясь допустимыми пределами изменений параметров и зная размеры экранируемых элементов, можно определить габаритные размеры экрана, материала, из которого он должен быть изготовлен, и условия размещения элементов внутри него.
2.1. Электростатическое экранирование.
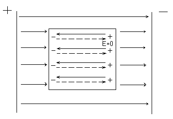
Если в электрическое поле внести проводник, то в результате поляризации электроны в нем начнут перемещаться в сторону положительно заряженной пластины и на части проводника, обращенной к этой пластине, возникает отрицательный потенциал, а противоположная часть поверхности проводника окажется заряженной положительно. Положительная и отрицательная части проводника создают свое собственное вторичное поле, которое равно внешнему и имеет направление противоположное ему, следовательно, внешнее поле, создаваемое проводником, компенсируют друг друга во всех токах внутри тела проводника. Этим и объясняется распределение зарядов только на поверхности проводника. Внутри проводника поле отсутствует. Так упрощенно выглядит один из примеров явления электростатической индукции. Этим явлением пользуется для осуществления электростатического экранирования (рис. 9).

Рис. 9. Наложение электрического поля проводника
В самом деле, поскольку всюду внутри металлического тела поле равно нулю, то достаточно поместить в его внутренней полости устройство, подверженное влиянию электростатического поля и тем самым исключить влияние поля на это устройство. В этом случае эффективность экранирования оказывается независимой ни от формы экрана, ни от толщины его стенок, ни от металла, из которого он изготовлен.
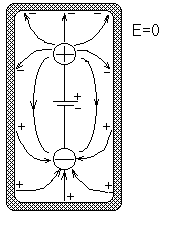
Поместим заряд +q в центре сферической металлической оболочки (рис. 10).

Рис. 10. Заряд в центре металлической оболочки.
На внутренней поверхности оболочки возникают заряды –q, а на внешней - +q, и экран оказывается не эффективным. Однако, если теперь подключить металлическую оболочку к земле (к корпусу) (рис. 11), то это приведет к тому, что заряды, находящиеся на внешней поверхности оболочки, стекут на корпус, т.к. он обладает очень большой емкостью, вне оболочки поле окажется равным нулю.

Рис. 11. Заземленная металлическая оболочка.
Таким образом электростатическое экранирование по существу сводится к замыканию электростатического поля на поверхность металлического экрана отводу электрических зарядов на землю (на корпус прибора). Заземление электростатического экрана, как видно, является необходимым элементом, вытекающим из сущности, электростатического экранирования. Без заземления электростатический экран почти полностью теряет свою эффективность. Обращает на себя внимание то, что при наличии зарядов как на внутренней, так и внешней поверхностях экрана поле внутри экрана определяется только внутренними зарядами и совершенно не зависит от внешних. Однако обратное утверждение было бы не правильным, ибо находящиеся внутри экрана заряды создают поле и вне экрана. Физически это влияние обусловлено появлением индуцированных зарядов, на внешней поверхности, влияние которых может быть нейтрализовано отводом их в землю. Следовательно, с помощью заземления электростатического экрана можно добиться взаимного экранирования как внутреннего пространства экрана от внешнего поля, так и внешнего пространства от внутреннего поля.
Если металлический экран полностью компенсирует влияние электростатического поля, то использование диэлектрических экранов может ослабить поле в εr раз, где εr – относительная диэлектрическая проницаемость материала, т.к. из поля свободных зарядов вычитается поле поляризационно-связных зарядов.
Поместим в поле 2-х параллельных металлических пластин диэлектрик. Под лиянием сил электростатического поля диэлектрик поляризуется: нейтральные в электрическом отношении молекулы диэлектрика превращаются в электрические диполи, а диполи, уже имеющиеся в диэлектрике, поворачиваются осями в направлении действия сил поля, образуя на боковых поверхностях электрические заряды. При этом на одной стороне диэлектрика образуется поверхностный отрицательный заряд, а на второй – положительный. Эти связанные электрические заряды диэлектрика создают в нем собственное поле, направленное на встречу внешнему, что приводит к уменьшению результирующего электростатического поля в диэлектрике. Чем больше диэлектрическая проницаемость, тем больше его величина связанных электрических зарядов и тем слабее в нем результирующее электростатическое поле. Следовательно, устройство, подверженное влиянию электростатического поля, целесообразно размещать в самом диэлектрике, например в спирте (Er=26), трансформаторном масле (Er=22), дисцилированной воде (Er=81), а при использовании твердых диэлектриков, этот диэлектрик должен плотно прилегать к устройству.
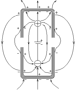
Теперь представим себе, что источник ЭДС является переменным, заряды на теле A (рис. 12) будут изменяться, а следовательно, будут изменяться и заряды, распределенные на внутренней поверхности экрана, которые в каждый момент времени будут стремиться иметь такую полярность, чтобы компенсировать поле тела A.

Рис. 12. Тело А с переменными зарядами внутри
внутри металлического экрана.
В результате этих изменений по экрану потечет переменный ток. Компенсация поля в данном случае с помощью заземления не может быть полной, т.к. в результате появления тока в стенках экрана на них падает напряжение. Поэтому эффективность экранирования электрического поля в данном случае оказывается зависимой как от толщины стенок, так и от проводимости материала экрана. С увеличением толщены, и проводимости материала экрана остаточное поле за пределами экрана уменьшится, т.к. уменьшится падение напряжения на его стенках и одновременно возрастет эффективность экранирования.
Экранирование электрических переменных полей по существу является задачей устранения паразитных емкостных связей.
На рис. 13 показано влияние положительного заряда элемента А на элемент Б вследствие наличия взаимной емкости связи САБ.

Рис. 13. Схема влияния тела А на тело Б.
Поставим между телами А и Б металлический экран В радиуса r (рис. 14). Экран В будет “перехватывать” часть электрических силовых линий, защищая тем самым тело Б от электрического поля тела А. В этом случае имеем своего рода емкостной делитель. Эффектность экранирования плоского экрана радиуса r можно оценить по формуле
, (25)
где а – расстояние между телами А и Б, а1 – расстояние от тела А до экрана В, а2 – расстояние от экрана В до тела Б.
Эффективность экранирования в данном случае определяется главным образом возможностями проникновения поля помех за экран в результате дифракции рассеяния. Эти явления будут наиболее ощутимы, если a2=a1. Для повышения эффективности экранирования необходимо выполнить одно из условий a2>a1 или a1>a2, выбор которого определяется назначением экрана и тем, что экранируется объект или источник помех.

Рис. 14. Экран В между телами А И Б.
Ослабление связи между телами А и Б зависит от естественного затухания волны электрического поля за счет разноса тел, т.е. U2/U1. Поэтому общее затухание поля характеризуется коэффициентом связи
, (26)
где D – диаметр тела А, h и b – расстояние тел А и Б от заземляющей поверхности.
Чем меньше ксв, тем меньше взаимное воздействие элементов и тем больше их развязка. Экранирующий эффект заземленного металлического листа заключается в шунтировании на корпус большей части паразитной емкости, имеющейся между источником и приемником наводок.
Обобщая все сказанное выше, можно сформулировать способы уменьшения емкостной связи между телами (элементами) А и Б.
1. Отделять на максимальное расстояние элементы А и Б.
2. Менять ориентацию элементов так, чтобы наводки компенсировались.
3. Использовать в конструкции миниатюрные радиоэлементы;
при недостаточности всех этих мер, между элементами устанавливают экран, служащий для экранирования электрического поля.
Используя электростатический экран, важно, чтобы от хорошо был заземлен, т.е. соединен с корпусом. При этом применение проводников, соединяющих экран с корпусом недопустимо.
Экран – не обязательно соединенная с корпусом перегородка между элементами. В некоторых случаях таким экраном может служить крышка корпуса, в котором располагаются эти элементы (рис. 15)

Рис. 15. Экранирование крышкой.
Если С3=
, т.е. крышка плотно прижата к корпусу, С1 и С2 не будут связывать элементы А и Б. Связь между ними будет осуществляться только через емкость Спар, величина которой на много меньше этой емкости без крышки. В табл. 2 приведены некоторые из способов соединения крышки с корпусом.
Таблица 2.
| Эскиз | Краткая характеристика | |
|
| Пружинный контакт. Сжатие контактов происходит из-за реакции уплотнительной резины 2 и деформации контактной пружины 3. Контактная полоса 4 прикреплена к дверному полотну 5. К проему экрана приварен угольник 1, к которому крепится пружина 3 и уплотненная резина 2. Для сохранения контакта на двери должно быть установлено прижимное устройство. | |
|
| Торцовое одноконтактное устройство с дополнительным контактом в точке а: 1 – каркас двери, 2 – контактная пружина, 3 – каркас коробки. Применяется для экранированных камер. | |
|
| Комбинированный двойной контакт. Контакты расположены как на торцевой части двери, так и на полотне, что позволяет обходиться без зажимного замка: 1 – экран, 2 – дверное полотно, 3 – контактная пружина, 4 – контактная планка, 5 – дверная коробка. | |
| Эскиз | Краткая характеристика | |
|
| Контакт “ножевого” типа. Пружина 3 из бронзы (ленточная, разрезная) крепится к крышке, контактным ножом является корпус 2. | |
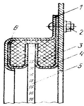
|
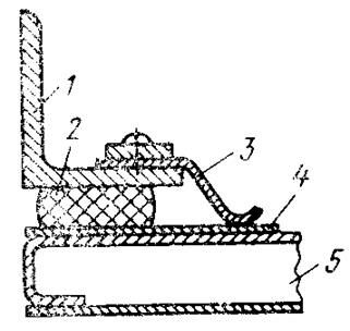
| Контакт, применяемый для часто открываемых крышек. Плотный контакт между экраном 1 и крышкой 4 создается с помощью стягивающего винта 3. Медная плетенка 5, в которой шнур 2 имеет плотный контакт с крышкой. | |
|
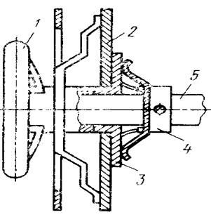
| Вывод металлической оси ручки (настройки) мощного каскада. Контактное устройство выполнено в виде контактных щетков – манжет, одеваемый на металлическую ось с внутренней стороны, которые соприкасаются своими контактными частями с поверхность экрана: 1 – штурвал (ручка), 2 – панель, 3 – втулка, 4 – манжета, 5 – вал. | |
|
| Вывод неметаллической оси ручки управления. Последняя проходит через металлический патрубок 2. 1 – экран, 3 – ось. | |
|
| Экранирование смотровых окон применением стекол 5 с токопроводящими поверхностями. Для улучшения контакта поверхности стела с экраном 3, используется уплотненная резина 4, обложенная контактной прокладкой из оловянной фольги 6. Места контакта прижимной скобы 1 с прокладкой 6 и экраном необходимо лудить. Конструкция стягивается винтом 2. | |
|
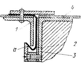
| Экранирование контрольных измерительных гнезд: а – с использованием предельных волновыводов, б - с применением заглушки. 1 – экран, 2 – контактное гнездо, 3 – заглушка, 4 – контактная прокладка, 5 – патрубок. | |
Если экран состоит из отдельных отсеков изолированных друг от друга, то при наличии общей крышки их герметичность обеспечивается использованием резинового жгута с латунной сеткой. В РЭС всегда имеются металлические части служащие не для экранирования, а для крепления, предохранения от повреждений, амортизации, и т.д. Не соединенные металлические детали расположенные в близи источников или приемников напряжений, могут образовывать паразитные связи. Поэтому и в данном случае необходимо обеспечивать надежный контакт с корпусом всех нетоконесущих деталей устройства. Съемные детали должны иметь по всему периметру соприкосновение металлической покрытие, не подверженное коррозии. Не съемные – должны быть приварены, припаяны. Особенно сложно осуществить из-за оксидных нетокопроводящих пленок контактное соединение из алюминиевых и магниевых сплавов. В этом случае применяются самонарезающие винты, лепестки из биметалла АПМ, врезающиеся шайбы и пластины, герметизацию мест присоединения компаундом и другие способы.
2.2. Экранирование поля диполя.
Поле диполя представлено на рис. 16. Заключив его в экран, получим полностью экранированное внешнее пространство, для которого напряженность электрического поля E равна нулю (рис. 17).

Рис. 16. Схематическое Рис. 17. Экранирование поля
изображение диполя. диполя.
Пояснение процесса экранирования дано с помощью рис. 18.

Рис. 18. экранирование поля диполя металлической оболочкой, состоящей из двух частей.
До соприкосновения обеих частей экрана на каждой из них существуют индивидуальные заряды того же знака, что и заряды соответствующих половин диполя. Вне экрана будет существовать электрическое поле по величине такое же, как при отсутствии экрана. При соприкосновении частей экрана в его внешней поверхности возникает затухающий колебательный процесс, в результате которого энергия поля перейдет в другие виды. Поэтому вне экрана E=0.
2.3. Магнитостатическое экранирование.
Вокруг витка с постоянным током существует постоянной магнитное поле с напряженностью Ho зависящее от точки измерения (рис. 19).Т.к. любой реальный виток имеет конечное сопротивление, то для поддержания в нем тока необходим источник задающего напряжения, а в пространстве вокруг витка, кроме постоянного магнитного поля, существует еще и постоянное электрическое поле. Однако, экранирование источников постоянного электрического поля уже изучено, поэтому свое внимание сосредоточим на экранировании только магнитного поля.
Окружим виток замкнутым экраном. Если экран изготовлен из немагнитного материала, т.е. из материала которого m =1 (медь, алюминий), то он не окажет на магнитное поле ни какого влияния, т.е. эффективность экранирования в установившимся режиме будет равна 1 (рис. 20)


Рис. 19. Поле витка с Рис. 20. Экранирование витка
постоянным током. с током m э> 1.
Если материал изготовлен из материала m >1, то он намагнитится и созданное им вторично поле, сложившись с первичным приведет к ослаблению поля вне экрана (рис. 20). То есть силовые линии поля витка, встречая экран, обладающий меньшим магнитным сопротивлением, чем свободное пространство, стремятся пройти по стенкам экрана и в меньшем числе проникают в пространство вне экрана. Такой экран одинаково пригоден для защиты от воздействия магнитного поля и для защиты внешнего пространства от влияния магнитного поля созданного источником внутри экрана (рис. 21).
Изменение направления магнитного потока на границе двух сред с различными магнитными проницаемостями m r1 и m r2 определяется выражением:
, (27)
где углы a 1 и a 2 показанные на рис. 22.
Если магнитная проницаемость одной среды бесконечно велика, т.е. m r2/m r1® ¥ , то угол a 1 стремится к 900, и поток выходит из среды с m r2® ¥ (с бесконечно большой магнитной проницаемостью) под прямым углом. Хотя сред с m =¥ нет, тем не менее практически считают, что магнитные силовые линии нормальны (перпендикулярны) к поверхности ферромагнитных тел

Рис. 21. Экранирование элемента А от внешнего поля Н.
Эффективность экранирования цилиндрического экрана можно определить, пользуясь рис. 21 при m r1=m r3» 1, а m r2> > 1.

Рис. 22.
(28)
Эффективность экранирования шарового магнитостатического экрана при том же отношении r2/r1 выше, чем цилиндрического
(29)
Эффективность прямоугольного экрана может быть вычислена по формуле (27), если он имеет форму прямоугольного параллелепипеда с квадратным основанием, сторона которого принимается равной диаметру цилиндра.
В целом эффективность магнитостатических экранов не велика. Она зависти от m экрана (чем больше, тем лучше) и толщины экрана d (чем больше, тем лучше). Так, например экран из материала “Армко” (специальный сплав с m =3000),при радиусе 40 см. и толщине 1 см. обеспечивает эффективность 37,5. Такой экран сложен в изготовлении и имеет большой вес.
Для повышения эффективности экранирования в ряде случаев применяют многоступенчатые магнитостатические экраны, составленные из нескольких слоев более тонкого материала. Требуемая эффективность экранирования может быть получена уже у 2-х или 3-х слойного экрана.
Простейший из многослойных экранов – 2-х слойный должен быт сконструирован так, чтобы обеспечить замыкание в наружной оболочке тех силовых линий поля, которые выйдут за толщу стенок первого внутреннего слоя. Для этой цели должны быть правильно выбраны как толщина стенок оболочек, так и расстояние между ними. На практике расстояние между оболочками делают больше толщены оболочек. В первом приближении расстояния между оболочками принимают равными расстоянию между 1-ой оболочкой и ближайшим краем экранируемого объекта, а толщину каждой оболочки берут не более 1-1,5 мм. В этих условиях эффективность многослойного экрана равна:
, (30)
где n – число оболочек, d – толщина оболочки, r2 – радиус 1-ой оболочки.
Таким образом при экранировании постоянных магнитных полей следует:
- применять материалы с возможно более высокой начальной магнитной проницаемостью;
- в конструкции экрана избегать стыков и швов с большим магнитным сопротивлением на пути магнитных силовых линий поля помех;
- не допускать крепления экранируемого элемента и оболочек стальными деталями, которые могут образовывать пути с малыми магнитными сопротивлениями для магнитных силовых линий помехи;
- эффективность экранирования повышать не увеличением толщины материала, а применением нескольких тонких экранов, расположенных на возможно большем расстоянии друг от друга.
2.4. Электромагнитное экранирование.
Экранирование с использованием вихревых токов обеспечивает одновременное ослабление как магнитных, так и электрических полей. Это дает основание этот способ экранирования называть электромагнитным. Эффективность экранирования такого экрана в ближней зоне (зоне индукции) будет не одинакова для составляющих поля. Поэтому, как правило, для ближней зоны следует вычислять каждый из компонентов поля в отдельности, принимая при этом, что в дальней зоне (зоне излучения) эффективности экранирования составляющих окажутся одинаковыми.
Физическая сущность электромагнитного экранирования, рассматриваемая с точки зрения теории электромагнитного поля и теории электрических цепей, сводится к тому, что под действием источника электромагнитной энергии на стороне экрана, обращенной к источнику, возникают заряды, а в его стенках – токи, поля которых во внешнем пространстве по интенсивности близки к полю источника, а по направлению противоположны ему и поэтому происходит взаимная компенсация полей. Такое рассмотрение является упрощенным и природа электромагнитного экранирования гораздо сложнее.
С точки зрения волновых представлений эффект экранирования проявляется из-за многократного отражения электромагнитных волн от поверхности экрана и затухания энергии волн в его металлической толще. Отражение электромагнитной энергии обусловлено несоответствием волновых характеристик диэлектрика, в котором расположен экран и материала экрана. Чем больше это несоответствие, чем больше отличаются волновые сопротивления экрана и диэлектрика, тем интенсивнее частичный эффект экранирования определяемый отражением электромагнитных волн.
Эффективность электрически замкнутого экрана т.е. способного ограничивать проникновение силовых линий электрического поля вне и внутри экранируемого пространства, определяется формулой:
(31)
где Эотр. – ослабление энергии падающей волн за счет отражения на границе сред, Эпогл. – ослабление вследствие затухания энергии в толще экрана, Эвн. отр. – ослабление из-за внутренних отражение в самом экране.
Обычно, если Эпогл.³ 10 дБ, то Эвн. отр.=I, поэтому этой составляющей пренебрежем, и тогда:
(32)
или в децибельном исчислении:
(33)
Расчет электромагнитных экранов с достаточной точностью пока возможен только в некоторых в идеализированных случаях. К ним относятся:
- бесконечно плоский экран на пути распространения плоской волны;
- размещение точечного источника в центре герметичного идеального проводящего экрана сферической формы;
- бесконечно длинный идеально проводящий цилиндр с излучателем в виде бесконечной нити, расположенной на оси этого цилиндра.
Все эти случаи не отражают реальных условий работы экрана, поскольку не учитывают соотношения между длиной волны и линейными размерами экрана, характера источника, неравномерности распределения поля внутри экрана, неоднородности материала и конструкции самого экрана и главным образом возможности проникновения поля через щели и отверстия, имеющиеся в реальном экране.
Однако, выше перечисленные случаи позволяют получить многие общие зависимости. Вот и мы пойдем по тому же пути. Рассмотрим падение плоской волны на бесконечный плоский экран. В этом случае величины потерь на отражение и поглощение определяются одинаково, т.к. в толще материала экрана как падающая, так и отраженная волны рассматриваются как плоские.
Найдем значение составляющей эффективности экранирования, определяющей влияние поглощения электромагнитной энергии. В металле электромагнитная волна затухает по экспоненциальному закону. Мерой скорости этого процесса является глубина проникновения волны или толщина поверхностного слоя d . При прохождении волны через толщину поверхностного слоя d она ослабевает в e раз. Если же толщина будет равной d, она будет ослабевать в e d/d раз. Тогда
(34)
Глубина проникновения представляет собой постоянную величину, характеризующую материал экрана и зависящую от частоты:
(35)
где
– удельное сопротивление материала экрана Ом× мм 2/м, l - длина волны в воздухе, м, ¦ - частота, МГц, m r – относительная магнитная проницаемость материала экрана, d - определяется в м.
Определение d усложняется тем, что m r зависит от частоты. Кроме того ослабление поля в e=2,72 раз на глубине d недостаточно. Поэтому для характеристики экранирующего материала пользуются еще двумя величинами глубины проникновения c 0,1 и c 0,01, характеризующие падение напряженности поля в 10 и 100 соответственно от их значения на поверхности.
В таблице 3 из приведены d и c 0,01 для нескольких материалов на разных частотах. Для частоты 0,1 МГц максимальная глубина проникновения не превышает » 2 мм.
Эффективность экранирования согласно (32) только за счет поглощения в соответствии с (34) и (35) будет:
(36)
где d – толщина материала экрана в м.
Из (36) видно, что затухание волны из-за поглощения с повышением частоты растет. Аналогичную зависимость можно наблюдать из табл. 3.
Учитывая и отражение (коэффициент ослабления будет равен
), получим:
(37)
где Zм и Zд – волновые сопротивления металла и среды, zм, zд – модули сопротивлений Zм и Zд соответственно.
Из табл. 3 видно, что на частотах, равных 107, для меди толщина проникновения поля не превышает 21 мкм, т.е. уже на этих частотах допустимы экраны из фольгированных материалов. С этой же целью применяется двухсторонний фольгированный материал для печатных плат, и в качестве экрана используется одна из сторон, которая для получения хорошего экранирующего эффекта припаивается к кожуху.
Экраны из стали, не смотря на большой экранирующий эффект, могут лишь применяться в тех случаях, когда вносимые потери (т.е. величина
большая) можно не учитывать. Кроме того, в таких экранах наблюдаются явления гистерезиса.
Таблица 3.
Некоторые характеристики листов.
| Металл | Удельное сопротивление Ом× мм2/м | m | Частота, Гц | Глубина проникновения d , мм. |
|
| Медь | 0,0175 | 1 | 105 106 107 108 | 0,21 0,067 0,021 0,0067 | 0,98 |
| Латунь | 0,06 | 1 | 105 106 107 108 | 0,39 0,124 0,039 0,0124 | 1,5 |
| Алюминий | 0,03 | 1 | 105 106 107 108 | 0,275 0,088 0,0275 0,0088 | 1,28 |
| Сталь | 0,1 | 50 | 105 106 107 108 | 0,023 0,007 0,0023 | |
| Сталь | 0,1 | 200 | 102 103 104 105 | 1,1 0,35 0,11 0,036 | 0,16 |
| Пермаллой | 0,65 | 12000 | 102 103 104 105 | 0,38 0,12 0,038 0,012 | 1 1,7 |
Из выражения (8) видно, что эффективность экранирования только за счет поглощения в соответствии с (10) и (11) будет:
, (42)
где d – толщина материала экрана в метрах.
Из (12) видно, что затухание волны из-за поглощения с повышением частоты растет, что видно из табл. 3
Учитывая и отражение (коэффициент ослабления будет равен
), получим:
(43)
где Zм и Zд – волновые сопротивления металла и среды;
zм, zд – модули сопротивлений Zм и Zд соответственно.
Предположим теперь, что по экранированному витку протекает не постоянный, а переменный ток. Переменное магнитное поле этого витка, пронизывая экран, индуктирует в нем переменную ЭДС, вследствие чего по экрану протекает переменный ток. Экран ведет себя как короткозамкнутый виток, помещенный в переменное магнитное поле. Магнитное поле вихревых токов, протекающих по экрану, во внешнем пространстве накладывается на поле экранируемого витка со сдвигом фаз, близким к 1800, и ослабляет его.
Чем меньше сопротивление стенок экрана и чем больше их толщина, тем меньше разница между напряженностью поля вихревых токов, протекающих по экрану, и напряженностью поля экранируемого витка, создаваемого вне экрана. При этом, чем ближе разность фаз между этими полями к 1800, тем больше их взаимная компенсация, меньше остаточное поле вне экрана, а значит, больше эффективность экранирования.
С повышением частоты возрастает явление неравномерного распределения вихревых токов в сечении материала экрана, т.е. наблюдается поверхностный эффект, который сопровождается сосредоточением этих токов экрана.
Из табл. 1 видно, что на частотах 107 для меди толщина проникновения поля не превышает 21 мкм, т.е. уже на этих частотах допустимы экраны из фольгированных материалов. С этой же целью применяется двухсторонний фольгированный материал для печатных плат, и в качестве экрана используется одна из сторон, которая для получения хорошего экранирующего эффекта припаивается к кожуху.
Экраны из стали, не смотря на большой экранирующий эффект, могут лишь применяться в тех случаях, когда вносимые потери (т.е. величина
большая) можно не учитывать. Кроме того, в таких экранах наблюдаются явления гистерезиса.
Изложенное выше позволяет сделать вывод: что с увеличением размеров магнитостатического экрана и возрастанием частоты вносимое им затухание падает т.к. действие этих факторов эквивалентна уменьшению магнитной проницаемости m . В самом деле с ростом частоты возрастает роль вихревых токов в экране, уменьшается глубина проникновения, а следовательно, уменьшается его магнитопроводность, которая является функцией габаритных размеров и магнитной проницаемости m материала экрана. В этих условиях магнитостатический экран будет себя вести как магнитный экран, т.к. из-за резкого уменьшения эквивалентной толщены стенок экрана исчезает явление шунтирования магнитного потока поля помех.
В практике магнитного экранирования используются и плоские не замкнутые экраны. В случае воздействия одной магнитной цепи на другу при близком их взаимном расположении значительное ослабление взаимной индуктивной связи можно получить, поместив между ними плоский металлический экран (Рис. 6)

Рис. 6. Cхема расположения экрана между катушками.
Ослабление связи между катушками рекомендуется характеризовать коэффициентом:
а). для медного экрана
Kосл=10∙lg((6,35∙Dср∙d∙f)2+1) дБ (44)
б). для алюминиевого экрана
Kосл=10∙lg((4∙Dср∙d∙f)2+1) дБ (45)
Dср – средний диаметр катушки, см.
d – толщина экрана, в см.
f – частота, кГц.
Эти выражения справедливы при условии, что ширина экрана (перпендикулярно плоскости рисунка) превышает Dср или А1+А2, смотря по тому, какая из этих величин больше.
2.6. Материалы для экранов
Металлические материалы :
Металлические материалы выбирают из условия:
o достижения заданной величены ослабления электромагнитного поля и его составляющих в рабочем диапазоне частот при соответствующих ограничениях размеров экранов и его влияния на экранируемый объект;
o устойчивости против коррозии и механической прочности;
o технологичности конструкции экрана и получения требуемых его конфигурации и высоко габаритных характеристик.
Первому требованию удовлетворяют практически все применяемые в настоящее время листовые материалы (сталь, медь, алюминий, латунь), так как при соответствующей их толщине обеспечивают достаточно высокую эффективность экранирования.
Но в различных диапазонах рабочих частот при одинаковой толщине экрана эффективность экранирования магнитных и немагнитных материалов будет различной. То есть, пока экран работает как магнитостатический, эффективность магнитных материалов значительно выше немагнитных. В электромагнитном режиме в полосе частот, где эффективность экранирования за счет отражения больше эффективности поглощения, немагнитные материалы, обладающие большой проводимостью по сравнению с магнитными, обеспечивают более высокую эффективность.
Однако в реальных экранах указанные свойства магнитных и немагнитных материалов проявляются слабо. Ввиду экономических и конструктивных соображений предпочтение отдается стальным конструкция экранов. И лишь преимущества стали, теряются при экранировании токонесущих элементов, критичных к вносимым в них потерям, (т.е. применение стальных экранов ограничено из-за больших потерь, вносимых ими).
Применение стали для экранов обусловлено еще тем, что при монтаже такого экрана можно широко использовать сварку.
Толщина стали, выбирается исходя из вида и назначения конструкции, условий ее монтажа и из возможности осуществления сплошных сварных швов. При сварке на переменном токе толщину берут примерно 1,5-2 мм, на постоянном токе – около 1 мм, при газовой сварке – 0,8 мм.
К недостаткам листовых металлических экранов можно отнести :
· высокую стоимость (бронза, серебро и т.д.)
· значительный вес и габариты.
· сложность пространственного решения конструкции.
· низкую эффективность самого металла, реализуемую лишь на 10-20% из-за несовершенства конструкции.
Сеточные материалы :
Сеточные материалы нашли широкое применение в экранировании из-за своих преимуществ перед листовыми.
Металлические сетки значительно легче листовых материалов, проще в изготовление, удобны в сборке и эксплуатации, обеспечивают достаточный обмен воздуха, светопроницаемы, они обладают достаточной эффективностью экранирования во всем диапазоне радиочастот. Однако, сетки имеют не высокую механическую прочность, быстро теряют эффективность экранирования из-за старения (эта потеря происходит за счет коррозии сеток, поэтому сетки специально покрывают антикоррозийным лаком).
Экранирующие свойства металлических сеток проявляются главным образом в результате отражения электромагнитные волны от их поверхности. Параметрами сетки, определяющими ее экранирующие свойства, являются шаг сетки S, равный расстоянию между соседними центрами проволоки, радиус проволоки r и удельная проводимость материала сетки.
Различают густые и редкие сетки. К первым относятся сетки, для которых: S/r£ 8. при S/r>8 – редкие сетки.
Фольговые материалы:
К ним относятся электрически тонкие материалы толщиной 0,01…0,05 мм. В сортамент фольговых материалов входят в основном диамагнитные материалы – алюминий, латунь, цинк. Стальные фольговые материалы промышленность не выпускает.
Монтаж фольговых экранов несложен, т.к. крепление фольги к основе экрана проводится приклепыванием. Выбор клея должен производится с учетом условий эксплуатации экрана, к которым относятся температура, влажность, вибрационные нагрузки и др. Выбор толщины материала должен производиться с учетом возможностей возникновения резонансных явлений. Существуют графики для различных материалов, где указывается для самой низшей резонансной частоте экрана зависимость толщины от частоты при различной эффективности экранирования.
Эффективность экранирования фольговыми материалами достаточно высока для электромагнитного поля и электрической составляющей. Магнитную составляющую такие материалы ослабляют сравнительно мало и тем меньше, чем больше длина волны.
Токопроводящие краски:
Использование токопроводящих красок для электромагнитного экранирования является весьма перспективным направлением, т.к. их применение исключает необходимость проведения сложных и трудоемких работ по монтажу экрана, соединению его листов и элементов между собой.
Токопроводящие краски создаются на основе диэлектрического пленкообразующего материала с добавлением в него проводящих составляющих, пластификатора и отвердителя. В качестве токопроводящих пигментов используют коллоидное серебро, графит, сажу, оксиды металлов, порошковую медь, алюминий. Токопроводящая краска обычно устойчива и сохраняет свои начальные свойства в условиях резких климатических изменений и механических нагрузок.
Эффективность экранирования токопроводящими красками определяется так же, как для электрически тонких материалов по формуле:
Rкр.=30+20∙lg 0,21/l /RЭ. (46)
Пока длина волны l больше эквивалентного радиуса Rэ экрана, эффективность значительно больше 30 дБ. При l /Rэ » 5 эффективность » 30 дБ. Далее по мере повышения частоты Экр должна уменьшаться, но при l =10 см наблюдается стабилизация и даже некоторое повышение эффективности. Очевидно, здесь уже сказывается поглощение электромагнитных колебаний в толще краски.
2.7. Металлизация поверхностей:
Металлизация различных материалов для электромагнитного экранирования получает все большее распространение благодаря большой производительности и универсальности методов нанесения покрытий. Из существующих методов нанесения покрытий наиболее удобным является метод распыления расплавленного металла струей сжатого воздуха. Нанести металлический слой можно на любую поверхность таких материалов, как плотная бумага, картон, ткань, дерево, текстолит, пластмасса, сухая штукатурка, цементированные поверхности и др.
Металлизационные слои могут быть различной толщины. Толщина слоя не зависит от вида металла – покрытия, а зависит от свойств подложки (основания). Количество наносимого слоя металла должно соответствовать физико-химическим свойства материала подложки, его прочным и деформационным характеристикам. Например, для плотной бумаги слой металла должен быть не более 0,28 кг/м2, для ткани – до 0,3 кг/м2. Для жесткой подложки количество наносимого металла существенно не ограничивается, т.к. более существенные ограничения обуславливаются высоко габаритными характеристиками экрана.
Наиболее распространенным покрытием является цинк. Это покрытие технологично, обеспечивает сравнительно высокую эффективность экранирования, достаточную для многих экранов механическую прочность. Алюминиевые покрытия имеют эффективность на 20 дБ выше, чем цинковые, но они менее технологичны.
Следует заметить, что при прочих равных условиях эффективность экранирования металлизированным слоем ниже, чем сплошным листом той же толщины. Это объясняется тем, что проводимость нанесенного слоя меньше, чем проводимость исходного материала (металла).
Металлизация поверхностей может успешно применяться для экранирования помещений и кабин, в условиях деления РЭС на отдельные экранированные отсеки при неметаллической общей несущей конструкции, для отдельных устройств, монтируемых в пластмассовых корпусах.
Металлические поверхности наносят и на стеклянные поверхности. Стекла с токопроводящими покрытиями в основном используются в смотровых окнах и искальных системах РЭС, в экранированных системах РЭС и камерах с целью обеспечения доступа в них света. Замкнутый экран из стекол с токопроводящим покрытием используют и тогда, когда требуется наблюдать за происходящим внутри экрана процессами.
В настоящее время имеется номенклатура стекол с токопроводящими покрытиями, имеющих поверхностное сопротивление не менее 6 Ом при ухудшении прозрачности не более чем на 20%. Эффективность экранирования у таких стекол составляет примерно 30 дБ.
Наибольшее распространение получили пленки из оксида олова, так как они обеспечивают наибольшую механическую прочность, химически устойчивы и плотно соединяются со стеклянной поверхностью (подложкой).
2.8. Материалы, применяемые для защиты от СВЧ – колебаний:
а). Специальные ткани (типа РТ и артикула 4381).
Ткань РТ изготавливается из капроновых нитей, скрученных с расплющенной и посеребренной медной проволокой диаметром 35…50 мм.
У ткани артикула 4381 нитка свита с эмалированным микропроводом ПЭЛ-0,06. Число металлических ниток может быть 30 x 30,20 x 20,10 x 10 и 6 x 6 в 1 см. поскольку провод изолирован, то поверхностное сопротивление этой ткани велико.
Рекомендуем посмотреть лекцию "20 Охрана и защита прав и интересов субъектов хозяйственныйх отношений".
Из таких тканей обычно изготавливают специальные костюмы для индивидуальной биологической защиты.
б). Радиопоглощающие материалы (РПМ):
Эти материалы не относят к экранирующим материалам, хотя некоторые из них выпускаются на металлической основе, которая при тщательном соединение ее отдельных частей и элементов может служить экраном. Однако монтаж таких экранов очень сложен, поэтому поглощающим материалом экран покрывают внутри с целью уменьшения отражения радиоволн.
в). Электропроводные клеи (ЭПК):
Целесообразно этот клей использовать вместо пайки, болтовых соединений там, где нужно электромагнитное экранирование. Шовное соединение, крепление контактных систем и различных элементов экранов, заполнение щелей и малых отверстий, установка экран на несущей конструкции – эти и другие операции успешно могут быть осуществлены с помощью ЭПК при высокой эффективности экранирования и сокращения объема работ.
Состав ЭПК – это эпоксидная смола, заполненная тонкодисперсными порошками (железо, кобальт, никель). Клей очень быстро утверждается (5 мин.), если процесс проводить с помощью токов высокой частоты.






























