Ионизационные манометры
Лекция №21
Ионизационные манометры.
Принцип действия ионизационных манометров основан на зависимости скорости ионизации газа от давления. В датчике любого ионизационного манометра есть две системы: для ионизации остаточного газа и для отбора ионов. В установившемся режиме работы манометра скорость ионизации равна скорости отбора ионов, о которой судят по ионному току. Из молекулярно-кинетической теории газов следует, что скорость образования ионов в манометре пропорциональна давлению и эффективности ионизации. Так число образованных ионов:
(1)
Ионный ток
(2)
где
- давление, Па;
- количество электронов;
- электронный ток, А;
Рекомендуемые материалы
- длина траектории электрона, м;
- эффективность ионизации, м-1Па-1
Таким образом, измеряя ионный ток, можно судить о значении давления.
Для существования прямой зависимости между давлением газа и ионным током интенсивность источника ионизирующего излучения должна быть постоянной. Поэтому стабилизированный ток электронной эмиссии в датчике ПМИ – 2 (ЛМ-2) равен 5 мА, длина свободного пробега ионов и ионизирующих электоронов – больше расстояния между электродами, чтобы избежать рекомбинации ионов или двух-, трёхкратной ионизации, нарушающей линейность уравнений (1),(2).
Различают типы манометров в зависимости от вида источника ионизации:
1) термоэлектронные, где для ионизации газа используются термоэлектроны (наиболее ходовой тип);
2) магнитно – разрядные, где для ионизации используется автоэлектронная эмиссия;
3) радиоизотопный, где ионизация происходит за счёт радиоактивного
- или
- излучения изотопов.
Как видно из формул (1), (2), важным фактором является увеличение эффективности ионизации газов
. Эффективность ионизации
характеризует число ионов, образующихся на метре пути частицы при давлении
Па. Минимальная энергия электрона, необходимая для ионизации большинства газов, составляет 12 …25 эВ, но максимальную эффективность получают примерно при 125 эВ. Дальнейшее увеличение энергии (и скорости) электрона уменьшает вероятность его эффективного столкновения с молекулой. Другой фактор, увеличивающий ионизацию - удлинение пути электронов.
Казалось бы, что для измерения давления можно использовать любой приемно – усилительный триод, измеряя сеточный ионный ток при постоянном электронном токе на аноде. Однако при этом мала эффективность ионизации из-за короткого пути электронов от катода к аноду и, кроме того, оксидные катоды не допускают соприкосновения с атмосферой даже в холодном состоянии. Поэтому разработана специальная конструкция манометрического преобразователя с внешним коллектором.
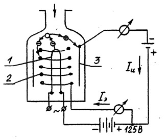
Типичный манометрический датчик такого типа – датчик ЛМ-2, служащий для измерения давлений в диапазоне 10-1…10-5 Па, схема которого приведена на рис. 45а

Рис.45а
1- катод;
2- сетка – анод;
3- коллектор ионов.
Катод прямого накала 1 в форме шпильки из вольфрама служит источником электронов. Сетка 2 в форме спирали имеет напряжение +200 В и является анодом. Цилиндрический коллектор ионов 3 с потенциалом –25 В имеет отдельный вывод на горловине для уменьшения утечки электронов по цоколю и стеклу. Стабилизированный ток эмиссии лампы ЛМ-2 составляет 5 мА. Эмитированные катодом электроны в большинстве пролетают мимо редкой сетки-анода, отталкиваются полем коллектора обратно и колеблются у сетки, прежде чем попасть на неё, ионизируя газ. Чтобы характеризовать чувствительность термоэлектронного манометра, используют соотношения
или
(3)
где
- чувствительность термоэлектронного манометра, Па-1;
- постоянная термоэлектронного манометра, А Па-1;
Ионизационные манометры обладают откачивающим действием за счёт хемосорбции О2 на горячем катоде из вольфрама и ионной откачки (осаждение ионов на коллекторе). Для ЛМ-2 быстрота ионной откачки около 10-5 м3с-1.
Верхний предел измерений датчик ЛМ-2, составляющий 10-1Па, ограничен распылением (перегоранием) катода. Для датчика ЛМ-3 с иридиевым катодом, покрытым окисью иттрия, этот предел составляет 1 Па.
Нижний предел измерения датчика ЛМ-2, составляющий 10-5 Па, ограничен наличием фонового тока коллектора. Электроны при торможении на сетке-аноде дают мягкое рентгеновское излучение, которое, попадая на коллектор, вызывает с него фотоэмиссию. Фототок, идущий с коллектора на анод, имеет тот же знак, что и ионный ток, однако от давления не зависит, поэтому вначале ХХ века существовало ошибочное мнение, что давление ниже 10-5 Па получить невозможно.
В 1950 г. Баярдом и Альпертом сконструирован термоэлектронный манометр с осевым коллектором, в котором за счёт уменьшения площади коллектора примерно в 1000 раз, удалось также в 1000 раз снизить значение фонового тока.
На Рис.45б показана схема датчика ИМ-12, выполненного по указанному принципу. Вольфрамовый катод 1 вынесен за пределы сетки 2, выполненной в виде спирали из молебдена. Коллектор ионов 3 расположен в центре и выполнен в виде слегка конической иглы из вольфрамовой проволоки толщиной 150 мкм. Постоянная датчиков ИМ-12 (стеклянного) и МИ-12 (металлического) ка=(1…4) 10-4 А
Па-1 при токе эмиссии 5 мА. Фоновый ток в датчиках ИМ-12 (МИ-12) составляет 3
10-12 А (вместо 5
10-9 А для ЛМ-2), диапазон измеряемых давлений от 10-3 до 10-8 Па.
Датчик ЛМ-2 измеряют давление с помощью комбинированных ионизационно-термопарных выкууметров ВИТ-1, ВИТ-2, которые содержат термопарную часть для работы в диапазоне давлений 101 … 10-1 Па и ионизационную часть для давлений 10-1…10-5 Па. Датчики ЛТ-2, ЛМ-3 хорошо сочетаются по рабочим параметрам, а единый блок охватывает диапазон 101…10-5 Па среднего и высокого вакуума.
Для измерения давлений в диапазоне 10-3…10-8 Па выпускают вакууметр ВИ-12, работающий с датчиками ИМ-12 и МИ-12 и датчиком МИ-12-8 открытой конструкции (встраиваемой на фланце в прогреваемые вакуумные системы).
Рис. 45в
1 – катод;
2 – сетка-анод;
3 – коллектор ионов
Лекция №22
Приборы для измерения парциальных давлений - масс-спектрометры
Все приборы для измерения парциальных давлений основаны на принципе ионизации газа или паров в вакуумной системе и последующем разделении полученных ионов в электрическом и магнитном поле в зависимости от отношения массы иона к его заряду (массового числа ) М/q, измеряемого в атомных единицах массы (а.е.м.).
При разделении ионного тока на составляющие используют различие в скоростях движения ионов разных газов в электрическом поле, которые рассчитываются:
V=
,
где V - скорость ионов, м*с-1
q - заряд иона, К (q= 1.59*10-19K для иона+)
M - масса иона, кг; М = М (а.е.м.)/Na = М (а.е.м.)/(6,023*1023)
U - пройденная ионом разность потенциалов, В
В большинстве случаев при ионизации медленными электронами образуются ионы, имеющие один элементарный заряд+, т.е. q = e.
Основные характеристики масс-спектрометров: М/(ΔМ) – разрешающая способность, где М – полусумма массовых чисел двух соседних пиков (которые хотят разделить, или “разрешить” на осциллограмме); ΔМ – минимальное значение разности массовых чисел, которые еще могут быть разделены (разрешены) данным прибором. Разрешающая способность численно равна наибольшему массовому числу, при котором на осциллограмме различимы соседние пики, отличающиеся на 1 атомную единицу массы; минимальное измеряемое давление (чувствительность прибора); максимальное рабочее давление ( определяется долговечностью катода ионизатора).
В статистическом масс-спектрометре для анализа газов используют различие в искривлении траектории ионов, движущихся во взаимно перпендикулярных электрическом и магнитном полях.
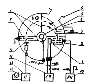
Схема статического масс-спектрометра с отклонением ионов на 180 ОС показана на рис.46. Такой масс-спектрометр используется в гелиевом течеискателе.
Камера статического масс-спектрометра состоит из корпуса 4, выполненного из нержавеющей стали IXI8H10T, внутри которого помещены: катод 1, ионизатор 2, диафрагмы 7 и коллектор ионов 9, высокоомное сопротивление и магнитный электрозарядный манометр 5. Камера помещается между полюсами магнитов в зазоре магнитной цепи, создающей магнитное поле 1,0*10+4…1,1*104 А*м-1. Магнитная цепь состоит из двух магнитов, отлитых из сплава Магнико-627, и арматуры из железа Армко.
В камере у коробки ионизатора 2 укреплен катод 1, накаливаемый переменным током и эмитирующий поток электронов. Для того чтобы направить поток электронов к коробке ионизатора 2, на него подается более положительный потенциал (+200 В) относительно катода. Коробка ионизатора имеет два прямоугольных отверстия в виде щелей. Через отверстие со стороны катода в коробку попадают электроны, эмитируемые катодом, а через другое отверстие выходят ионы, образовавшиеся при столкновении электронов с молекулами газа. Ионы ускоряются электрическим полем, образованным между ионизатором и входной диафрагмой. Разгоняющее напряжение составляет 300…400 В. Диафрагма приварена к корпусу камеры, а ускоряющее напряжение приложено так, что “минус” подан на корпус камеры, а “плюс” на коробку ионизатора. Ускоренные ионы, попадающие в камеру через щель входной диафрагмы, отклоняются магнитным полем за счет действия сил Лоренца и летят по круговым траекториям
,
где R – радиус, м ;
H – напряженность магнитного поля, А/м;
U – разгоняющее напряжение, В;
M/q – массовое число иона (отношение массы ионы М к заряду q), кг*К-1

Рис. 46 Схема масс-спектрометрической камеры
1 – катод;2 – ионизатор;3 – траектории ионов;4 – корпус;5 – манометр магнитно-разрядный;6 – присоединительный патрубок;7 – диафрагма;8 – супрессорная сетка;
9 – коллектор ионов;10 – источник разгоняющего напряжения;11 – стабилизатор эмиссии;12 – выносной прибор;13 - усилитель
Тяжелые ионы имеют больший радиус траектории, чем легкие. В масс- спектрометре течеискателя напряженность постоянного магнитного поля и разгоняющее напряжение подбираются так, чтобы только ионы гелия (или водорода) попадали на коллектор ионов. Радиус траектории рабочих (фиксируемых коллектором 9) ионов гелия (водорода) в данном масс-спектрометре равен 4 см. Перед коллектором ионов установлена супрессорная сетка, служащая для подавления фона от посторонних ионов (например, вследствие вторичной ионизации), которые могут попасть на коллектор. На эту сетку, называемую супрессорной, подается постоянное напряжение +30…40 В.
Принцип работы динамических масс-спектрометров основан на использовании различий в динамических (инерционных) характеристиках ионов с различными массовыми числами. К таким приборам относятся омегатрон (радиочастотный м-с), импульсный времяпролетный м-с, фарвитрон, электрический фильтр масс и др. Разрешающая способность таких приборов невысока (20…100 вместо 500…1000 у статического м-с), но они более портативны, просты, удобны в эксплуатации.

Рис.47. Схема динамического масс-спектрометра
1,6 – постоянный магнит;2 – катод;3 – пластины переменной полярности;
4 – коробка;5 – анод;7 – коллектор ионного тока;8 – регистрирующий прибор;
9 – усилитель;10 – электронный луч
Омегатрон или радиочастотный масс-спектрометр (рис.47) по принципу работы напоминает циклотрон. В коробке 4 датчика, присоединенного к вакуумной системе, создаются перпендикулярные постоянное магнитное поле напряженностью Н ( с помощью внешних магнитов) и переменное электрическое поле с разностью потенциалов U, создаваемое пластинами 3. Электрическое поле меняет полярность с частотой f (f = 0.1-1.5 МГц, т.е. представляет полосу “радиочастот” обычно используемых в радиовещании). Катод 2 с прикатодным электродом и анод 5 предназначены для создания узкого электронного пучка, проходящего через середину коробки 4. Этот электронный пучок служит для ионизации анализируемого газа, находящегося в датчике вакуумной системе. Образовавшиеся ионы взаимодействуют с электрическим и магнитным полями. При этом собственная частота ионов:

где Н – напряженность магнитного поля.
Если эта частота совпадает с частотой колебаний электрического поля, то ионы будут описывать траектории, близкие к спирали Архимеда, в плоскости, перпендикулярной вектору магнитного поля Н.
Как правило, магниты имеют Н = 2000…5000 Э. Ионный ток, характеризующий парциальное давление газа, соответствующее резонансному массовому числу М/q , регистрируется с помощью коллектора 7 и фиксируется прибором 8. Изменяя частоту переменного электрического поля, можно снять полную спектрограмму остаточных газов в пределах измерения прибора.
Вам также может быть полезна лекция "Дошкольники группы риска".
Промышленностью выпускается измерители парциальных давлений омегатронные ИПДО-1 и ИПДО –2 с датчиком РМО- 4С.
Импульсный времяпролетный масс-спектрометр (хронотрон) имеет схему работы, заключающуюся в одновременном запуске всех имеющихся в зоне ионизации ионов (различных масс) в “трубу дрейфа”. Ионы, образованные в ионной камере (образованной электродами ), выталкиваются из нее под действием импульса напряжения и попадают в ускоряющее электрическое поле. В дальнейшем ускоренный “пакет” ионов поступает в область дрейфа, представляющую собой эквипотенциальное пространство, при движении в котором происходит разделение ионов по массам. Время пролета t ионом расстоянии L зависит от его массы, так как при прохождении разности потенциалов U он набирает скорость

Тогда

т.е время пролета расстояния L зависит от массового числа иона. На выходе области дрейфа образуются “пакеты ” ионов одинаковых масс, которые через различные промежутки времени поступают на коллектор ионов и создают кратковременные импульсы напряжения. Значения напряжений импульсов пропорциональны парциальным давлениям анализируемых газов. Картину спектра получают на электронно-лучевой трубке, где вертикальное отклонение луча пропорционально парциальному давлению (длине пика), а запуск горизонтальной развертки осуществляется от генератора задержки, синхронизированного с задающим генератором.























