Механические манометры
Лекция №19
Механические (деформационные) манометры
Наиболее распространенный тип деформационных магометров представляет собой трубку Бурдона, соединенную с откачиваемым сосудом, рис. 41.

Рис.41
Конструкция аналогична барометру – анероиду и содержит следующие составные части:
1 - трубка Бурдона (тонкостенная спирально скрученная трубка, представляющая в сечении эллипс, герметично запаянная с одной стороны, и присоединенная к вакуумной системе с другой);
2 – стрелка;
3 – присоединительный фланец;
Рекомендуемые материалы
4 – тяга;
5 – шкала;
6 – шарнир тяги
При давлении около 0.1 тор (
10 Па) манометр практически не реагирует на изменение давления (”0” шкалы манометра), максимум соответствует 105 Па (атмосфере).
Для расчета упругой характеристики прибора выразим внешние приведенные силы, действующие на стенки трубки Бурдона с наружной и внутренней стороны архимедовой спирали и обозначенные как F1 и F2 , рис.36, через соответствующие площади:


где Pe- внешнее (атмосферное ) давление, Па
Pm - измеряемое давление, Па
S1 ,S2 - площади трубки Бурдона, видимые с наружной и внутренней стороны
архимедовой спирали, соответственно, м2
Уравнения равновесия для упругой трубки Бурдона, нагруженной разностью давлений (Pe - Pm) может быть представлено:
F1 = F2 + cx
где с – коэффициент, характеризующий жесткость (упругость системы)
х – перемещение конца трубки Бурдона (шарнира 6)
тогда (Pe – Pm )S1 = (Pe – Pm )S2 + cx
откуда выражение для измеряемого давления:

Из полученного выражения видно, что величина измеряемого манометром давления будет зависит от атмосферного давления, что является существенным недостатком, при измерении давления в диапазоне малых давлений (1 – 10 тор).
Этого недостатка лишен мембранный манометр (типа Баратрон), в котором упругий элемент (мембрана) со стороны избыточного давления нагружен не естественным атмосферным , а строго постоянным “опорным” давлением. Это позволяет расширить диапазон измеряемых давлений до 10-1 Па.
Компрессионные манометры
Принцип работы манометра заключается в том, что в колбой манометра забирается известный постоянный объем газа, который сжимается в известное число раз, а затем измеряется давление уменьшенной в объеме (сжатой) порции взятого газа. Используется известное соотношение закона Бойля – Мариотта
PmV1 = P2V2
где Pm - измеряемое давление в системе;
V1 - объем (колбы) забираемой порции газа;
P2 - измеряемое манометром давление;
V2 - объем порции газа после сжатия в манометре
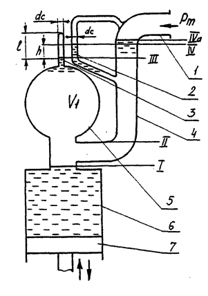
Для сжатия порции газа в стеклянном манометре используется ртуть не смачивающая стенки манометра. Манометр, рис. 42,состоит из следующих составных частей:
1 – трубка для присоединения к вакуумной (исследуемой) системе;
2 – “сравнительный” капилляр;
3 – ’’измерительный’’капилляр;
4 – соединительная трубка;
5 – колба (объем V1) для забора порции газа;
6 – резервуар с рабочей жидкостью (ртутью)
Исходное положение уровня ртути соответствует метке I, при этом колба 5 оказывается наполненной газом, давление которого (Pm) мы должны измерить. Затем мы плавно поднимаем уровень ртути. Объем V1 колбы 5 оказывается отрезанным от измерительной системы, когда уровень ртути достигает отметки II. Продолжая поднимать уровень устанавливаем его на отметке III (в “измерительном” капилляре), при этом степень сжатия газа n:
n = V1/V2
где
м3
где dC – диаметр капилляра, м

Рис.42
– расстояние от уровня III до вершины измерительного капилляра, м
В сравнительном капилляре уровень ртути (уровень IV) выше, т.к на него не действует давление сжатой порции газа, а действует лишь давление Pm , которым в грубых расчетах можно пренебречь. В этом случае можно выразить давление сжатой порции газа:
P2
тор (мм рт. ст ) = h*133 Па
где h - разность уровней ртути в измерительном и сравнительном
капилляллярах
Используя исходное уровнение Бойля – Мариотта
, Па
откуда выражаем измеряемое давление:
, Па
где с1 - постоянная компрессионного манометра при измерении методом
линейной шкалы
На практике чаще используют другой метод измерения – метод “квадратичной шкалы”. При этом методе поднимая уровень ртути следят не за измерительным, а за сравнительным капилляром, поднимая в нем уровень ртути точно до вершины измерительного капилляра. Тогда получается, что l = h [м].
Бесплатная лекция: "6.3. Природная среда и природные ресурсы" также доступна.
Выражение для расчета измеряемого давления:
, Па
где с2 - постоянная манометра при измерении методом квадратичной шкалы
Огромным преимуществом компрессионного манометра перед другими типами высоковакуумных манометров является возможность прямым методом измерять давление газов в диапазоне 100 – 10-3 Па, поэтому его используют в качестве эталона при градуировке других типов манометров (косвенного измерения).
Главным недостатком является невозможность правильного измерения давления конденсирующихся компонентов газовых смесей, т. к они могут конденсироваться при сжатии.
Недостатком является также длительность операции измерения и невозможность ее электронного мониторинга.





















