Жидкосно-кольцевые вакуумные насосы
Лекция №10
Жидкосно–кольцевые вакуумные насосы
Жидкосно-кольцевые вакуумные насосы являются видом механических вакуумных насосов. Отличительной особенностью этих насосов является статор, сформированный из жидкости. Рабочая жидкость вращается в корпусе насоса с помощью крыльчатого ротора (импеллера) и образует статор, герметично уплотняющий лопатки ротора. Образующаяся между статором и ротором серповидная полость (разделенная на части лопатками ) используется для перемещения откачиваемого газа.
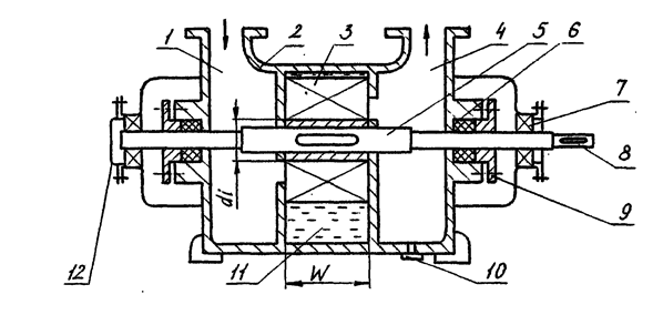
Схема одноступенчатого насоса показана на рис. 21 ,

Рис.21а
где:
1 - всасывающий патрубок,
2 - корпус,
Рекомендуемые материалы
3 - импеллер,
4 - выпускной патрубок,
5 - вал,
6- уплотнения (набор уплотнитель-
ных манжет),
7 - шарикоподшипники ,
8 - шпонка,
9 - нажимная втулка,
10 - сливная пробка,
11- рабочая (уплотняющая)
жидкость,
12 - заглушка подшипников,
13 - шпонка импеллера, Рис.21б
14 - область выхлопа,
15 - область всасывания,
Di - внешний диаметр импеллера,
di - внутренний диаметр импеллера – диаметр закрепления лопаток (ширина
ротора).
Как видно из схемы ось вращения импеллера эксцентрично закреплена относительно расточки корпуса насоса и вращающееся лопатки, погруженные концами в кольцо жидкости, образуют ряд последовательно движущихся (поворачивающихся) карманов, которые в области впускного патрубка увеличиваются в объеме, всасывая откачиваемый газ, а в области выпускного патрубка уменьшаются в объеме, сжимая газ до атмосферного давления и выбрасывая его в выпускной патрубок. Геометрическая быстрота откачки насоса:
S = VP*m*n [м3*с-1]
где Vp – максимальный объем кармана, образующегося в области всасывания, м3;
m –число лопаток импеллера (число карманов);
n – частота вращения импеллера, с-1
Ориентировочно можно написать:
[м3*с-1]
где h - глубина погружения лопаток в жидкость в области всасывания, м.
Бесплатная лекция: "4.22 Соединение бытового жанра с фантастикой, абсурдом и гротеском" также доступна.
В качестве рабочей жидкости насоса обычно используют воду (при температуре около 15 0С ) . Увеличение температуры жидкости ведет к увеличению давления и насыщающих паров и ухудшению вакуума (увеличению давления) и наоборот, снижение температуры улучшает вакуум, который может достигать 4*102 Па. Кроме воды могут использоваться этанол, фенол, метанол, эфиры.
На рис. 22 даны зависимости давления насыщающих паров от температуры для некоторых рабочих жидкостей.

Рис.22
Насос используется для откачки газов и паров в различных отраслях, начиная с откачки газов и паров из шахт и кончая созданием безмасляного низкого вакуума в электронной пищевой промышленности, сельском хозяйстве.
Преимущества насоса: безмасляный вакуум, большая (до 100 м3*с-1) скорость откачки недостижимая другими типами насосов. Недостаток: возможность получения только низкого вакуума (ограниченного давлением насыщающих паров воды (~ 2.5*103Па) или другой рабочей жидкости (метанол, этанол)





















