Топливное хозяйство тэс на жидком и газообразном топливе
Топливное хозяйство тэс на жидком и газообразном топливе
Лекция 22
Состав и характеристики мазутов
Основной вид жидкого топлива, сжигаемого на ТЭС, — сернистые мазуты. Мазут представляет собой смесь тяжелых остатков прямой перегонки и крегинга нефти и является сложной коллоидной системой, способной образовывать в области температуры застывания псевдокристаллическую структуру с пониженной текучестью. По сравнению с нефтью мазут характеризуется повышенной вязкостью и плотностью, содержит значительное количество асфальто-смолистых2 веществ и большее, чем исходные нефти, количество серы и ванадия. Соединения, образующие мазут, построены из пяти основных элементов: углерода, водорода, серы, кислорода и азота. Элементарный состав малосернистого мазута практически такой же, как и нефти, из которой он получен. Высокосернистый мазут содержит по сравнению с исходной нефтью пониженное количество водорода и углерода, и как следствие этого, у него пониженная теплота сгорания. Нефтяные мазуты подразделяются на марки в зависимости от значения их условной вязкости, представляющей собой отношение времени истечения 200 мл мазута при заданной температуре ко времени истечения такого же объема дистиллированной воды при 20 °С. Условная вязкость при температуре t, °С. обозначается °УВ:
(4.1)
где
— водное число вискозиметра. Значение этого отношения выражает число условных градусов.
Марка мазута характеризует максимальное значение его условной вязкости при температуре 50 °С.
При расчете мазутопроводов необходимо знать кинематическую вязкость мазута. Условная вязкость пересчитывается в кинематическую и, см2/с, по формуле
(4.2)
Рекомендуемые материалы
В соответствии с ГОСТ 10585—75 мазут, предназначенный для электростанций, относится к категории тяжелых топлив и имеет марки: топочный с государственным Знаком качества 100В и топочный 100. На электростанциях сжигается в основном мазут марки 100. В пределах марок топочные мазуты подразделяются на три сорта в зависимости от содержания в них серы: малосернистые (Sp < 0,5%), сернистые (SР = 0,5 -г 2,0%) и высокосернистые (SР > 2,0%) — табл. 4.1.
Вязкостью мазута определяются способы и длительность наливных и сливных операций, условия транспортировки, эффективность работы форсунок. Вязкость влияет на скорость осаждения механических примесей при транспортировке, подогреве и хранении мазута, а также на полноту отстаивания его от воды. В процессе хранения мазута вязкость его увеличивается. Для стабилизации мазута и облегчения очистки поверхностей нагрева котлов применяются различные жидкие присадки.
При понижении температуры ниже 75 °С вязкость мазута резко повышается. Температуру, при которой он загустевает настолько, что при наклоне пробирки с мазутом под углом 45° уровень его остается неподвижным в течение 1 минуты, принимают за температуру застывания мазута. Температура застывания — величина довольно условная, она может весьма сильно различаться для одного и того же мазута при различной длительности его хранения. Наряду с вязкостью температура застывания определяет прокачиваемость жидкого топлива. Она влияет на выбор способа слива мазута, системы обогрева мазутопроводов и т.д.
Таблица 4.1. Технические требования и нормы качества топочных мазутов
| 1.1СЖа.За 1сЛЪ | Нормы для марки | |
| 100 | 100 | |
| Вязкость при 80 С условная, не более УВ | 10,0 | 16,0 |
| Зольность, %, не более | 0,05 | 0,14 |
| Содержание механических примесей, %, не более | 0,20 | 1,5 |
| Содержание воды, %, не более | 0,3 | 1,5 |
| Содержание серы для мазута, %, не более: | ||
| малосернистого | 0,5 | 0,5 |
| сернистого | 2,0 | 2,0 |
| высокосернистого | - | 3,5 |
| Температура вспышки в открытом тигле, С, не ниже | 110 | 110 |
| Температура застывания мазута, С: | ||
| из невысокопарафинистой нефти | 25 | 25 |
| из высокопарафинистой нефти | 42 | 42 |
| Теплота сгорания мазута (низшая) в пересчете на сухое топливо, Дж/кг, не менее: | ||
| малосернистого и сернистого | 40 530*103 | |
| высокосернистого | 39 000*103 | |
| Плотность при 20 °С, г/см3, не более | 1,015 | 1,015 |
Плотность мазута указывают при температуре 20 °С, и обычно пользуются относительной плотностью мазута
— отношением физической плотности мазута при температуре 20 °С к плотности воды при температуре 4 °С. Для прямогонных мазутов
< 1, а для крекинг-мазутов
> 1. С повышением плотности мазутов увеличивается и их вязкость.
При плотности мазута значительно ниже плотности воды мазут отстаивается быстро — за 100-200 ч. При
= 0,98 - 1,01 время отстоя мазута значительно превышает 200 ч. При
=1,05 мазут располагается в резервуарах ниже воды и отстой его становится практически невозможным. Повышенная плотность и высокая вязкость крекинг-остатков затрудняют отстой их от воды, так что вода находится в крекинг-остатках в виде отдельных слоев (линз). При температуре, отличающейся от 20 °С, относительная плотность мазута может быть определена по формуле

(4.3)
где t — температура мазута, °С; β — коэффициент объемного расширения мазута на 1°С при температуре 20 °С, зависящий от плотности топлива:

(4.4)
Температура вспышки и температура воспламенения мазута характеризуют пожарную опасность при его хранении. Температурой вспышки называют наинизшую температуру, при которой нагретый в определенных условиях мазут выделяет такое количество паров, что их смесь с воздухом при атмосферном давлении вспыхивает при поднесении к ней пламени. При этом сам мазут еще не загорается. Температурой воспламенения называется температура мазута, при которой при поднесении к мазуту пламени вслед за вспышкой паров загорается сам мазут и горит в течение не менее 5 с. Температура вспышки мазута существенно ниже температуры воспламенения, составляющей в среднем 500—600 °С. Для прямогонных мазутов, не содержащих парафинов, температура вспышки составляет 135—235 °С. Для парафинистых мазутов она близка к 60 °С, а для высоковязких крекинг-остатков составляет 185—240 °С.
При использовании мазута с низкой температурой вспышки эксплуатация мазутного хозяйства требует особого внимания, потому что при подогреве мазута до температуры, близкой к температуре вспышки, возрастает пожарная опасность, ухудшаются условия труда вследствие выделения вредных паров. При высокой температуре вспышки мазута особых затруднений в эксплуатации мазутного хозяйства не возникает, но даже высоковязкий крекинг-мазут в открытых баках не. рекомендуется нагревать выше 95 °С.
Вода и механические примеси — балласт в мазуте. Из-за них снижается теплота сгорания мазута, усложняется эксплуатация мазутного хозяйства, ухудшается КПД котельной установки. Содержание воды в мазутах колеблется от 0,5—1 до 3—5%, а в обводненных мазутах может быть и больше. Механические примеси в мазуте составляют 0,1—2%. Присутствие воды в сернистом мазуте ведет к коррозии мазутопроводов, арматуры, низкотемпературных поверхностей нагрева котлов.
Для нормальной эксплуатации важно отсутствие волокнистых и абразивных механических примесей, вызывающих быстрый износ и засорение фильтров, форсунок, арматуры.
Зола в мазуте представлена главным образом солями, которые попадают в нефть с буровыми водами либо растворены в самой нефти. Основные компоненты золы мазута — ванадий, никель, в меньшем количестве — натрий, кальций, магний, алюминий, железо.
Топочный мазут не стабилен по своему составу. При его хранении в резервуарах появляются осадки, и количество их пропорционально содержанию в мазуте смол, асфальтенов, продуктов окисления кокса. Стабильность мазута связана также с его эмульгируемостью — способностью образовывать водомазутные эмульсии. Активными стабилизаторами эмульсий являются асфальтены, а в крекинг-мазутах — и смолы. Их избыток способствует интенсивному образованию весьма устойчивых эмульсий. Мазут, не содержащий водных эмульсий, более стабилен при хранении и менее склонен к выделению осадков.
При расчете поверхности нагрева мазутных подогревателей и определении расхода теплоты на разогрев необходимо знать теплофизическиё свойства мазутов — теплоемкость и теплопроводность. Теплоемкость мазута ер, кДж/ (кг • К), в зависимости от температуры может быть определена по приближенной формуле
(4.5)
где Т – абсолютная температура мазута, К
Более точно теплоемкость мазута определяется экспериментально.
Теплопроводность мазутов при стандартных условиях (атмосферном давлении и температуре 20 °С) в зависимости от их плотности находится в пределах 0,16- 0,12 Вт/(м • К). С увеличением температуры теплопроводность снижается по линейному закону. При этом теплопроводность высоковязких крекинг-остатков выше, чем маловязких и мазутов прямой перегонки.
Типы и технологические схемы мазутного хозяйства
Различают основное, резервное, аварийное и растопочное мазутные хозяйства ТЭС.
Основное мазутное хозяйство сооружается на ТЭС, для которых мазут является основным видом сжигаемого топлива, а газ сжигается как буферное топливо в периоды сезонных его избытков. Расчетный суточный расход мазута для электростанций определяется исходя из 20-часовой работы всех установленных энергетических котлов при их номинальной производительности для полной проектной мощности электростанции и 24-часовой работы водогрейных котлов при покрытии тепловых нагрузок при средней температуре самого холодного месяца.
Резервное мазутное хозяйство создается на ТЭС, для которых основным топливом является газ, а мазут сжигается в периоды отсутствия газа (зимой).
Аварийное мазутное хозяйство предусматривается на электростанциях, для которых основной и единственный вид топлива - газ, а мазут используется только при аварийном прекращении подачи газа.
Растопочное мазутное Хозяйство имеется на всех электростанциях с камерным сжиганием твердого топлива. Оно используется также для снабжения мазутом пусковой котельной. В случае установки на таких электростанциях газомазутных пиковых водогрейных котлов их мазутное хозяйство объединяется с растопочным.
Пусковая котельная снабжается мазутом соответственно от основного или растопочного мазутного хозяйства.
Мазут доставляют на электростанции железнодорожным, водным и
трубопроводным транспортом. Наиболее распространен первый способ. Трубопроводный транспорт используется, если ТЭС находится вблизи
нефтеперерабатывающего завода (НПЗ) или магистральных мазутопроводов.
От нефтеперерабатывающего завода мазут подается на станцию по одному трубопроводу; в отдельных случаях при соответствующем обосновании возможна подача мазута по двум трубопроводам, при этом пропускная способность каждого из них принимается равной 50% максимального часового расхода топлива всеми рабочими котлами при их номинальной производительности.
Мазут доставляется по железной дороге в четырехосных цистернах грузоподъемностью 50 и 60 т, в шестиосных грузоподъемностью 90 т (табл. 4.2). Так как цистерны не оборудованы устройствами для подогрева мазута в пути, его температура в период транспортировки может снижаться ниже температуры застывания.

Рис. 4.1. Сливное устройство:
1 - железнодорожная цистерна; 2, 3 — сливной прибор; 4 — межрельсовый сплошной желоб (лоток); 5 - трубчатые подогреватели; 6 - металлические крышка желоба; 7 - паровой шланг; 8 - паропровод; 9 - запорные клапаны; 10 - поворотная колонка для присоединения шланга при разогреве мазута "открытым паром"; 11 - эстакада; 12 – перекидной мостик
Таблица 4.2. Характеристика цистерн для перевозки мазута
| Грузоподъемность (по во-де),т | Тара, т | Длина (по осям сцепления автосцепок) , м | Котел | |
| Коэффициент тары | Объем, м3 | Диаметр, м | Длина, м | По- Коэффи верх- циент ность охлаж-охлаж- дения* дения, м 1/м |
| 90 36,0 15,12 0,40 101,0 3,0 14,69 142 1,41 60 22,8 12,02 0,38 61,2 2,8 10,30 93,0 1,55 50 22,3 12,02 0,44 50,0 2,6 9,60 87,0 1,70 "Под коэффициентом охлаждения понимается отношение поверхности охлаждение котла к его объему. |
Для разогрева и слива мазута из цистерн могут применяться как сливные эстакады с разогревом мазута "открытым" паром или горячим мазутом (рис. 4.1), так и закрытые сливные устройства — тепляки. Тип сливного устройства выбирается на основании технико-экономического расчета.
На рис. 4.2 показана технологическая схема мазутного хозяйства. Мазут сливается из цистерн в межрельсовые каналы (лотки). Из них он направляется в приемную емкость, перед которой должны устанавливаться грубая фильтр-сетка и гидрозатвор.
Длина фронта разгрузки основного мазутохозяйства должна приниматься исходя из слива расчетного суточного расхода мазута, времени разогрева и слива одной ставки не более 9 ч и весовой нормы железнодорожного маршрута, но не менее 1/3 длины маршрута. При этом принимается, что мазут доставляется цистернами расчетной грузоподъемностью 60 т/с коэффициентом неравномерности подачи 1,2.
Длина фронта разгрузки растопочного мазутохозяйства для электростанций с общей производительностью котлов до 8000 т/ч принимается 100 м, а при большей производительности котлов - 200 м. На приемно-сливном устройстве предусматривается Подвод пара или горячего мазута к цистернам, на обогрев сливных лотков и к гидрозатвору. По всей длине фронта разгрузки сооружаются эстакады на уровне паровых разогрева-тельных устройств цистерн. Сливные и отводящие лотки выполняются с 1%-ным уклоном, по обеим сторонам лотков выполняются бетонные отмостки с уклоном в сторону лотков.
Объем приемной емкости основного мазутохозяйства принимается не менее 20% вместимости цистерн, устанавливаемых под разгрузку. Насосы, откачивающие из приемной емкости мазут, устанавливаются с резервом. Они должны обеспечить перекачку мазута, слитого из установленных под разгрузку цистерн, не более чем за 5 ч.
Вместимость приемной емкости растопочного мазутохозяйства должна быть не менее 120 м3. Насосы, откачивающие мазут из нее, устанавливаются без резерва.
Нормативные вместимости мазутохранилищ (без учета госрезерва) электростанций в зависимости от типа мазутного хозяйства следующие:
Запас мазута
Тип мазутохозяйства . резервуарах (количество суток)
Основное для электростанций на мазуте:
при доставке по железной дороге............. ………………….15
при подаче по трубопроводам.................. …………………..3
Резервное для электростанций на газе......... …………………..10
Аварийное для электростанций на газе......... …………………..5
Для пиковых водогрейных котлов................. …………………..10
Для электростанций на газе, получающих газ круглогодично от двух независимых источников, мазутохозяйство может при соответствующем обосновании не сооружаться, при круглогодичной подаче газа от одного источника предусматривается аварийное мазутохозяйство, а при сезонной подаче газа — резервное.
Растопочное мазутное хозяйство для электростанций на твердом топливе выполняется с тремя резервуарами. Вместимость одного резервуара принимается в зависимости от общей производительности котлов: более 8000 т/ч - 3000 м3; 4000-8000 т/ч - 2000 м3; менее 4000 т/ч - 1000 м . Склад растопочного мазутного хозяйства допускается выполнять совмещенным со складом масла и горючесмазочных материалов.
В резервуарах мазутного хозяйства мазут разогревается циркуляционным способом, как правило, по отдельному специально выделенному контуру. Допускается применение местных паровых разогревающих устройств.
Схема подачи мазута (одно- или двухступенчатая) принимается в зависимости от требуемого давления перед форсунками котлов. Для форсунок парового распыла требуется давление мазута 0,5 МПа, а для форсунок механического и паромеханического типа 3,5 МПа. В первом случае схема мазутного хозяйства должна быть одноступенчатой, во втором — двухступенчатой.
Оборудование основного мазутного хозяйства призвано обеспечивать непрерывную подачу мазута в котельное отделение при работе всех рабочих котлов с номинальной производительностью. В насосной основного мазутохозяйства кроме расчетного количества рабочего оборудования предусматривается по одному элементу резервного оборудования — насосы, подогреватели, фильтры тонкой очистки и по одному элементу ремонтного оборудования — основные насосы I и II ступеней.
|
|
Рис. 4.2. Технологическая схема мазутного хозяйства:
1 - лотки приемно-сливного устройства; 2 - фильтр-сетки; 3 - приемные резервуары; 4 - перекачивающие насосы (погружные); 5 - подогреватели мазута на рециркуляцию в лотке; б - дренажные насосы; 7- приямок дренажей; 8 ~ основные резервуары; 9 - насосы I подъема; 10 - подогреватели мазута основные; 11 -фильтры тонкой очистки; 12 - навосы II подъема; 13 - насосы рециркуляции; 14 - подогреватели мазута на рециркуляцию; 75 - фильтры очистки резервуаров.
Количество мазутных насосов в каждой ступени основного мазутного хозяйства должно быть не менее четырех (в том числе по одному резервному и одному ремонтному). Подача основных мазутных насосов при выделенном контуре разогрева выбирается с учетом дополнительного расхода мазута на рециркуляцию в обратной магистрали при минимально допустимых скоростях. Подача насоса циркуляционного разогрева должна обеспечивать подготовку мазута в резервуарах для бесперебойного снабжения котельной. Для циркуляционного разогрева мазута предусматривается по одному резервному насосу и подогревателю. Схема установки подогревателей мазута и фильтров тонкой очистки должна позволять работать любому подогревателю и фильтру с любым насосом I и II ступеней.
В подогревателях мазута используется пар давлением 0,8—1,3 МПа с температурой 200—250 °С. Пар подается к мазутному хозяйству по двум магистралям каждая пропускной способностью 75% расчетного расхода пара. Конденсат пара контролируется, очищается от мазута и используется в цикле электростанции. Устанавливается не менее двух конденсатных насосов, один из них резервный. Конденсат от тепляков, мазутных подогревателей и спутников подается отдельно от конденсата паропроводов разогрева лотков и емкостей. В мазутохозяйствах должна предусматриваться выносная (за пределы мазутонасосной) дренажная емкость для мазута.
Замазученная вода из нижней части любого резервуара мазутного хозяйства отводится в рабочий резервуар, или в приемную емкость, или на очистные сооружения.
Прокладка всех мазутопроводов выполняется, как правило, наземной. Мазутопроводы на открытом воздухе и в холодных помещениях прокладываются с паровыми или другими обогревательными спутниками в общей с ними изоляции. Чтобы обеспечить циркуляцию мазута в магистральных мазутопроводах котельной и в отводах к каждому котлу, предусматривается трубопровод рециркуляции мазута из котельной в мазутохозяйство.
Мазут к энергетическим и водогрейным котлам из основного мазутохозяйства подается по двум магистралям, рассчитанным каждая на 75% номинальной производительности котлов с учетом рециркуляции.
На мазутопроводах устанавливается только стальная арматура. Фланцевые соединения и арматура на мазутопроводах котельных отделений закрываются стальными кожухами с отводом возможных утечек мазута в специальные емкости. На всасывающих и нагнетательных мазутопроводах устанавливается запорная арматура на расстоянии 10—50 мот мазутонасосной для отключений в аварийных случаях. На вводах магистральных мазутопроводов внутри котельного отделения, а также на отводах к каждому котлу устанавливается запорная арматура с дистанционным электрическим и механическим приводами, расположенными в удобных для обслуживания местах.
Для поддержания Необходимого давления в магистральных мазутопроводах устанавливаются регулирующие клапаны "до себя" в начале линии рециркуляции из котельной в мазутное хозяйство.
Оборудование мазутного хозяйства
Мазутные подогреватели. Мазут в резервуарах подогревается или путем циркуляционного подогрева с использованием выносных подогревателей, или погружными подогревателями.
Погружные подогреватели устанавливаются в нижней части резервуаров и выполняются секционными или парозмеевиковыми (рис. 4.3).

Рис. 4.3. Подогреватели погружного типа и их размещение в резервуарах:
а - змеевиковый подогреватель; б - секционный подогреватель; 1 - резервуар; 2 - подогреватель; 3, б - опоры; 4 - кожух местного подогревателя; 5 - местный змеевиковый подогреватель; 7 - паропровод; 8 - мазутопровод; 9 - конденсато-провод; 10 - хлопушка; 11 - муфта; 12 - коллектор
При циркуляционном подогреве мазут забирается из нижней части резервуара, прокачивается через внешний подогреватель и через насадки опять вводится в низ резервуара (к центру сечения или в сторону, противоположную забору мазута) в виде вытекающих под давлением струй. При таком циркуляционном подогреве полностью используется полезный объем резервуара, исключается обводнение мазута, обеспечивается эффек гииное перемешивание топлива в емкости, повышается однородность его структуры, предотвращается коагуляция и осаждение карбоидов, а также осаждение механических примесей.
В выносных подогревателях совершается вынужденное движение мазута, поэтому теплообмен в них более эффективен, чем в погружных поверхностных подогревателях при естественной конвекции.
При циркуляционном подогреве внешний подогреватель и насос могут обслуживать группу резервуаров.
Если мазутопроводы теплоизолированы, то схема циркуляционного подогрева мазута может быть пущена при вязкости топлива в резервуаре 200—300 °ВУ и даже еще более высокой, если всасывающие мазутопроводы прогреваются рециркулирующим топливом из котельной или применен электрообогрев мазутопрводов. Недостаток циркуляционного подогрева состоит в дополнительном расходе электроэнергии на перекачку мазута.
Длительность разогрева мазута в резервуаре способом циркуляции г, ч, определяется по формуле
(4.6)
Здесь М — масса мазута в резервуаре, кг; с — теплоемкость мазута, Дж/ (кг • К); kР — коэффициент теплопередачи от мазута в резервуаре в окружающую среду, Вт/(м2 • К); Δtн=tн-t0; Δtк=tк-t0; Δt=tн-tк — температуры мазута на входе и выходе из подогревателя, °С; Θ=mc/ kРFР - температура окружающей среды, °С; т — массовый расход циркулирующего мазута, кг/с; FР — поверхность охлаждения резервуара, м2.
Количество теплоты, сообщаемой мазуту в подогревателе (тепловая мощность подогревателя),
(4.7)
Расход пара на выносной подогреватель мазута при циркуляционном подогреве
(4.8)
где η — КПД подогревателя с учетом теплопотерь в мазутопроводах между резервуаром и подогревателем; hп, hк — энтальпии греющего пара и его конденсата.
На линии подачи к форсункам мазут подогревается с целью его лучшего распыливания. Для подогрева мазута применяются теплообменники различной конструкции: с оребренными поверхностями типа ПМР (табл. 4.3), трубчатые нормального ряда или с плавающей головкой, теплообменники с прямыми трубками, секционные теплообменники типа "труба в трубе". На рис. 4.4 показан трубчатый секционный подогреватель мазута.
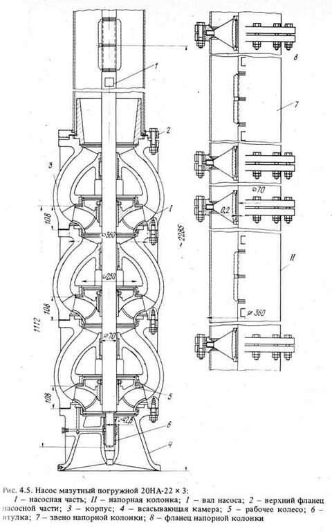
Мазутные насосы. Из приемных промежуточных резервуаров в основные резервуары мазут перекачивается центробежными погружными насосами (нефтяной артезианский) типа НА (рис. 4.5). Они устанавливаются непосредственно на перекрытии приемного резервуара, обычно два насоса на каждом резервуаре. Погружной насос состоит из трех основных узлов: собственно многоступенчатого насоса, напорной колонки и опорной стойки (на рис. 4.5 не показана). Мазут забирается насосом через всасывающий колокол. Число звеньев (от одного до восьми) напорной колонки выбирается в зависимости от глубины резервуара. Например, у мазутного погружного насоса 20НА-22 х 3 можно изменять расстояние от опорной рамы насоса до самой нижней его точки от 2395 до 9691 мм с интервалом в 1043 мм. Подача этого насоса 600 м3/ч, напор 0,65 МПа, мощность электродвигателя, устанавливаемого на опорной стойке, 100 кВт.
В котельную мазут подается центробежными насосами консольного типа, применяемыми в нефтяной промышленности для перекачки нефтепродуктов с температурой до 200 °С.

Таблица 4.3. Подогреватели мазута с оребренными поверхностями
| Тип подогревателя | Производительность, т/ч | Давление мазута, МПа | Температура на входе | мазута, С на выходе | Давление пара, МПа |
| ПМР-64-15 | 15 | 6,4 | 70 | 135 | 1,6 |
| ПМР-64-30 | 30 | 6,4 | 70 | 135 | 1,6 |
| ПМР-64-60 | 60 | 6,4 | 70 | 135 | 1,6 |
| ПМР-13-60 | 60 | 1,3 | 70 | 135 | 1,6 |
| ПМР-13-120 | 120 | 1,3 | 70 | 135 | 1,6 |
Насосы типа НК (Н — нефтяной, К — консольный) одноступенчатые с рабочими колесами одностороннего входа жидкости. Входной патрубок расположен вдоль оси насоса, выходной — вертикально, но может быть 1 повернут на 90, 180 и 270°. Выпускаются насосы с подачей 15—560 м3/ч и напором 80—300 м вод. ст. Привод насосов типа НК - взрывобезопасные электродвигатели с частотой вращения 3000 об/мин.
На рис. 4.6 показан центробежный восьмиступенчатый двухкорпусный I спирального типа насос 5Н5 х 8, используемый на электростанциях в мазутном хозяйстве, как правило, в качестве насоса второго подъема. Наружный корпус насоса представляет собой цилиндр с приемным и напорным патрубками, направленными вертикально вверх. Торцы наружного корпуса закрываются крышками, закрепляемыми шпильками. Внутренний литой корпус состоит из двух половин, соединенных в горизонтальной плоскости шпильками.
Рабочие колеса ротора защищены втулками. Колеса расположены попарно, всасывающими воронками в противоположные стороны для гидравлического уравновешивания ротора. Подача насоса составляет 80 м3/ч, напор 4,4 МПа, частота вращения ротора 2975 об/мин, диаметр рабочего колеса 245 мм, мощность привода 250 кВт. Насос и электродвигатель соединены муфтой и устанавливаются на общей фундаментной раме.
Для уменьшения износа и загрязнения форсунок и предотвращения образования в мазутопроводах отложений в схемах мазутного хозяйства
предусматривается двухступенчатая очистка мазута от механических примесей. Первая (грубая) ступень очистки выполняется в виде подъемных фильтров-сеток с ячейками 10-12 мм, устанавливаемых в отводных лотках сливных устройств. Фильтры второй (тонкой) ступени очистки устанавливаются в мазутонасосной после насосов II подъема (рис. 4.7). Сетки этих фильтров имеют 64 или 32 отверстия на 1 см2. Такие же фильтры используют для улавливания взвеси при очистке резервуаров с помощью системы специальных сопл.
На рис. 4.8 показана компоновка оборудования насосной для подачи мазута в котельную с котлами ТГМП-204 (блок мощностью 800 МВт).



Рис. 4.7. Фильтр для очистки мазута:
1 - корпус; 2 - фильтр-сетка; 3 - конструкция для снятия фильтра-сетки; 4 -воздушник; 5 - подвод пара для продувки

Рис. 4.8. Компоновка оборудования мазутонасосной:
/ - насосное отделение; // - помещение щита управления; III - распределительное устройство; IV - камеры трансформаторов; V - комнаты отдыха и приема пищи; VI - сушилка; VII - мужской гардероб; VIII - женский гардероб; IX - лаборатория; X — вентиляционные камеры; 1 - насосы I подъема; 2 - насосы II подъема; 3 - насосы рециркуляции; 4 - насосы подачи конденсата в главный корпус; 5 ~ насосы загрязненных мазутом дренажей; 6 - дренажные насосы; 7 - подогреватели мазута основные; 8 - подогреватели мазута на рециркуляцию; 9 - фильтры 1 тонкой очистки; 10 - фильтры очистки резервуаров
Топливное хозяйство газотурбинных электростанций
Газотурбинные установки предъявляют более высокие требования к качеству жидкого топлива, чем котлы. Это предопределяет особенности в приемке, хранении, подаче на сжигание и контроле газотурбинного топлива.
Обратите внимание на лекцию "Инородные тела в носовой полости".
Не следует допускать попадания воды в газотурбинное топливо при разогреве его в цистернах, на приемно-сливном устройстве, при хранении и подаче на сжигание. Попавшая в топливо вода заполняет поры фильтрующих элементов, и период работы тонких фильтров сокращается. Вода способствует разложению топлива при его хранении, и в ней возможно размножение микроорганизмов. Она усиливает коррозийные процессы при сжигании газотурбинного топлива.
Для разогрева газотурбинного топлива в цистернах применяют герметизированные разогревающие устройства, циркуляционный разогрев (подача разогретого топлива в цистерны) и т.п. Сжигать обводненное топливо в ГТУ не допускается.
Газотурбинное топливо, как и все нефтепродукты (за исключением мазутов), имеющие температуру вспышки 120 °С и ниже, по требованиям пожарной безопасности сливается закрытым способом. При этом также предотвращается загрязнение топлива атмосферной пылью и продуктами коррозии.
Минимальная температура газотурбинного топлива в резервуарах определяется из условий надежности работы топливо заборных устройств и откачивающих насосов, а максимальная из условий пожарной безопасности — не менее чем на 10 °С ниже температуры вспышки.
Топливо из резервуаров для подачи на сжигание в ГТУ отбирается плавающим заборным устройством из верхних слоев резервуара, с тем чтобы в нем было минимальное количество механических примесей и воды. При этом резервуары используются как отстойники, являясь первой эффективной ступенью очистки газотурбинного топлива. Слив и рециркуляция топлива организовываются так, чтобы придонные слои не перемешивались с верхними. Для более полного удаления придонных слоев дно резервуара выполняется с уклоном.
При отстаивании топлива концентрация механических примесей и количество воды в придонных слоях возрастают. Если обводнение превышает 0,5%, то этот слой должен быть сдренирован в специальные резервуары или емкости мазутосклада. Сдренированное топливо можно сжечь в котлах. По мере необходимости резервуары очищаются от донных отложений.





















