Ионно-плазменное и ионно-лучевое травление
Ионно-плазменное и ионно-лучевое травление
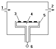
Как ионно-плазменное, так и ионно-лучевое травление основаны на использовании образующихся в процессе разряда высокоэнергетических (>=500 эВ) ионов инертного газа, например Аг+. Ионно-плазменное травление проще всего осуществить в высокочастотной диодной системе, схема которой представлена на рис. 1. Материал, подвергаемый травлению, закрепляется на запитываемом электроде и бомбардируется притягиваемыми из плазмы ионами.
|
| 1 - Рабочий газ |
Рис. 1. Высокочастотная диодная система для реактивного ионного травления.
(запитываемый электрод является катодом, а все остальные внутренние заземленные части реактора - анодом; при этом площадь катода намного меньше площади анода. Плазма не удерживается и занимает весь объем камеры. Заземленный экран предотвращает распыление защищаемых им участков поверхности запитываемого электрода).
Если отношение поверхности катода к заземленной поверхности достаточно мало, то наибольшее падение напряжения осуществляется на ионной оболочке катода. Направление вектора электрического поля в районе ионной оболочки перпендикулярно поверхности катода, поэтому при типичных рабочих давлениях (1,33-13,3 Па) ионы падают па поверхность под прямым углом, и, следовательно, степень анизотропии травления очень высока.
В методе ионно-лучевого травления источником ионов обычно является разряд постоянного тока, ограничиваемый магнитным полом, причем область разряда физически отделена от стравливаемой подложки системой сеток (электродов), на которые подаются потенциалы смещения, обеспечивающие экстрагирование ионного пучка (обычно Аг+) из разряда. Для обеспечения используемых па практике плотностей тока лучка (<= 1 мА/см2) требуется прикладывать напряжение (сообщать нонам энергию) свыше 500 В. Обычно пучок хорошо коллимирован, поэтому угол его падения на поверхность подложки можно регулировать наклоном подложкодержателя. Для нейтрализации ионного пучка на его пути размещается разогреваемая нить накала, инжектирующая в пучок электроны низких энергий.
Хотя и ионно-плазменное, и ионно-лучевое травление обеспечивают в потенциале высокое разрешение, они не получили широкого применения в технологии СБИС. Основной причиной этого является неудовлетворительная селективность.























