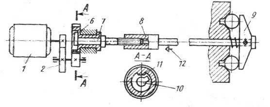
Электромеханический привод
2020-06-032021-03-09zzyxelСтудИзба
Электромеханический привод
Привод получил малое распространении по ряду причин:
1. Быстрый износ.
2. Малые развиваемые усилия.
3. Сложность устройства.
4. Необходимость ограничения зажимного усилия и длины рабочего хода.
5. Наличие разгонной муфты
К положительным чертам можно отнести:
Вам также может быть полезна лекция "4 Валовая и товарная продукция сельского хозяйства".
- самоторможение, то есть после закрепления детали можно отключить привод;
- простота подключения и управления;
- не загрязняет рабочее пространство;
- высокий КПД;
- легко передать энергию на вращающееся устройство.























